Главная страница
Случайная страница
КАТЕГОРИИ:
АвтомобилиАстрономияБиологияГеографияДом и садДругие языкиДругоеИнформатикаИсторияКультураЛитератураЛогикаМатематикаМедицинаМеталлургияМеханикаОбразованиеОхрана трудаПедагогикаПолитикаПравоПсихологияРелигияРиторикаСоциологияСпортСтроительствоТехнологияТуризмФизикаФилософияФинансыХимияЧерчениеЭкологияЭкономикаЭлектроника
|
Гладкоствольное орудие 2А28 «Гром» (БМП-1/1П, а также на БМД-1), являющееся, фактически, гранатомётом для установки в боевой машине.
Выстрел к противотанковым гранатометам представляет собой совокупность реактивной противотанковой гранаты и стартового порохового заряда к ней. Такие выстрелы называются выстрелами активно-реактивного типа. На рис.17 представлена схема устройства выстрела с калиберной гранатой к ручному противотанковому гранатомету РПГ-16. При заряжании такой выстрел своей задней частью вводится в дульную часть ствола и продвигается в ствол до западания бойка за выступ заряда.
После выстрела газы, образовавшиеся от сгорания стартового порохового заряда, выбрасывают силой давления гранату из ствола, как и в обычном оружии (активное действие); граната приобретает начальную скорость.
После удаления гранаты от ствола гранатомета на безопасное для стреляющего расстояние включается в работу реактивный двигатель, увеличивающий скорость движения гранаты на траектории.
Конструктивно выстрелы активно-реактивного типа ко всем образцам противотанковых гранатометов мало отличаются друг от друга. Они состоят из противотанковой гранаты и стартового порохового заряда.
Противотанковая граната ПГ-16 (рис.15) состоит из головной части, взрывателя, реактивного двигателя и стабилизатора. По своему устройству противотанковая граната аналогична реактивной противотанковой гранате РПГ-18. Отличия заключаются в следующем.
Реактивный двигатель служит для увеличения скорости гранаты на траектории. Он состоит из переходного дна, пирозамедлителя-воспламенителя, камеры, сопла с двумя трассерами и перевязанными капроновой нитью шестью перьями стабилизатора и порохового заряда.
На сопле расположены восемь тангенциальных отверстий, через которые при истечении пороховых газов стартового заряда в полость между камерой и стволом гранатомета обеспечивается вращение гранаты относительно ее продольной оси.
Перья раскрываются на начальном участке траектории под действием центробежных сил и набегающего потока воздуха и в раскрытом положении обеспечивают устойчивый полет гранаты.
Для предохранения перьев от повреждений при транспортировании на них надевается предохранительная гильза, которая снимается перед соединением гранаты со стартовым зарядом.
Трассеры предназначены для наблюдения за полетом гранаты и корректирования стрельбы.
Пирозамедлитель-воспламенитель предназначен для воспламенения порохового заряда реактивного двигателя на начальном участке траектории на удалении, безопасном для гранатометчика.
Устройство пирозамедлителя-воспламенителя показано на рис.13. Действие его заключается в том, что при выстреле в начале движения гранаты в стволе жало 7 оседает и происходит накол капсюля-воспламенителя 5, начинается горение замедлителя 2. На достаточном удалении от гранатомета замедлитель выгорает и происходит воспламенение воспламенителя 8. Огневой импульс через отверстия дна 1 воспламеняет пороховой заряд реактивного двигателя.
В начале горения заряда под действием давления пороховых газов выталкивается заглушка 17 (рис.15) и начинается истечение пороховых газов через сопло 6 реактивного двигателя. Возникающая при этом реактивная сила увеличивает скорость гранаты.
На активном участке траектории выгорает пороховой заряд реактивного двигателя, после чего полет гранаты происходит но инерции.
Стартовый пороховой заряд предназначен для сообщения гранате начальной скорости. Он содержит ленточный порох (рис.15) в гильзе, воспламенительное устройство, узел форсирования-контактирования и узел соединения заряда с гранатой.
При выстреле производится нажатие спускового крючка гранатомета, при этом подается электрический импульс от электростреляющего механизма на два электрозапала, в результате их срабатывания происходит воспламенение пороха. Под действием развивающегося давления гильза разрушается и граната начинает движение по стволу гранатомета. Одновременно воспламеняются два трассера.
Часть газов вытекает через отверстия сопла и сообщает гранате вращательное движение. При достижении определенного давления начинается истечение пороховых газов из сопла гранатомета.
Выстрелы к гранатомету СПГ-9 имеют устройство, аналогичное выстрелу к гранатомету РПГ-16.
Выстрелы к гранатомету РПГ-7 имеют некоторые особенности. В этих выстрелах граната надкалиберная, а стартовый пороховой заряд конструктивно объединен со стабилизатором и размещен в гильзе из патронной бумаги. Сзади стабилизатора установлен пыж из пенопласта, выполняющий роль узла форсирования. На стабилизаторе закреплена турбинка. При выстреле истекающие назад газы стартового заряда, воздействуя на турбинку, придают гранате вращение.
Гранатомет РПГ-7 имеет наиболее разнообразны гранатометные выстрелы (рис.16).
Боеприпасы к СПГ-9М и орудию 2А28 имеют одинаковые гранаты но разные конструкции хвостового порохового заряда. При необходимости, можно переменить хвостовики.
| Основные данные боевых патронов Таблица 1
| | Наименование
| Калибр,
мм
| Длина
патрона,
мм
| Масса, г
| Начальная
скорость
пули,
м/с
| | патрона
| пули
| порохового
заряда
| | Пистолетный
| 5, 45
|
|
|
|
|
| | Пистолетный
| 9, 00
|
| 10, 0
| 6, 1
| 0, 25
|
| | Автоматный
| 5, 45
| 56, 5
| 10, 2
| 3, 4
| 1, 39
| 900/960
| | Автоматный
| 7, 62
| 56, 0
| 16, 4
| 7, 9
| 1, 6
| 715/745
| | Винтовочный (пуля со стальным сердечником)
| 7, 62
| 77, 2
| 21.8
| 9, 6
| 3, 1
|
| | Крупнокалиберный (с пулей Б-32)
| 12, 7
|
|
| 48, 3
|
|
| | Крупнокалиберный (с пулей Б-32)
| 14, 5
|
|
| 64, 0
|
|
| | Примечание. В числителе – для автоматов, в знаменателе – для ручных пулеметов
| | Сокращенное обозначение, отличительная окраска пуль и укупорки Таблица 2
| | Наименование патронов
| Сокращенное
обозначение пуль
| Отличительные знаки на боковых стенках ящиков
и крышке коробок
| Цвет окраски вершины пули
| | 5, 45мм с пулей со стальным сердечником
| ПС
| Нет
| Нет
| | 9мм пистолетные с пулей со стальным сердечником
| ПСТ
| Нет
| Нет
| | 9мм пистолетные с пулей со свинцовым сердечником
| П
| Нет
| Нет
| | 7, 62мм пистолетные с пулей со стальным сердечником
| ПСТ
| Нет
| Нет
| | 7, 62мм обр.1943г. с пулей со стальным сердечником
| ПС
| Нет
| Нет
| | 7, 62мм винтовочные с легкой пулей
| Л
| Нет
| Нет
| | 7, 62мм револьверные с пулей со свинцовым сердечником
| Р
| Нет
| Нет
| | 7, 62мм винтовочные с пулей со стальным сердечником
| ЛПС
| Полоса серебристого цвета
| Серебристый (алюминиевая краска)
| | 7, 62мм винтовочные с тяжелой пулей
| Д
| Полоса желтого цвета
| Желтый
| |
|
|
|
| | 5, 45мм с трассирующей пулей
| Т-45
| Полоса зеленого цвета
| Зеленый
| | 9мм пистолетные с трассирующей
пулей
| ПТ
| Полоса зеленого цвета
| Зеленый
| | 7, 62мм обр.1943г. с трассирующей пулей
| Т-45
| Полоса зеленого цвета
| Зеленый
| | 7, 62мм винтовочные с трассирующей пулей
| Т-46
| Полоса зеленого цвета
| Зеленый
| | 7, 62мм обр.1943г. с зажигательной пулей
| З
| Полоса красного цвета
| Красный
| | 7, 62мм винтовочные с пристрелочно-зажигательной пулей
| ПЗ
| Полоса красного цвета
| Красный
| | 7, 62мм обр.1943г. с бронебойно-зажигательной пулей
| БЗ
| Полосы черного и красного цвета
| Черная вершина и красный поясок
| | 7, 62мм винтовочные с бронебойно-зажигательной пулей
| Б-32
| Полосы черного и красного цвета
| Черная вершина и красный поясок
| | 12, 7мм с бронебойно-зажигательной пулей
| Б-32
| Полосы черного и красного цвета
| Черная вершина и красный поясок
| | 14, 5мм с бронебойно-зажигательной пулей
| Б-32
| Полосы черного и красного цвета
| Черная вершина и красный поясок
| | 12, 7мм с бронебойно-зажигательно-трассирующей пулей
| БЗТ-44
| Полосы фиолетового и красного цвета
| Фиолетовая вершина и красный поясок
| | 14, 5мм с бронебойно-зажигательно-трассирующей пулей
| БЗТ
| Полосы фиолетового и красного цвета
| Фиолетовая вершина и красный поясок
| | 14, 5мм с бронебойно-зажигательной пулей (с металлокерамическим сердечником)
| БС-41
| Два кольца черного цвета
| Вершина пули черная, вся пуля красная
| | 14, 5мм с зажигательной пулей
| ЗП
| Полоса красного цвета
| Красный
| | 14, 5мм с зажигательной пулей мгновенного действия
| МДЗ
| Два кольца красного цвета
| Красный до обреза дульца
| | 14, 5мм с бронебойно-зажигательно-трассирующей пулей (с металлокерамическим сердечником)
| БСТ
| Два кольца фиолетового цвета
| Фиолетовая вершина, вся остальная часть красного
| | 7, 62мм, 12, 7мм и 14, 5мм пули для патронов высокого давления
| ВД
| Дополнительный трафарет «Высокое давление»
| Вся пуля желтая
| | 7, 62мм, 12, 7мм и 14, 5мм пули для патронов с усиленным зарядом
| УЗ
| Дополнительный трафарет «Усиленный заряд»
| Вся пуля черная
| | Учебные патроны
| УЧ
| Дополнительный трафарет «Учебные»
| Нет
| | Холостые патроны
| -
| Дополнительный трафарет «Холостые»
| -
| | Гильза латунная
| ГЛ
| Нет
| Нет
| | Гильза стальная
| ГС
| Нет
| Нет
| | Гильза биметаллическая
| ГЖ
| Нет
| Нет
| | | | | | | | | | | |
|
| | Рис. 1. Устройство боевого патрона:
1 — пуля; 2 — гильза; 3 — капсюль;
4 — пороховой заряд; 5 —фланец
| Рис.2. 7, 62-мм боевой винтовочный патрон:
а — с легкой пулей; б — с тяжелой пулей;
1 — пуля; 2 —дульце; 3 — скат; 4 — заряд; 5 — корпус гильзы; 6 — наковальня; 7 —дно гильзы с закраиной; 5 — капсюль
|
|
|
| | Рис.3. Пуля со стальным сердечником:
1 — оболочка;
2 — свинцовая рубашка;
3 — стальной сердечник
| Рис. 4. Формы и устройство гильз
а-цилиндрическая; б-бутылочная;
1 — дульце; 2 — скат; 3 — корпус; 4 — фланец; 5 — гнездо капсюля-воспламенителя;
6 — наковаленка; 7 - кольцевая проточка;
8 – затравочное отверстие; 9- закраина;
10 - номер завода; 11 - год изготовления;
12 — технологические знаки.
|
Рис.5. Устройство капсюля:
1 — латунный колпачок;
2 — ударный состав;
3 — фольговый кружок
|
|
|
| | Рис.6. Специальные пули:
a — трассирующая к винтовочному патрону;
б — бронебойно-зажигательная к патрону обр. 1943 г.;
1 — оболочка; 2— свинцовый сердечник;
3 — стаканчик; 4 —трассирующий состав;
5 —наконечник; 6 — стальной сердечник;
7 — свинцовая рубашка; 8 — зажигательный состав; 9 — поддон.
| Рис.7. Бронебойно-зажигательно-трассирующая пуля калибра 14, 5 мм:
1 — оболочка;
2—зажигательный состав;
3 — рубашка; 4 – сердечник;
5— стаканчик трассера;
6 —трассирующий состав;
7—переходной состав;
8 — воспламенительный состав
| Рис.8. Зажигательная пуля ЗП калибра 14, 5 мм:
1 — зажигательный состав;
2-оболочка; 3-капсюль-воспламенитель с капсюльной втулкой; 4 – набегающий колпачок; 5 —ударнике жалом;
6 —свинцовая прокладка;
7 —трассирующий состав.
|
|
| | Рис.9. Ручные осколочные гранаты: а —РГД-5; б — РГ-42; в — Ф-1;
1 — капсюль-детонатор; 2 — замедлитель; 3 — корпус; 4 — трубка для запала; 5 — разрывной заряд; 6 —капсюль-воспламенитель; 7 — ударник; 8 — боевая пружина; 9 —направляющая шайба; 10 — трубка ударного механизма; 11 — спусковой рычаг; 12 — запал; 13 — предохранительная чека; 14 — металлическая лента; 15 - соединительная втулка.
|
| | Рис.10. Ручные осколочные гранаты: а — РГН; б — РГО;
1 — стакан с манжетой; 2 — верхняя (у РГН наружная и внутренняя) полусфера; 3 — разрывной заряд;
4 — нижняя (у РГН наружная и внутренняя)
полусфера
|
| Боевые характеристики ручных гранат Таблица 3
| | Тип гранаты
| РГД-5
| РГ-42
| Ф-1
| РГН
| РГО
| РКГ-3
| | Масса гранаты, г
|
|
|
|
|
|
| | Масса разрывного заряда, г
|
|
|
|
|
|
| | Тип запала
| УЗРГМ
(дистанци
онный)
| УЗРГМ
(дистанци
онный)
| УЗРГМ
(дистанции
онный)
| УДЗ
(ударно-дистанци
онный)
| УДЗ
(ударно-дистанци
онный)
| Инерци
онный
| | Время горения замедлителя запала, с
| 3, 2-4, 2
| 3, 2-4, 2
| 3, 2-4, 2
| 3, 3-4, 3
| 3, 3-4, 3
| Мгновенное
| | Радиус разлета убойных осколков, м
|
|
|
|
|
| -
| | Радиус зоны эффективного поражения живой силы, м
|
|
|
|
|
| 170-220
(бронепро-биваемость)
| | Средняя дальность броска, м
| 30-45
| 25-35
| 20-40
| 30-45
| 20-40
| 18-20
|
|
| | Рис. 11. Граната РКГ-ЗЕ:
1 — корпус; 2 — кумулятивная воронка; 3 — основной заряд; 4 —дополнительный заряд; 5 — обойма;
6 — прокладка; 7 — крышка; 8 — горловина; 9 — гильза; 10 — втулка; 11— капсюль-детонатор; 12 — дополнительный детонатор.
| | Боевые характеристики гранатометных выстреловТаблица 4
| | Наименование выстрела
| ВОГ-25
| ВОГ-17
| ПГ-7В
| ПГ-7ВМ
| ПГ-7ВС
| ПГ-7ВЛ
| ПГ-7ВР
| ТБГ-7В
| ОГ-
7В
| ПГ-
7Л
| ПГ-
7С
| ПГ-9В
| ОГ-9В
| ПГ-15В
| ОГ-15М
| ПГ-16В
| ПГ-18
| ПГ-22
| ПГ-
| ПГ-
| ПГ-
29В
| | Наименование
гранатомета
| ГП-25
АК-74
| АГС-17
Пламя
| РПГ-
7В
| РПГ-
7В
| РПГ-
7В
| РПГ-
7В
| РПГ-
7В
| РПГ-
7В
| РПГ-
7В
| РПГ-
7В
| РПГ-
7В
| СПГ-9М
| СПГ-9М
| БМП-1
| БМП-1
| РПГ-16
| РПГ-18
| РПГ-22
| РПГ-
| РПГ-
| РПГ-
| | Условное название
|
|
|
|
|
|
| Резюме
| Танин
|
|
|
| Копье
| Копье
|
|
| Удар
| Муха
| Нетто
| Аглень
| Таволга
| Вампир
| | Пороховой заряд
| -
| -
| ПГ-
7П
| ПГ-7ПМ
| ПГ-7ПМ
| ПГ-7ПМ
| ПГ-7ПМ
| ПГ-7ПМ
| ПГ-7ПМ
| ПГ-7ПМ
| ПГ-7ПМ
| ПГ-9П
| ПГ-9П
|
|
| ПГ-16П
|
|
|
|
|
| | Взрыватель
| ВМГ-К
| ВМГ
| ВП-7
| ВП-7М
| ВП-7М
| ВП-
| н.с.
| н.с.
| ВП-
7М
| ВП-22
| н.с.
| ВП-9
| ГО-2
| ВП-9
| ГО-2
| ВП-16
| ВП-16
| ВП-22
| ВП-22
| ВП-22
| ВП-22
| | Тип ВВ
| Гексо
ген
| Гексо
ген
| Гексо
ген
| Гексо
ген
| Гексо
ген
| Окфол
| Гексо
ген
| Гексо
ген
| Гексо
ген
| Окфол
| Окфол
| Гексо
ген
| Гексо
ген
| Гексо
ген
| Гексо
ген
| Гексо
ген
| Гексо
ген
| Гексо
ген
| Окфол
| Окфол
| Окфол
| | Калибр боевой части, мм
|
|
|
|
|
|
| 64/105
|
|
|
|
|
|
|
|
| 58, 3
|
| 72, 5
|
|
| 105, 2
| | Масса гранаты, кг
| 0, 255
| 0.28
| 2, 2
| 2, 0
| 1, 6
| 2, 6
| н.с.
| 3, 1
| 1, 7
| 2, 0
| 1, 6
| 2, 6
| 3, 6
| 2, 6
| 3, 6
| 1, 65
|
|
|
|
| 4, 5
| | Масса выстрела, кг
|
|
| 2, 7
| 2, 3
| 2, 0
| 3, 0
| 4, 5
| 4, 5
| 2, 0
| 2, 3
| 2, 0
| 4, 4
| 5, 5
| 3, 5
| 4, 5
| 2, 05
| 2, 6
| 2, 7
|
|
| 6, 7
| | Дальность прямого выстрела, м
|
|
|
|
|
|
| н.с.
| н.с.
| н.с.
|
|
|
|
|
|
|
|
|
|
|
|
| | Прицельная дальность стрельбы, м
|
|
|
|
|
|
|
|
|
|
|
|
|
|
|
|
|
|
|
|
|
| | Начальная скорость гранаты, м/с
|
|
|
|
|
|
|
|
|
|
|
|
|
|
|
|
|
|
|
|
|
| | Бронепробива-емость, мм
| -
| -
|
|
|
|
|
|
| -
|
|
|
| -
|
| -
|
|
|
|
|
|
| | Год разработки
|
|
|
|
|
|
|
|
|
|
|
|
|
|
|
|
|
|
|
|
|
| н.с. –нет сведений
| ВОГ-17:
1 —осколочная граната; 2 — пороховой заряд; 3 —взрыватель
|
| ВОГ-17:
а — осколочная граната:
б — пороховой заряд;
в — взрыватель:
1 — корпус;
2 — ведущ ий поясок;
3 — пружина (осколочная рубашка); 4 — разрывной заряд;
5 — гильза;
6 — капсюль -воспламенитель;
7 — нитроглицериновый порох.
|
| ВОГ-25:
а — общий вид и маркировка; б -разрез:
1 — взрыватель;
2 — обтекатель;
3 — прокладки;
4 — картонная сетка;
5 — корпус гранаты;
6 — разрывной заряд;
7 — дно гранаты;
8 –пороховой метательный заряд.
| | Рис. 12. Выстрелы с осколочной гранатой ВОГ-17, ВОГ-25
|
| | Рис. 13. Пирозамедлитель-воспламенитель:
1 — дно; 2 —замедлитель; 3 — корпус; 4 — втулка; 5— капсюль-воспламенителы 6 — предохранительная пружина; 7 — жало; 8 — воспламенитель; 9 — фольга; 10 — кружок
|
| | Рис. 14. Реактивная противотанковая граната РПГ-18 в боевом положении:
1 –мушка; 2-кожух; 3-головная часть взрывателя; 4 –наружная труба; 5 — обтекатель; 6 –диоптр; 7 — граната; 8 — корпус; 9 — изолятор; 10 –спица; 11 – донная часть взрывателя;
12 – переходное дно; 13 –внутренняя труба; 14 – пороховой заряд реактивного двигателя; 15 –направляющая линейка; 16 – камера; 17 –корпус ударного механизма; 18 –перо стабилизатора; 19 –запал; 20 –трубка (газоотвод); 21 –сопло; 22 –пробка; 23 –диск; 24 –воспламенитель; 25 –задняя крышка; 26 –разрывной заряд; 27 –проводник; 28 –воронка;
29 –токопроводящий конус; 30 –плечевой ремень; 31 –пусковое устройство; 32 –передняя крышка.
|
| | Рис.15. Выстрел к РПГ-16:
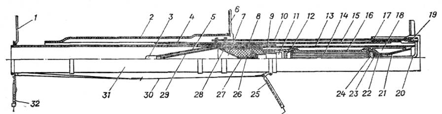
1 — чека с тесьмой; 2 — головная часть гранаты; 3 — пирозамедлитель-воспламенитель; 4 — камера; 5 — пороховой заряд; 6 — сопло; 7— трассер; 8— узел соединения; 9— стартовый пороховой заряд (ленточный порох); 10 — гильза; 11 — диск; 12 — шинка; 13 — контакт; 14—основной воспламенитель; 15 — электрозапал; 16 — пружина; 17 — заглушка; 18 — перо стабилизатора; 19 — предохранительный колпачок
|
| | 1 - головная часть со взрывателем, 2 - реактивный двигатель, 3 - стартовый пороховой заряд со стабилизатором.
|
| | 1- обтекатель, 2 - корпус, 3 - токопроводящий конус, 4 -воронка с проводником, 5 - кумулятивный заряд, 6 - изоляционное кольцо, 7 - головная часть, 8 - донная часть, 9 - сопловый блок, 10 - труба, 11 - пороховой заряд, 12 - пирозамедлитель-воспламенитель, 13 - капсюль-воспламенитель, 14 - крестовина, 15 - перья, 16 - турбинка с трассером.
|
|
|
|
| | Противотанковый выстрел ПГ-7В
| Противотанковый выстрел ПГ-7ВР
|
|
|
|
| | Противотанковый выстрел ПГ-7ВМ
|
|
|
| | Противотанковый выстрел ПГ-7ВС
| Выстрел с термобарической головной частью ТБГ-7В
|
|
|
|
| | Противотанковый выстрел ПГ-7ВЛ
| Осколочный выстрел ОГ-7В
|
|
|
|
| | Противотанковый выстрел ПГ-7Л
| Выстрел ПГ-7С
| | Рис.16. Устройство и комплектация Выстрелами ручного противотанкового гранатомета РПГ-7
|
|