Студопедия

Главная страница Случайная страница

КАТЕГОРИИ:

АвтомобилиАстрономияБиологияГеографияДом и садДругие языкиДругоеИнформатикаИсторияКультураЛитератураЛогикаМатематикаМедицинаМеталлургияМеханикаОбразованиеОхрана трудаПедагогикаПолитикаПравоПсихологияРелигияРиторикаСоциологияСпортСтроительствоТехнологияТуризмФизикаФилософияФинансыХимияЧерчениеЭкологияЭкономикаЭлектроника






Ribnikov Y. S.

УДК 621537

ОСНОВЫ ТЕОРИИ ЭЛЕКТРИЧЕСТВА, ЭЛЕКТРОВЕЩЕСТВА (ЭЛЕКТРОМАГНИТНОГО ПОЛЯ). –

Рыбников Ю.С.

Московский_государственный технический университет Радиотехники Электроники и Автоматики (МГТУ МИРЭА), Москва, Россия.

 

BASE TEORY ELECTRICAL, ELECTROSUBSTANSE.

Ribnikov Y. S.

The Moscow state technical university of radio engineering, electronics and automatics, Moscow, Russia.

 

Электричество известно издавна, вот уже более 100 лет люди используют его в научно-техническом процессе, в производстве товаров народного потребления и военной технике, однако теоретической основы и терминологии, имеющей логическую связь, обеспечивающей связь теории и практических разработок пока нет. Сегодня, мы условно делим природные и искусственные материалы на проводники, полупроводники и диэлектрики по известному электрофизическому параметру – электропроводность, не задумываясь, а что это значит для вещества (материала), а это означает, что все материалы – ЭЛЕКТРОВЕЩЕСТВА.

Экспериментальные и теоретические исследования электроматериалов по трибоэлектрической (трибоэлектретной) методике показали, что просто вещества в природе нет, а есть электровещество, основой которого является единичный электроатом с различными названиями (электрополе, электрозаряд, электрохимический элемент, электрочастица, электроволна и т.д.). Как показывают эксперименты, включая БАК, что в природе существует только одна элементарная разноразмерная частица электроатом «Всерод» [1, 2], а существующая общепринятая модель Резерфорда – Бора, не выдерживает ни какой критики. В 1912г. Э.Резерфорд впервые употребил термин «ядро» и, именно, поэтому нас приучили называть её планетарной моделью Резерфорда-Бора. Однако, впервые в1901г. французский учёный Жан Перрен, а не Резерфорд, в статье «Молекулярные гипотезы» высказал свою гипотезу «положительно заряженное ядро окружено отрицательными электронами, которые двигаются по определённым орбитам» [4]. Однако физико-математическому расчёту эти модели атомов и ПС не поддались и модели были сданы в архив, кроме модели якобы Резерфорда и имя Резерфорда, как бы разработчика осталось. Но самое интересное, что условности «+» и «-» ввёл Б. Франклин в1798-1800 гг. при исследовании процессов трения, направив в тупик физику, химию материаловедение и электричество, а в 1897г. Дж. Томсон никогда не открывал отрицательный заряд – электрон, поскольку в природе ничего отрицательного нет, а при исследовании рентгеновских лучей просто предложил «некую частицу» считать электроном с отрицательным знаком [4]. В программе «Академия» по телевидению на лекциях нобелевский лауреат Жорес Алфёров напомнил студентам, что Рентген отверг понятие и наличие электрона в природе, и запрещал произносить этот термин в своей лаборатории.Резерфордо-Боровская планетарная модель атомов (химических элементов), являющаяся основой теории современного электричества, физики и химии настолько отдалена от природы, настолько абстрактна, насыщена противоречиями, постулатами, условностями, запретами, аксиомами, что невозможно создать реальную «Единую теорию поля», при том, что электромагнитное поле реально существует. Невозможно разработать физико-математический аппарат для реальной Периодической системы (ПС), дать определение «Электричеству», «Заряду» «Энергии» и т.д.

МАКСВЕЛЛ и Фарадей

Введём необходимые определения: ЭЛЕМЕНТАРНОСТЬ ЧАСТИЦЫ: элементарная разноразмерная электрочастица единственная в Природе означает, что она состоит из самой себя и не имеет внутренней структуры, имеет при любых взаимодействиях равномерно распределённую минимальную одну и туже объёмную электрическую плотность для любых по размеру объёмов и радиусов шара (сферы) дальнодействия в зависимости от конкретных условий при взаимодействиях.

ЭЛЕКТРОВЕЩЕСТВО – самоорганизованное совокупное и/или дискретное состояние (взаимодействие) электрических объёмных плотностей, в виде единичных и совокупных электроатомов (электрозарядов, электрополей, стоячих электроволн, электрочасти, электрохимических элементов) в форме шаров (сфер), твёрдых и жидких тел любой формы во всех агрегатных состояниях, обладающее способностью к переходам из совокупных электроатомов из скомпенсированного электронейтрального состояния в не скомпенсированное заряженное состояние и наоборот, из единичных дискретных в совокупные и наоборот при определённых условиях.[5]

ЭЛЕКТРИЧЕСТВО – это взаимодействие электрических (электрополевых, электрозарядовых, электроатомных, электровещественных) плотностей, в форме шаров (сфер), жидких и твёрдых тел любой формы, как единичных так и совокупных электроатомов (электрозарядов, электрополей, стоячих электроволн, электро химических элементов), с самоорганизацией в зависимости от условий эксперимента, собственного конкретного электромагнитного поля, (электровещества), обладающего конкретной электрической плотностью и свойствами проявляющимися в виде: постоянного (атомарного) электрического тока, электроискровых разрядов, электродуговых разрядов, электроплазм, электрошумов, электросвета, электромагнитов, электротепла, электрогазов, электрожидкостей, твёрдых электротел, электро радиоизлучений всех диапазонов с разуплотнением и переходом из скомпенсированного электронейтрального состояния электровещества, в разуплотнённое электронейтральное и/или разкомпенсированное заряженное состояние и наоборот. [1]

ЭЛЕКТРИЧЕСТВО – это взаимодействие электрических объёмных плотностей (электроатомов, электрозарядов, электрополей, стоячих электроволн, электрочастиц, электрохимических элементов) в форме шаров (сфер) и в виде газообразных, жидких и твёрдых тел любой формы и других фазовых состояниях электровещества в собственном самоорганизованном электромагнитном поле.


ЗАРЯД ЕДИНИЧНЫЙ – электронейтральный электроатом ВСЕРОД (электрополе, электровещество, электроволна, электрохимический элемент и т.д.), имеющий равномерно распределённую электрическую плотность, минимальную в конкретных условиях в форме шара (сферы).[1]

ЗАРЯД НЕСКОМПЕНСИРОВАННЫЙ – это избыток и/или недостаток электроатомов Всерода в объёме и/или на поверхности заряженного тела, характеризуемый объёмной и/или поверхностной разностью плотностей зарядов (потенциалов).[1]

ЗАРЯД СКОМПЕНСИРОВАННЫЙ – это отсутствие избытка и/или недостатка электроатомов Всерода в объёме и/или на поверхности электронейтрального тела, т. е. отсутствие разности электрической плотности зарядов (потенциалов).[1]

ЗАРЯД СТАТИЧЕСКИЙ – это недостаток электроатомов Всерод в объёме электровещества (электродонора) и/или избыток электроатома Всерод в объеме электровещества (электроакцептора), характеризуемый объёмной и/или поверхностной разностью электрической объёмной плотности зарядов (потенциалов).[1]

ЗАРЯД ДИНАМИЧЕСКИЙ – это избыток электроатомов Всерод на поверхности электровещества (электроакцептора), характеризуемый поверхностной разницей электрической объёмной плотности зарядов (потенциалов) и способный к перемещению.[5]

ЕДИНИЧНЫЙ ЭЛЕКТРОАТОМ ВСЕРОД – далее не делимая единственная в Природе разноразмерная элементарная электрочастица (электроатом, электрохимический элемент), обладающая минимальной объёмной электрической (электрополевой, электрозарядовой объёмной плотностью) при любых условиях эксперимента, равномерно распределённой в форме шара (сферы) в конкретных условиях, первый электроатом (электрохимический элемент), расположенный в нолевом валентном ряду нолевого периода Периодической системы 1905-1906г. Д.И. Менделеева под символом «Х»[6], описываемый в двоичной системе счета в ПС РУСов 1997г.[].

ЭЛЕКТРОАТОМ СОВОКУПНЫЙ – центрально-симметричная совокупность объёмно – структурированных разноразмерных всеродов – (электроатомов, электрозарядов, электрополей, стоячих электроволн, электрочастиц, электрохимических элементов), обладающий приобретённым свойством локального устойчивого электрического взаимодействия электровещества с максимальной электрической плотностью и нолевым потенциалом в центре, описываемый в двоичной системе счёта Периодической системы РУСов 1997г.[2]

ЭНЕРГИЯ – способность электромагнитного поля (электровещества) Вселенной реагировать, релаксировать, перераспределять результаты всех взаимодействий до равновесного состояния (нолевого электропотенциала).

Так уж получилось, что явление трибоэлектризации и трибоэлектричество, в частности и трибоэлектрический метод зарядки мелкодисперсных частиц в порошковой технологии не получили должного внимания со стороны физиков, химиков, механиков и материаловедов. В разделе физики «механика» трибоэлектрические явления в процессах трения практически не исследовались и не учитывались, так как они якобы незначительны, кроме того, явлением «трение» при решении задач в школьном образовании трением тщательно «пренебрегали», считали его «вредным» и нежелательным. Механики в процессе «уменьшения трения и износа» свели эффекты трения к коэффициенту трения, загнав проблему электроизноса и электроразрушения вещества (электровещества) в непознаваемые глубины, переведя в измерение «условных» сил, которых в эксперименте и природе нет. Обращаю Ваше внимание на определения - «сила трения возникает при перемещении и действует в обратном направлении?! А самая большая сила трения ПОКОЯ!!

В разделе физики «электричество», трибоэлектричество вообще не рассматривается, явления прямого перехода вещества в постоянный электроток мало кем признаётся. Мало того, первоисточник электрических зарядов трибогенератор Ван дер Граафа исключён из программы школьного и вузовского образования, что наносит серьёзный ущерб проблемам познания электровещества, электричества и процессов, происходящих в электровеществе и по поверхностях между электровеществами при различных взаимодействиях.

Известны явления трибоэлектризации при трении различных, разнородных полимерных диэлектрических материалов, однако эксперименты показали, что при трибоэлектризации электризуются и полупроводники, и проводники, и однородные материалы [7]. Б. Франклин свёл процессы трибоэлектризации и генерации зарядов к условностям: положительности «+» и отрицательности «-», исключив реальности-электроатомы и реальные электромагнитные взаимодействия электроатомов (электрозарядов, электрополей, стоячих электроволн, электрочастиц, электрохимических элементов, электровеществ) материалов трибопар. Затем Дж. Томсон и Э. Вихерт придумали отрицательный электрон, а якобы Резерфорд придумал положительное ядро. В действительности Жан Перен предложил планетарную модель атома с положительным ядром в центре и вращающимися отрицательными электронами по орбитам, [4] которые наука приняла, как необходимость на тот период, для развития науки о веществе, строении атома, познания электричества и т.д. Сегодня всем известно, что природа никаких отрицательных или положительных объектов создавать не может. Природа создаёт реальности, а положительность и отрицательность субъективная оценка и/или ошибка конкретных людей, которая, очевидна только в конкретных технологических процессах.

При исследование процессов трибогенерации постоянного тока различных трибопар из диэлектрического электровещества в экспериментах применяли различные условия трения для различных электровеществ в сочетаниях с позиций элекродонорно-электроакцепторных (ЭД – ЭА) концепций.

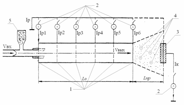
Установка (физическая модель) контактного трения позволяет проводить процессы генерации постоянного тока при «сухом» трении без каких- либо побочных явлений. Рабочая конструкция установки показана на Рис.1 [7, 8] При экспериментах в качестве одного триботела применяли тормозящий трибоэлемент с рёбрами выполненными в виде многозаходной винтовой линии из различных материалов, а в качестве другого триботела – мелкодисперсные 50х10-6м. частицы диэлектрического полимерного порошка. Процесс трибогенерации постоянного тока проводился при следующих условиях:

Т-2780 К, скорость перемещения 10, 30, 45 60м/с, расход (количество) 60г/с. Результаты экспериментов подтвердили электромеханический механизм трения точечных контактов при одновременном протекании не менее двух процессов, главными из которых являются разуплотнение вещества – прямой переход в постоянный (атомарный) электрический ток при торможение разогнанных частиц о трибоэлементы, стабильность перехода электроатомов (электрозарядов, электрополей) обеспечивалась их отводом на землю через токосъёмник (коллектор) из проводника и регистрировалась микроамперметрами Ф195, электрическая схема установки представлена на

Рис. 2, полученные результаты хорошо согласуются с выведенной математической формулой (моделью). Iзар = , Кл/с [7]

На Рис. 3 приведены зависимости генерации постоянного тока от химической природы трибоконтактных пар. На Рис. 3 видно, что трибопары, где ЭД - полимерная частица на эпоксидной основе (П-ЭП-91, П-ЭП-219) и/или на другой основе, а ЭА - полимерный трибоэлемент из политетрафторэтилена (ПТФЭ), (например: пара П-ЭП-91 - ПТФЭ) генерируют наибольший постоянный ток электризации (графики 1–5).

Разница величин токовых характеристик различных трибоконтактных пар при одних и тех же условиях обусловлена разницей работ выхода электроатома (электрозаряда электрополя, электрохимического элемента) из электровещества. При изолированном процессе трибоэлектризации диэлектрических пар ЭД – ЭА, когда исключается отвод генерированных электроатомов (электрозарядов) в виде постоянного (атомарного) тока на

«землю» процесс трибоэлектризации прекращается (самозатухание), так как ЭА накапливает на поверхности свободные несвязанные дискретные поверхностные электроатомы (электрозаряды), наблюдается эффект насыщения и электризация порошковых частиц прекращается. При этом разность потенциалов незначительна и свободные поверхностные электрозаряды равновесно перемещаются с одной поверхности на другую. Аналогично протекает процесс и при трибоэлектризации диэлектрических пар (ЭА-ЭА) и (ЭД-ЭД). Если в отдельных точках контакта создаётся избыточный и/или недостаточный потенциалы, то при перемещении тел заряженные точки совмещаются и нейтрализуют локальную разность потенциалов в единичных электроискровых разрядах за счёт свободных поверхностных электрозарядов, поэтому процесс генерации электроатомов (электрозарядов, электрополей) не эффективен и уровень трибозарядки частиц низкий. Исследования зависимости величины тока от скорости потока порошково-воздушной смеси (ПВС) показали, что процесс полной трибозарядки частицы (до пробойного потенциала) протекает на коротком участке длиной (50-200мм) и даже однородные трибопары ПТФЭ – ПТФЭ трибоэлектризуются достаточно эффективно при отводе электроатомов (электрозарядов, электрополей) на «землю» с рабочих поверхностей. При трибоэлектризации разнородных материалов пар ЭД-ЭА в специально подобранном режиме эффективность трибогенерации постоянного (атомарного) тока достигала величины 200мА.

НА Рис 4 представлен механизм генерации постоянного тока, при совершении работы выхода электроатома (электрозаряда) из объёма электрочастицы (электродонора) и перехода динамического электроатома (электрозаряда) на поверхность электроакцептора, с которого отводили накопленные дискретные электроатомы в виде сформированного постоянного электрического тока.

Исследования трибозаряженных (статический заряд) диэлектрических порошковых частиц электровещества термоактивационными методами показали изменение электроструктуры электровещества. Термоаналитические исследования трибоэлектризованных диэлектрических порошковых частиц на дериватографе Ф. Паулик, Дж. Паулик, Л. Эрдей. нагревали со скоростью 50С/мин. Появление следов деструкции материала на контрольном образце порошкового полимера сопровождался потерей количества материала (электровещества) и начинается при 5430К, а на трибоэлектризованном 5130К. Снижение температуры начала разложения порошка с потерей количества электровещества связано с потерей электроатомов (электрозарядов электрополей) при трибоэлектризации трением, что подтверждает однозначность электровещество - электроатом (электрозаряд, электрополе, электрохимический элемент, электрочастица электровещество).

 

 

 

Рис.1 Конструкция порошкового трибогенератора.[8

Рис. 2 Электросхема генерации постоянного тока.

Рис 3 Рис.4

Зависимость тока трибоэлектризации от «химической» Модель и механизм

природы трибопар. Электроакцептор – ПТФЭ. трибоэлектризованной

порошковой частицы.

 

 

.

Рис 5

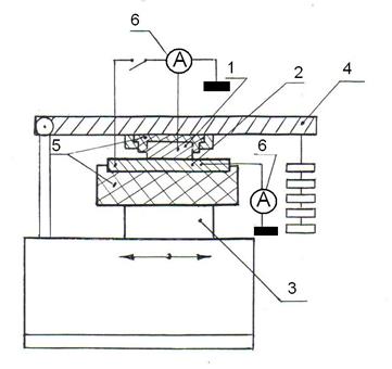
Установка трибогенерации постоянного тока при взаимном перемещении поверхностей проводниковых материалов. [6]

 

Графики на Рис 6, 7, 8, получены на самописце в текущем режиме времени.

 

 

Рис 6 Рис 7

Характер накопления потенциала и Характер токов электроразряда

токов электроразряда трибопары трибопары сталь закаленная по

сталь закаленная по чугуну серому стали «сырой» один материал с (материалы с малой работой выхода) малой работой выхода Электродонор;

второй материал сталь закалённая -

с большой работой выхода. Электроакцептор

 

Рис 8

Характер токов электроразряда трибопары

сталь закаленная по стали закаленной.

(материалы с большой работой выхода)

 

Результаты экспериментов Рис 5 получены в процессе трения «сухой по сухому» образцов из проводниковых электровеществ. Процесс трения скольжения осуществлялся следующим образом: изолированный от земли нижний образец 2 возвратно-поступательно перемещали по горизонтали относительно верхнего изолированного от земли образца 1 с помощью электропривода 3, исключая эффекты резания и зацепления. Образец 1, закреплённый на рычаге 4, оказывал давление перпендикулярно перемещению за счёт грузов, подвешиваемых на рычаг. С образцов 1 и 2 непрерывно изолированными проводами отводились генерированные заряды в виде постоянного (атомарного) тока, регистрируемого микроамперметрами Ф195, как токи утечки Iу ., так как основное количество электроатомов (электрозарядов, электрополей, электроволн) при накоплении пробойной разности потенциалов самоорганизованно нейтрализовалось в электроискровых разрядах. Перемещения, трибогенерация и нейтрализация электрозарядов (электроатомов, электрополей, электроволн) протекали при следующих условиях: температура 3000К, скорость перемещения V =0, 026 м/с, путь перемещения lпер =32мм, S - площадь верхнего образца, N - усилие прижима, обуславливающее силовые нагрузки на контактные взаимодействия образцов при трении скольжения. Ток трибоэлектризации Ip (расчётный) показывает количество электрических электроатомов (электрозарядов, электрополей, электроволн) генерируемых на поверхности верхнего образца в процессе перемещения при нагрузке N.т. е., при совершении работы перемещения Апер. при одновременном совершении работы выхода Авых. Стало быть эти работы абсолютно равны Апер = Авых Равенство работ позволяет рассматривать процесс трения как электромеханическое взаимодействие, при котором происходит самоорганизованная генерация постоянного тока, электроизнос и электроразрушение материалов (электровещества). Выведенная математическая формула процесса генерации постоянного тока при контактном трении проводников также показывает, что любые электровещества состоят из электро нейтральных электроатомов, так как в постоянном токе отсутствует отрицательная составляющая Iзар= , Кл/с [6]

I- токзарядки (трибоэлектризации), δ к -поверхностная плотность заряда на контакте, Sтр -поверхность трения, Aвых -работа выхода заряда, N -сила давления, V -средняя скорость перемещения.

Исследования перехода (растворения) дискретных электроатомов Всерод в виде постоянного электрического тока в электролит (электровещество) при зарядке аккумулятора и выхода постоянного электротока (электровещества) при его разрядке через пластины.

Рассмотрим всем известный свинцово - кислотный аккумулятор по не традиционной методике: корпус аккумулятора из прозрачного диэлектрика, чтобы в процессе зарядки было видно изменение уровня электролита; электролит состава Н2SO4 + Н2О (дистиллят) имеет плотность 1, 2г/см3; объём электролита = 5л; в не заряженном аккумуляторе запас избыточных электрических зарядов Q=0 Рис 9.

Технология производства и эксплуатации аккумуляторов традиционно рассматривает аккумулятор как химический источник постоянного тока, в котором предположительно происходят химические реакции типа РbО2+Рb+2Н24 ↔ РbSO4+PbSO4+2H2O.[9]

В формуле химической реакции отсутствует важнейший компонент - постоянный электрический ток, который должен был бы накапливаться в объёме и участвовать в процессе протекания обратимой химической реакции образования сульфата свинца и его растворения в электролите одновременно, кроме этого, обнаруживаются противоречия химической реакции и технологии изготовления аккумулятора (приготовление и заливка электролита из ёмкостей обложенных свинцовыми листами показывает, что свинец не растворяется в электролите за счёт образования практически нерастворимого сульфата свинца на поверхности. Кроме этого в технологии эксплуатации аккумулятора показано, что «устранение сульфатации пластин в течение 24 и более часов путём длительной зарядки аккумулятора для растворения трудно растворимых кристаллов PbSO4», а скорость электроискрового разряда V=10-8с. Несоответствия скоростей протекания электрического постоянного (атомарного) тока при электроискровом разряде и скорости растворения сульфата свинца, ставят под сомнение формулу протекание выше рассмотренной якобы обратимой химической реакции и работу аккумулятора по традиционной схеме. В разделе устранение сульфатации подтверждается, что образование трудно растворимых кристаллов сульфата свинца на рабочих пластинах приводит к неисправности аккумулятора. Кроме этого, в традиционной схеме работы аккумулятора не показан механизм накопления зарядов и выхода постоянного электрического тока при потреблении электрооборудованием. Известно, что свинцово - кислотный аккумулятор имеет две пластины (токосъёмники-конденсаторы) - одна из губчатого свинца Рb, а вторая из окисла свинца РbО2, которые погружены в не заряженный электролит (электровещество) с электрической плотностью 1, 2г/см3 (). Для зарядки аккумулятора постоянным (атомарным) электрическим током подключаем провод к пластине (токосъёмнику-конденсатору) РвО2 (в металлах как бы электронная проводимость) на клемму со знаком (+), что означает избыток электроатомов, а не электронов. В постоянном токе отрицательные составляющие отсутствуют потому, что якобы электроны имеют «отрицательный заряд» и тогда должен был бы стоять знак минус (–), иначе современная теория электричества не состоятельна, так как электроны по определению Дж.Томсона и Э.Вихерта имеют отрицательный заряд знак (-). На вторую клемму со знаком минус (-) к пластине (токосъёмнику-конденсатору) Рb, подключаем провод «земля» и включаем прибор (процесс зарядки) Рис 9, и начинаем под давлением от электросети «загонять» электроатомы (электрозаряды, электрополя, электроволны, электровещество, электрохимические элементы) в объём электролита (электровещества), которые в электролите (электровеществе) растворяются, а не участвуют в химической обратимой реакции образования и растворении сульфата свинца PbSO4 так как осадок не растворим, при этом объём электролита увеличивается и в объёме накапливается избыточная объёмная электрическая плотность (электровещество). Объёмная электрическая плотность заряженного электролита (электровещества) так же как и на пластинах (токосъёмниках-конденсатора) достигнет значения 1, 28-1, 3 г/см3; при этом объём электролита увеличится приблизительно на 5%; образуется запас электрической плотности приблизительно на 9, 2%, что соответствует запасу электрического постоянного тока 55А час Рис 10. Очевидно, что во время зарядки из аккумулятора выделялся газ водород в виде пузырьков, который не учтен, как прибавка к весу аккумулятора. При включении во внешнюю цепь заряженного аккумулятора активного сопротивления видим, что сопротивление нагревается; при подключении лампочки во внешнюю цепь аккумулятора, лампа светится; при коротком замыкании в кратковременном режиме проявляется электроискровой разряд, звук и весь диапазон электро радио излучений Рис.11. Очевидно, что при замыкании электросхемы к потребителю из электролита (электровещества) избыточная электрическая объёмная плотность через пластины (токосъёмники-конденсаторы) перераспределяется туда, где давление электрической объёмной плотности меньше, к электрооборудованию (потребителю) в виде постоянного электротока электроатомов и проявляется в виде (электрозарядов, электроволн, электрополей электросвета, электронагрева, электрозвука, электромагнита, электроплазмы, электроискрового разряда, электро радиоизлучения всех диапазонов) до тех пор пока запас электроатомов не иссякнет. Все формы и виды (агрегатные состояния) электровещества могут характеризоваться одной величиной – электрической объёмной плотностью. Заряженный аккумулятор выдаёт постоянный электрический ток потребителю до тех пор, пока избыточная электрическая объёмная плотность электролита (электровещества) не иссякнет, при этом запас избыточных зарядов в аккумуляторе станет равным нолю, а электрическая объёмная плотность установится в первоначальном состоянии = 1, 2г/см3. Простейшие расчёты показывают, что вес заряженного электролита увеличился на 1050г.

 

 

Рис 9- до зарядки.

 

 

 

Рис10- во время зарядки.

 

 

Рис 11- во время разрядки

Очевидно, теория единого электромагнитного поля возможна при одновременном рассмотрении терминов (электровещество–электроатом–электрозаряд–электрополе–электрохимический элемент и т.д.), где основой является электроатом. Таким образом снимаются все проблемы в теории поля.

 

 

Литература

 

1. Рыбников Ю.С. Основы теории единства и неразрывности электромагнитного поля Вселенной // ЖРФМ. Общественная польза. М-1993 №1.с 157-165.

2. Рыбников Ю.С.таблица ПС. Русская православная элементарная система единства периодичности электроатомов вселенной// Анализ систем на пороге ХХI века: Теория и Практика. Интеллект. Материалы ММК. Приложение. М.- 1997.

3. Рыбников Ю.С. Основы теории единства и неразрывности электромагнитного поля вселенной. // Анализ систем на пороге ХХI века: Теория и Практика. Интеллект. Материалы ММК. М.- 1997.с. 28-45.

4. Трифонов Д.Н. // Рождение атомной модели Б.РХО Химия в России. №4. М.- 2004. с.18-21.

5. Рыбников Ю.С. Электрофизическая природа взаимодействия тел при трении и электромеханическая природа самоорганизующегося режима электроизноса и разрушения материалов трибопар при трении скольжения и качения.// Сб. докладов. НТК. Трибология-машиностроению. ИМАШ РАН. М. 2010.

6. Менделеев Д.И.//Попытка химического понимания мирового эфира. Основы химии. Наука. Л- 1934.с 465-500.

7. Рыбников Ю.С. Круглова Л.В.//Основы электронной теории износа при трении. Вестник машиностроения. Машиностроение. №6. М. 1989. с 5-10.

8. Рыбников Ю.С. А/С № 1246464

9. Коровин А.А. Общая химия. М. Высшая школа. 2007-556 с.

 

<== предыдущая лекция | следующая лекция ==>
Күшті тамақтану | ПРОГРАММА. Девятнадцатый век – особое звено историко-культурного процесса, когда нация в процессе своего самосознания создала высшие творения человеческого духа
Поделиться с друзьями:

mylektsii.su - Мои Лекции - 2015-2026 год. (1.262 сек.)Все материалы представленные на сайте исключительно с целью ознакомления читателями и не преследуют коммерческих целей или нарушение авторских прав Пожаловаться на материал