Студопедия

Главная страница Случайная страница

КАТЕГОРИИ:

АвтомобилиАстрономияБиологияГеографияДом и садДругие языкиДругоеИнформатикаИсторияКультураЛитератураЛогикаМатематикаМедицинаМеталлургияМеханикаОбразованиеОхрана трудаПедагогикаПолитикаПравоПсихологияРелигияРиторикаСоциологияСпортСтроительствоТехнологияТуризмФизикаФилософияФинансыХимияЧерчениеЭкологияЭкономикаЭлектроника






Утомление






 

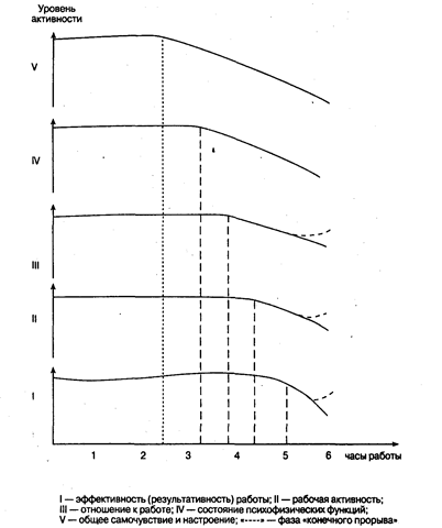
Состояние утомления сопровождает все виды деятельности человека. Оно явля­ется нормальной реакцией организма на рабочую нагрузку, но в острых и хрониче­ских формах вызывает нарушение работоспособности. Утомление — это «функцио­нальное состояние, которое возникает в результате интенсивной или (и) длительной рабочей нагрузки и проявляется во временном нарушении ряда психических и физио­логических функций индивида, а также снижении эффективности и качества труда» (Бодров В. А., 1988). При продолжительном воздействии чрезмерных нагрузок и от­сутствии условий для полноценного восстановления функциональных нарушений состояние утомления может перейти в переутомление (рис. 24-1).

· Утомление — временное нарушении ряда психиче­ских и физиологических функций в результате рабочей нагрузки.

 

Основной причиной утомления является интенсивная и длительная рабочая на­грузка. Для умственного утомления такая нагрузка обычно связана с интеллектуаль­ной деятельностью по преобразованию большого потока информации, работой при временных ограничениях, сложности и ответственности задания. Нагрузкой может быть и физическая работа по поддержанию вынужденной позы, перемещению орга­нов управлений и т. д.

К дополнительным причинам утомления, которые могут ускорить развитие этого состояния или усилить выраженность его проявлений, следует отнести:

- воздействие на организм неблагоприятных факторов среды (шум, вибрация, гипоксия и т. д.);

- повышенное нервно-психическое напряжение, эмоциональный стресс;

- чрезмерную по интенсивности физическую и умственную нагрузку перед ос­новной работой (физкультура и спорт, домашняя работа и т. д.).

 

 

 

Рис. 25-1. Изменение функциональных показателей человека в процессе развития утомления

В качестве факторов, предрасполагающих к возникновению утомления, выступа­ют: нарушение рационального режима труда, отдыха и питания; длительные переры­вы между работой (профессиональная дезадаптация); остаточные функциональные нарушения (снижение резервов организма) после болезни; недостаточное физическое развитие; наличие вредных привычек; недостаточный уровень физической подготов­ленности и т. д.

По видам утомление может быть физическим, умственным, эмоциональным и сме­шанным; общим и локальным; мышечным, зрительным, слуховым, интеллектуаль­ным (творческим).

По формам это состояние классифицируется на компенсируемое, острое, хрони­ческое утомление и переутомление. Современная классификация утомления (табл. 25.1) построена на основе учета трех групп показателей:

1) причины его возникновения;

2) симптомы проявления;

3) способы и продолжительность восстановления работоспособности.

 

Таблица 25.1


Поделиться с друзьями:

mylektsii.su - Мои Лекции - 2015-2026 год. (1.048 сек.)Все материалы представленные на сайте исключительно с целью ознакомления читателями и не преследуют коммерческих целей или нарушение авторских прав Пожаловаться на материал