Студопедия

Главная страница Случайная страница

КАТЕГОРИИ:

АвтомобилиАстрономияБиологияГеографияДом и садДругие языкиДругоеИнформатикаИсторияКультураЛитератураЛогикаМатематикаМедицинаМеталлургияМеханикаОбразованиеОхрана трудаПедагогикаПолитикаПравоПсихологияРелигияРиторикаСоциологияСпортСтроительствоТехнологияТуризмФизикаФилософияФинансыХимияЧерчениеЭкологияЭкономикаЭлектроника






Двухканальные и двухлучевые осциллографы






 

Многолучевые осциллографы предназначены для одновременного наблюдения на одном экране нескольких сигналов.

Наибольшее распространение получили приборы, позволяющие наблюдать одновременно два сигнала (рис. 8.33). Осциллограмма 1 представляет собой сигнал, поступающий на вход исследуемой цепи, а осциллограмма 2 — сигнал, снимаемый с выхода.

Для получения такого изображения используется двухлучевая ЭЛТ, содержащая внутри общей колбы два электронных прожектора со своими системами фокусировки вертикально и горизонтально отклоняющих пластин. Обычно развертка обоих лучей осуществляется от общего генератора и усилителя горизонтального отклонения, что обеспечивает отображение обоих сигналов в едином масштабе времени. Единый масштаб времени позволяет сравнивать мгновенные значения напряжений, определять временные соотношения, измерять фазовый сдвиг и т. п.

На рис. 8.34 изображена упрощенная структурная схема универсального двухлучевого осциллографа С1-55. Из схемы видно, что управление двумя лучами ЭЛТ осуществляется с помощью двух идентичных каналов У1 и Y2, содержащих те же элементы, что и каналы вертикального отклонения обычных осциллографов. Синхронизация автоколебательной и запуск ждущей разверток производится от исследуемого сигнала, снимаемого с усилителей обоих каналов.

Особенностью ЭЛТ, применяемой в рассматриваемом приборе, является гашение луча во время обратного хода развертки с помощью специальных бланкирующих пластин. При подаче импульсов с устройства управления яркостью изображения на бланкирующие пластины лучи обоих электронных прожекторов резко отклоняются в сторону и не попадают на экран. Имеются ЭЛТ и с большим числом лучей. Так, в осциллографе С1-33 применена пятилучевая ЭЛТ. Возможности применения таких приборов еще более широкие.

 
 

 

 


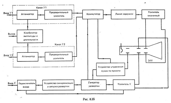
Два электрических процесса можно одновременно наблюдать на экране обычной ЭЛТ с помощью электронного коммутатора. Электронный коммутатор обеспечивает поочередную подачу сигналов на Y- отклоняющие пластины. Примером такого осциллографа может служить прибор С1-77, упрощенная структурная схема которого изображена на рис. 8.35. Сигналы подаются на входы Y1 и Y2 двух идентичных каналов. С выходов каналов сигналы поступают на электронный коммутатор, управляемый импульсами, сформированными в генераторе развертки. Коммутатор может работать в одном из режимов: I, II, I + II, «Прерыв.», «Попеременно».

В режимах I и II на экране ЭЛТ воспроизводится только один сигнал (канала Y1 или Y2). В режиме I + II можно исследовать сумму или разность двух сигналов, а также компенсировать постоянную составляющую одного канала, подавая постоянное напряжение на другой канал. В режиме «Прерыв.» сигналы переключаются с частотой 100 кГц и в режиме «Попеременно» после каждого цикла развертки. Смещение осциллограмм двух сигналов в вертикальном направлении (как это показано на рис. 8.33) достигается подбором постоянных составляющих сигналов, поступающих на коммутатор с предварительных усилителей каналов Y1 и Y2. В отличие от двухлучевых осциллографов, рассмотренный прибор с коммутацией сигналов и однолучевой ЭЛТ носит название двухканального осциллографа.

 
 

 

 



Поделиться с друзьями:

mylektsii.su - Мои Лекции - 2015-2026 год. (1.141 сек.)Все материалы представленные на сайте исключительно с целью ознакомления читателями и не преследуют коммерческих целей или нарушение авторских прав Пожаловаться на материал