Студопедия

Главная страница Случайная страница

КАТЕГОРИИ:

АвтомобилиАстрономияБиологияГеографияДом и садДругие языкиДругоеИнформатикаИсторияКультураЛитератураЛогикаМатематикаМедицинаМеталлургияМеханикаОбразованиеОхрана трудаПедагогикаПолитикаПравоПсихологияРелигияРиторикаСоциологияСпортСтроительствоТехнологияТуризмФизикаФилософияФинансыХимияЧерчениеЭкологияЭкономикаЭлектроника






Пресс-форма






Чертеж прессформы представлен на рис.8, а внешний вид – на рис.9. Пресс-форма выполнена из латуни. Во время использования пресс-форма может нагреваться до температуры 180 – 200оС, вследствие чего перемещение ее вручную небезопасно, с учетом этого, установка спроектирована с небольшими по размерам крюками 3 с возможностью присоединения к ним съемных теплоизолирующих ручек 4. Части пресс-формы могут быть соединены между собой с помощью болтов, вставляемых в отверстия 2.

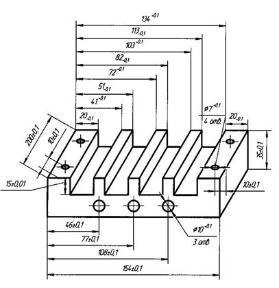
Рис. 8.а. Чертеж нижней части пресс-формы

 

Рис. 8.б. Чертеж верхней части пресс-формы

Для создания определенной температуры при прессовании установка снабжена отверстиями (7), куда вставляются ТЭНы марки ТЭНп 20-2-10/0, 5-Ме-220, которые могут не только быстро нагревать конструкцию со скоростью до 5 °С за 10 секунд, но и позволяют более четко придерживаться заданной программы изменения температуры, по сравнению с нагревом в термостате. Кроме того, использование трубчатых электронагревателей позволяет одновременно с нагревом создавать дополнительное давление с помощью пресса, т.к. вся внешняя поверхность пресс-формы свободна.

Для создания давления в пресс-форме использовался пресс фирмы Fred S. Carver inc., USA.

Давление, создаваемое прессом, должно соответствовать удельному давлению (Р), обусловленному технологическим процессом изготовления статорных обмоток турбогенераторов, равному 1 МПа (101971, 6кг/м2).

 

 

Рис. 9. Пресс-форма

1 – пресс-формы (латунь), 2 – сквозное отверстие для соединения частей пресс-формы болтами, 3 – крючки для ручек, 4 – ручки, 5 – винты, соединяющие части пресс-формы, 6 – шпильки для нескользящего соединения частей пресс-формы, 7 – отверстия для нагревателей, 8 – отверстия для термопары.

Для определения необходимого давления между плитами гидравлического пресса (F) следует рассчитать его по формуле:

F=P·S

где S=4·S1 обр- площадь прессуемой поверхности,

S1 обр=3, 4·10-3 м2 – площадь одного образца.

Таким образом, необходимое давление F=1, 39 т.

Для поддержания необходимого температурного режима при прессовании использовался прибор Термодат 15М1, который позволяет регулировать температуру несколькими способами, среди которых наиболее эффективным является способ регулирования с использованием пропорционально-интегрально-дифференциальных (ПИД) коэффициентов. Этот способ позволяет наиболее точно поддерживать температуру по заданной программе, т.к. учитывает не только отклонение температуры от заданной, но и предупреждает возможные отклонения в будущем с помощью дифференциальной составляющей.


Поделиться с друзьями:

mylektsii.su - Мои Лекции - 2015-2026 год. (1.787 сек.)Все материалы представленные на сайте исключительно с целью ознакомления читателями и не преследуют коммерческих целей или нарушение авторских прав Пожаловаться на материал