Студопедия

Главная страница Случайная страница

КАТЕГОРИИ:

АвтомобилиАстрономияБиологияГеографияДом и садДругие языкиДругоеИнформатикаИсторияКультураЛитератураЛогикаМатематикаМедицинаМеталлургияМеханикаОбразованиеОхрана трудаПедагогикаПолитикаПравоПсихологияРелигияРиторикаСоциологияСпортСтроительствоТехнологияТуризмФизикаФилософияФинансыХимияЧерчениеЭкологияЭкономикаЭлектроника






на тему: “Розрахунок занулення на відключаючу здатність”.






Міністерство освіти і науки молоді та спорту України

Національний університет “Львівська політехніка”

Інститут будівництва та інженерії довкілля

 

Кафедра охорони праці

 

Практична робота

на тему: “Розрахунок занулення на відключаючу здатність”.

 

 

Виконав:

ст. гр. ПЦБм – 11

Іваницький Н.Р.

Прийняв:

Стець Р.Є.

 

 

Львів – 2012 р.
1.Теоретичні відомості

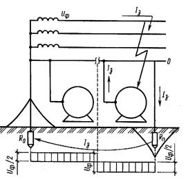
Зануленням називається навмисне з'єднання корпусів електрообладнання, які можуть випадково опинитись під напругою, з багаторазово заземленим нульовим провідником.

Занулення здійснюється в чотирьохпровідникових мережах з глухозаземленою нейтраллю з напругою до 1000 В.

Принцип дії занулення – перетворення замикання на корпус в однофазне замикання, при якому спрацьовує захист (топкі вставки, автомати) і електропристрій вимикається, при цьому IКЗ³ k× Iном

Коефіцієнт кратності k визначається в залежності від типу запобіжника: для теплових автоматів і топких вставок k ³ 3; для вибухонебезпечних приміщень k ³ 4.

Опір заземлення нейтралі джерела струму R0 повинен бути 2, 4, 6 Ом при трьохфазній напрузі джерела 660, 380, 220В відповідно ССБТ [4]. Ці вимоги продиктовані умовою, щоб повний опір кола “фаза-нуль” забезпечував в аварійній ситуації струм короткого замикання IКЗ³ 3× Iном.

При короткому замиканні фази на корпус до спрацьовування захисту на всіх елементах ланцюга занулення з'явиться напруга. Внаслідок того, що в контурі протікання струму короткого замикання (джерело струму, кола “фаза-нуль”, нульовий захисний дріт) знаходяться елементи, які мають певний індуктивний і активний опір то за місцем замикання на всіх металевих частинах електрообладнання, які під’єднані до нульового дроту, може утворитися небезпечна напруга, наприклад, в мережі 380/220В вона може досягти 147В [3].

При розриві нульового захисного дроту напруга відносно землі нульового дроту і приєднаних до нього корпусів електроприладів може досягнути фазної напруги.

Повторні заземлення Rп призначаються для зниження цієї напруги як при суцільному (цілому), так і з неполадками (має розрив) нульовому дроті. Тобто, основні вимоги до нульового дроту є малий активний опір і відсутність можливих точок від'єднання або розриву.

У ролі нульових захисних провідників ПУЕ рекомендують використовувати неізольовані або ізольовані провідники, а також металеві конструкції будівель, підкранові рельси, стальні труби електропровідників і т.п. Рекомендується використовувати нульові робочі дроти одночасно і як нульові захисні. При цьому нульові робочі дроти повинні мати достатню провідність (не менше 50% провідності фазного дроту) і не повинні мати запобіжників і вимикачів.

Згідно ПУЕ повторному заземленню піддаються лише нульові робочі провідники повітряних ліній (велика імовірність розриву нульового дроту). При цьому повторне заземлення виконують на відстані більше 200м, а також на вводах повітряних ліній в електроустановки, які підлягають зануленню. Опір повторних заземлювачів згідно ССБТ [4] не повинен перевищувати 15, 30, 60 Ом відповідно для 220, 380 і 660В трьохфазної напруги джерела.

2.Розрахунок занулення на відключаючу здатність

Мета розрахунку занулення полягає у визначенні умов, при яких воно надійно і швидко відключає пошкоджену електроустановку від мережі і одночасно забезпечує безпеку дотику людини до занулених частин установки в аварійний період.

При замиканні фази на занулений корпус електроустановка автоматично відключається, якщо значення струму однофазного короткого замикання (тобто між фазним і нульовим захисними провідниками) IКЗ , А, задовольняє умові:

IКЗ > k × Iном (1)

де k – коефіцієнт кратності номінального струму Iном, А плавноївставки запобіжника або вставки струму спрацювання автоматичного вимикача, А.

Модуль струму короткого замикання, А, вираховується за приблизною формулою:

IКЗ = Uф/(ZT/3 + Zn), (2)

де ZT і Zn – модулі повного опору обмоток джерела живлення і повного опору петлі фаза – нуль.

Повний опір петлі фаза нуль визначається:

Zn = Ö (SRф + SRн.з)2 + (SХф + SХн.з + Хп)2, (3)

де Rф + Rн.з – активний опір петлі фаза – нуль.

Значення Rф і Rн.з для провідників із кольорових металів (мідь, алюміній) визначають за відомими січенням S, мм2, довжиною l і матеріалом провідників.

Активний опір визначається:

R = r × l/S, (4)

де r - питомий опір провідника (для міді 0, 018, а для алюмінію 0, 028 Ом × мм2). (Січення нульового захисного провідника Sн.з, мм2, приймається з умови, що Rн.з £ 2× Rф, тобто якщо фазні і нульові захисні провідники виконані з одного металу, то Sн.з ³ 0, 5× Sф (де Sф – січення фазного провідника, ), якщо з різних металів, наприклад, фазний з міді, а нульовий захисний з алюмінію, то

Sн.з ³ 0, 8× Sф.

Значення ZT (активний опір трансформатора) залежить від потужності трансформатора і схеми з’єднання його обмоток, а також від конструктивного виконання трансформатора (табл.№1).

Значення Хф і Хн.з для мідних і алюмінієвих провідників порівняно малі (біля 0, 0156 Ом/км), тому ними можна знехтувати.

Значення Хп можна визначити за формулою (для ліній прокладених у повітрі) Хп = 0, 1256 × ln (2D/d), (Ом/км).

D – віддаль між проводами,

d – діаметр.

В наближених розрахунках зовнішній індуктивний питомий опір для внутрішньої проводки складає 0, 3 Ом/км і 0, 6 Ом/км для повітряних ліній (при віддалі між проводами, що відповідають нормам).

Хп = Х 1 п× l

де l – довжина.

Табл.№1.

Наближенні значення повних опорів ZT обмоток масляних трансформаторів.

Потужність трансформатора, кВА Номінальна напруга обмоток вищої напруги, кВ ZT Ом при схемі з'єднання обмоток
Y/Yп D/Yн Y/Zп
  6,, 10 3, 11 0, 906
  6,, 10 1, 949 0, 562
  6,, 10 1, 237 0, 36
  20,, 35 1, 136 0, 407
  6,, 10 0, 799 0, 226
  20,, 35 0, 764 0, 327
  6,, 10 0, 487 0, 141
  20,, 35 0, 478 0, 203
  6,, 10 0, 312 0, 09
  20,, 35 0, 305 0, 13
  6,, 10 0, 195 0, 056
  20,, 35 0, 191 ,,
  6,, 10 0, 129 0, 042
  20,, 35 0, 121 ,,
  6,, 10 0, 081 0, 027
  20,, 35 0, 077 0, 032
  6,, 10 0, 054 0, 017

Табл.№3

Варіант завдання:

Варіант l1/S1 l2/S2 l3/S3 Матеріал провідника Фаза/Нульовий Sтр, кВА
  500/20 100/4 50/2, 5 Cu/Al  

Розрахунок:

Розрахувати занулення для чотирьохпровідної лінії 380/220, яка складається з 3-х дільниць: l1= 500 м ; l2= 100 м, l3 = 50 м виконаних з: мідний- фаза, алюмінієвий- нульовий проводи, площа січення яких відповідно S1 =20 мм2 і S2= 4 мм2, S3 = 2, 5мм2 живиться від трансформатора потужністю 160 кв.А, 6/10 кв зі схемою з’єднання обмоток “зірка зигзаг з нулем”.

Розв’язок:

Необхідно знайти значення струму однозначного короткого замикання IКЗ і визначити Iном, вибрати тип запобіжника.

IКЗ> k× Iном,

IКЗ = Uф/(ZT/3 + Ö (SRф + SRн.з)2 + (SХф + SХн.з + Хп)2 )

З табл.№1 знаходимо повний опір трансформатора ZT =0, 141 Ом.

Визначаємо опір фазного і нульового захисного провідників Rф, Rн.з, Хф, Хн.з і Хп на ділянках l1= 500 м, l2= 100 м, l3= 50 м.

Rф1 = r × l1/S1 = 0, 018 × 500/20 =0, 45 Ом,

Rф2 = r × l2/S2 = 0, 018 × 100/4 =0, 45 Ом,

Rф3 = r × l3/S3 = 0, 018 × 50/2, 5 =0, 36 Ом.

Оскільки фазний провід мідний, приймаємо Хф = 0.

Rн.з.1 = r × l1/Sн.з.1 = 0, 018 × 500/10 =0, 9 Ом,

Rн.з.2 = r × l2/Sн.з.2 = 0, 018 × 100/2 =0, 9 Ом,

Rн.з.3 = r × l3/Sн.з.3 = 0, 018 × 50/1, 25 =0, 72 Ом.

Sн.з. ³ 0, 5× Sф; тому приймаємо Sн.з.1 = 10 мм2, Sн.з.2 = 2 мм2, Sн.з.3 = 1, 25 мм2.

Оскільки провід занулення алюмінієвий, приймаємо Хн.з. = 0.

Зовнішній індуктивний опір 1 км петлі “фаза – нуль” приймаємо:

Х 1 п = 0, 6 Ом/км, тоді:

Хп1 = Х 1 п1× l1 = 0, 6 × 0, 5 = 0, 3 Ом,

Хп2 = Х 1 п2× l2 = 0, 6 × 0, 1 = 0, 06 Ом,

Хп2 = Х 1 п2× l2 = 0, 6 × 0, 05 = 0, 03 Ом.

Опір петлі проводів “фазний-нульовий”:

Zn = Ö (SRф+SRн.з)2+ (SХф+SХн.зп)2= Ö (1, 26+2, 52)2+0, 392 = 3, 80 Ом.

Струм короткого замикання: IКЗ = Uф/(ZT/3+Zn);

IКЗ =220/(0, 141/3+3, 80)= 57, 18 А

Iном = IКЗ / k = 57, 18/3 = 19, 06 А

3 для плавк. запобіжника

Вибираємо запобіжник НПИН 60М на Iт = 20 А (з таблиці №2).

Табл.№2

Значення Iном для деяких типів запобіжників.

Тип запобіжника Iном, А
НПИ 15 6, 10, 15
НПИН 60М 20, 25, 35, 45, 60
ПН2-100 30, 40, 50, 60, 80, 100
ПН2-250 80, 100, 120, 150, 200, 250
ПН 2-400 200, 250, 300, 350, 400
ПН 2-600 300, 400, 500, 600
ПН 2-1000 500, 600, 750, 800, 1000

Напруга на корпусі буде максимальною при струмі короткого замикання Iк.з

Uн.мах=Iк.з× Zп

Ця напруга на корпусі не повинна перевищувати допустиму напругу дотику (42 В, а в особливо несприятливих умовах 12 В).

Uн.мах=Uд.доп

Uд.доп - допустима напруга дотику;

Для зниження напруги корпусу необхідно зменшити опір нульового провідника (збільшити його січення або прокласти паралельно кілька провідників) або застосувати повторне заземлення нульового провідника. При наявності повторного заземлення нульового захисного провідника напруга відносно землі на корпусі обладнання:

Uк=Iк.з× Zп ((Rп/(R0+Rп)

де Rп - опір повторного заземлення, Ом

R0 - опір нейтралі трансформатора, Ом.

Література:

1. Основы техники безопасности в електроустановке, П.А.Долин, 1984г.

2. Средства защиты в машиностроении. Расчет и проектирование. Справочник. 1989г.

3. Охрана труда в электроустановках: Учебник для вузов./Под ред. Б.А. Князевского. 3-е изд., перераб. и доп. –М.: Энергоатомиздат, 1983 – 336с.

4. ГОСТ 12.1.030-81, ССБТ " Электробезопасность. Защитное заземление, зануление".


Поделиться с друзьями:

mylektsii.su - Мои Лекции - 2015-2026 год. (1.007 сек.)Все материалы представленные на сайте исключительно с целью ознакомления читателями и не преследуют коммерческих целей или нарушение авторских прав Пожаловаться на материал