Студопедия

Главная страница Случайная страница

КАТЕГОРИИ:

АвтомобилиАстрономияБиологияГеографияДом и садДругие языкиДругоеИнформатикаИсторияКультураЛитератураЛогикаМатематикаМедицинаМеталлургияМеханикаОбразованиеОхрана трудаПедагогикаПолитикаПравоПсихологияРелигияРиторикаСоциологияСпортСтроительствоТехнологияТуризмФизикаФилософияФинансыХимияЧерчениеЭкологияЭкономикаЭлектроника






На электрических схемах






Различают два основных вида резисторов; нерегулируемые (постоян­ные) и регулируемые (переменные и подстроечные). Особую группу со­ставляют полупроводниковые резисторы.

Постоянные резисторы могут быть проволочными и непро­волочными. Проволочные резисторы представляют собой стержень с на­мотанной на него проволокой из металла, обладающего большим удель­ным сопротивлением. Первыми элементами обозначения таких резисторов являются буквы: Г1Э, ПЭВ, ПЭВ-Р, ПЭВТ. Из наиболее широко приме­няемых непроволочных резисторов можно назвать углеродистые (типа ВС, ВСЕ), металлизированные, лакированные эмалью, теплостойкие (МЛТ, ОМЛТ, МТ, МТЕ и др.) и композиционные (КИМ, ТВО и др.), имеющие стеклянное основание, на которое наносится токопроводящий материал—смесь (композиция) нескольких веществ. Внешний вид не­которых постоянных резисторов показан на рис. 1.

На электрических схемах постоянные резисторы независимо от их типа изображаются в виде прямоугольников, выводы от концов резисторов — линиями, проведенными от середин меньших сторон (рис. 2). Допустимая рассеиваемая мощность резистора указывается внутри прямоугольника. Рядом с условным графическим обозначением помещают латинскую букву R и порядковый номер резистора в схеме, а также номинальное его сопротивление. При этом для сопротивления от 0 до 999 Ом единицу измерения не указывают

Рис. 1. Постоянные резисторы типов: а - ВС, б - УЛМ; г - ПЭВ

Рис. 2. Условные графические обозначения постоянны»; резисторов и ве­личины допустимой мощности рассеяния

Рис. 3. Устройство (а) и функциональные характеристики (б) регулируемых резисторов: 1- вывод щетки; 2 – концевые выводы; 3 – пластмассовый корпус; 4 – серебрение; 5 – ось; 6 – дужка с токопроводящим слоем; 7 – контактная щетка; 8 – заклепка

(на рис. 2 R1 имеет номинальное сопротивление 6, 8 Ом, а R2 и R7—10 Oм), для сопро­тивления от 1 килоома до 999 и от 1 мегаома и выше к числовому его значению добавляют обозначения единиц измерения — соответствен­но К и М (на рис. 2. R3 имеет номинальное сопротивление 2.4 кОм, R5—3 кОм, R4 1.3 МОм).

Если величина сопротивления резистора на схеме указана ориенти­ровочно и


 

в процессе настройки может быть изменена, к условному обозначению резистора добавляется звездочка (резистор R6 на рис. 2).

При необходимости подчеркнуть, что данный резистор должен обяза­тельно быть проволочным, рядом с символом R делается надпись «пров» (резистор R2 на рис. 2).

Регулируемые, или переменные, резисторы являются радиоэлементами, сопротивления которых можно изменять от нуля до номинальной величины. Как и постоянные, регулируемые резисторы могут быть проволочными и непроволочными. Регулируемый непрово­лочный резистор представляет собой токопроводящее покрытие, нане­сенное на диэлектрическую пластинку в виде дуги (рис. 3 а), по которому перемещается пружинящий контакт (движок), скрепленный с осью. От этого контакта и от краев токопроводящего покрытия сделаны выводы. Иногда регулируемые резисторы могут иметь и дополнительные выводы от токопроводящего слоя (например, от середины). Выпускаются также регулируемые резисторы, конструктивно объединенные с одним или двумя выключателями, и сдвоенные, имеющие общую ось. По виду зависимости сопротивления между начальным вывод от токопроводящей части и движком от угла поворота оси a (рис. 3) различают резисторы типов А (линейная зависимость), Б (логарифмическая) и В (показательная зависимость).

Разновидностью регулируемых резисторов являются подстроечные резисторы, которые не имеют выступающей оси, скрепленной с движком. Изменять положение движка и, следовательно, сопротивление между ним и одним из концов токопроводящего слоя в подстроечном резисторе можно только с помощью отвертки.

Внешний вид некоторых типов регулируемых резисторов показа на рис. 4.

Принцип действия полупроводниковых резисторов основан на свойствах полупроводниковых материалов изменять свое сопротивление под воздействием внешних факторов: температуры, электрического напряже­ния, освещения и др. По видам внешнего воздействия полупроводниковые резисторы делятся на три группы: терморезисторы, варисторы и фоторезисторы.

Терморезисторы — это полупроводниковые резисторы, сопротивление которых зависит от температуры: увеличивается при уменьшении температуры и уменьшается при ее увеличении. Температурный коэффициент сопротивления (ТКС) таких резисторов отрицательный. Имеются терморезисторы с положительным ТКС. У них сопротивление также увеличивается с увеличением температуры и с понижением ее — уменьшается. Терморезисторы с отрицательным ТКС называют позисторами.

Наибольшее распространение получили терморезисторы, выполненные на основе медно-марганцевых (ММТ и СТ2), кобальто-марганцевых (КМТ и СТ1) и медно-кобальто-марганцевых (СТЗ) оксидных полупроводников с отрицательным ТКС. В качестве позисторов применяются титанобариевые терморезисторы (СТ5 и СТ6) (рис. 5).

Варисторами называют полупроводниковые резисторы, в которых используется эффект уменьшения сопротивления полупроводникового ма­териала при увеличении приложенного напряжения.

 


 

Рис. 4. Внешний вид некоторых регулируемых и подстроечных резисторов

 

Рис..5. Внешний вид некоторых типов фоторезисторов

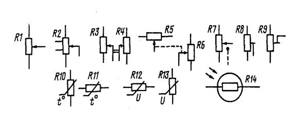
Рис.6. Условные графические обозначения регулируемых, подстроечных и полупроводниковых резисторов:

R1- без дополнительных отводов; R2-с двумя дополнительными отводами; R3 и R4, R5 и R6-сдвоенные переменные резисторы; R7-совмещенный с выключателем; R8 и R9-подстроечные; R10 и R11-терморезисторы, или термисторы; R12 и R13-варисторы; R14-фоторезистор


 

Система обозначений варисторов включает буквы СН (сопротивле­ние нелинейное) и цифры. Первая из цифр обозначает материал (1-карбид кремния, 2-селен), вторая — конструкцию (1, 8— стержневая, 2, 10 — дисковая, 3 — микромодульная), третья — порядковый номер разработки. Последним элементом обозначения также является число. Оно указывает на классификационное напряжение в вольтах (например, СН-1-2-1-100) (рис. 5).

Варисторы применяют для защиты от перенапряжений контактов, приборов и элементов радиоэлектронных устройств, высоковольтных ли­ний и линий связи, для стабилизации и регулирования электрических величин и т. д.

Фоторезисторами называют полупроводниковые резисторы, сопротивление которых изменяется от светового или проникающего элек­тромагнитного излучения. Более широко используются фоторезисторы с положительным фотоэффектом. Их сопротивление уменьшается при освещении или облучении электромагнитными волнами.

Благодаря высокой чувствительности, простоте конструкции, малым габаритам фоторезисторы применяются в фотореле различного назначения, счетчиках изделий в промышленности, системах контроля размеров и формы деталей, устройствах регулирования различных величин, телеуправлении и телеконтроле, датчиках различных величин и др.

Система обозначений фоторезисторов ранних выпусков содержит три буквы и цифру. Первые две буквы—ФС (фотосопротивление), за ними следует буква, обозначающая материал светочувствительного элемента: А - сернистый свинец, К—сернистый кадмий, Д — селенистый кадмий. Затем идет цифра, указывающая на вид конструкции (например, ФСК-1) (рис. 5).

В новой системе обозначений первые две буквы СФ (сопротивле­ние фоточувствительное). Следующая за ними цифра указывает на ма­териал чувствительного элемента, а последняя цифра означает поряд­ковый номер разработки (например, СФ2-1) (рис. 5).

Внешний вид некоторых типов фоторезисторов показан на рис. 5, а условные обозначения полупроводниковых резисторов — на рис. 6.

 


Поделиться с друзьями:

mylektsii.su - Мои Лекции - 2015-2026 год. (0.769 сек.)Все материалы представленные на сайте исключительно с целью ознакомления читателями и не преследуют коммерческих целей или нарушение авторских прав Пожаловаться на материал