Студопедия

Главная страница Случайная страница

КАТЕГОРИИ:

АвтомобилиАстрономияБиологияГеографияДом и садДругие языкиДругоеИнформатикаИсторияКультураЛитератураЛогикаМатематикаМедицинаМеталлургияМеханикаОбразованиеОхрана трудаПедагогикаПолитикаПравоПсихологияРелигияРиторикаСоциологияСпортСтроительствоТехнологияТуризмФизикаФилософияФинансыХимияЧерчениеЭкологияЭкономикаЭлектроника






Вторичные приборы для термопреобразователей сопротивления






Для линейного преобразования сопротивления термопреобразователей сопротивления типов ТСП и ТСМ в унифицированный сигнал постоянного тока 0-5 мА предназначены нормирующие преобразователи. Преобразователи состоят из измерительного моста и усилителя постоянного тока (УПТ) с глубокой отрицательной обратной связью.

Гальваническое разделение входа от выхода обеспечивается применением магнитных усилителей в прямом тракте и в цепи обратной связи. Допустимая основная погрешность ±0, 6 %.

Для непосредственного измерения сопротивлений термометров сопротивления и других преобразователей сопротивления используют: одно- и двухмостовые схемы (уравновешенные и неуравновешенные), логометры и компенсационный метод.

 

Измерительный мост представляет собой четыре резистора , которые питаются от источника . В измерительной диагонали включен измерительный прибор сопротивлением . Согласно теореме об эквивалентном генераторе: ток равен напряжению холостого хода , деленному на сумму сопротивлений участка cd и сопротивления между концами участка cd при коротком замыкании (КЗ) всех ЭДС:

 

 

 

Отсюда возможны два режима работы:

1. Равновесный: , при этом .

2. Неравновесный . В этом случае необходимо постоянство и всех сопротивлений, кроме измеряемого.

Электрическая схема уравновешенного моста (рис. 2.6.1) включает в себя следующие основные элементы: два постоянных резистора и , реохорда и термопреобразователь сопротивления . Здесь – сопротивление соединительного провода. Одна диагональ моста подключается к источнику питания, в другую включен нуль-индикатор (через переключатель П). При равновесии мостовой измерительной схемы, достигаемом перемещением движка реостата , в измерительной диагонали . При этом

, (2.6.1)

 

 

. (2.6.2)

Из (2.6.I) и (2.6.2) получим:

. (2.6.3)

Так как при , и выражение (2.6.3) будет иметь вид:

. (2.6.4)

Откуда:

Рис. 2.6.2
. (2.6.5)

 

При и будем иметь:

,

т.е. изменение сопротивления можно уравновесить сопротивлением реохорда .

Для исключения влияния колебаний температуры окружающей среды на результаты показаний применяют так называемую трехпроводную систему подключений термометров сопротивления. Для такой схемы можно записать следующее соотношение:

.

При , т.е. сопротивление термометра не зависит от сопротивления соединительных проводов.

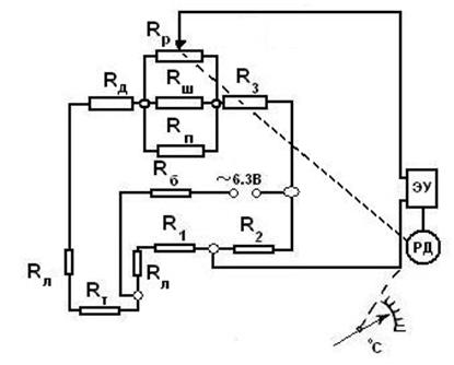
В автоматических уравновешенных мостах (Рис.2.6.3) перемещение движка реохорда производится с помощью реверсивного двигателя (РД). Питание моста осуществляется переменным током 6, 3 В. При разбалансе моста на его выходе (входе в электронный усилитель ЭУ) появляется сигнал, который усиливается до величины, достаточной для приведения в действие реверсивного двигателя, связанного с движком реохорда и стрелкой показывающего прибора. Перемещение реохорда приводит в равновесие мостовую схему, а положение стрелки определяет величину измеряемой температуры.

Предел допустимой основной погрешности автоматических мостов: ±0, 25; ±0, 5; ±1, 0 и ±1, 5 % (в % нормирующего значения).

При расположении движка в крайнем левом положении (рис. 6.4.4):

.

При изменении температуры

;

,

где – сопротивление участка реохорда левее точки а

,

т.е. зависимость нелинейна.

Но при , шкала приближается к линейной.

Для схемы, представленной на рис. 2.6.5:

;

 

где ; – сопротивление реохорда справа от точки а.

.

Из этого уравнения видно, что функция является линейной, что позволяет обеспечить равномерную шкалу.

 

 
 
Рис. 2.6.6

 


В трехпроводной системе (рис. 2.6.6) сопротивление приборов распределяется в смежных плечах моста. Сопротивление линии Ом. В положении равновесия:

;

добавочное сопротивление Ом;

; ;

или 100 Ом±0, 1 Ом,

где – сопротивление участка реохорда правее движка.

 

;

Ом.

 

Для эксплуатационных условий:

 

.

 

Наличие в мостовой измерительной схеме реохорда снижает его надежность (загрязнение, окисление и т.д.). Свободными от этих недостатков являются мостовые схемы с бесконтактными компенсирующими элементами.

Для контроля температуры в комплекте с термометрами сопротивления используются также логометры – приборы магнитоэлектрической системы.

Измерительный механизм логометра состоит из двух рамок, помещенных в воздушный зазор между полюсами постоянного магнита и сердечником. При этом воздушный зазор между ними сделан неравномерным и, соответственно, не постоянна магнитная индукция в зазоре.

Рамки поворачиваются в воздушном зазоре в пределах рабочего угла. При этом сердечник закреплен неподвижно. Выточки полюсных наконечников сделаны также по окружности, но центр смещен по отношению к центру сердечника так, что воздушный зазор убывает от центра полюсных наконечников к их краям, а магнитная индукция возрастает приблизительно по квадратичному закону от центра к краям полюсных наконечников. Рамки включены так, что их вращающие моменты направлены навстречу друг к другу. Подвод тока к рамкам производится с помощью маломоментных спиральных волосков.

 

и – манганиновые резисторы.

Если , то и при симметричном расположении рамок относительно полюсных наконечников вращающие моменты и равны. При увеличении увеличивается и подвижная часть поворачивается по часовой стрелке. При этом рамка с большим вращающим моментом попадает в более слабое магнитное поле и ее момент уменьшается, момент же рамки будет увеличиваться.

При определенном угле поворота: или при : ;

откуда .

Рис. 2.6.8  
Учитывая, что – функция угла или , .

 

 

Принимая во внимание, что

и ,

 

.

 

Так как, , то .

При учете моментов, накладываемых токоподводящими вводами и трения, изменение напряжения питания на не вызывает изменение показаний логометра.

Для возврата стрелки в исходное положение в логометрах установлен специальный электромагнитный возвратитель.

Недостатком этой схемы является необходимость включения, для уменьшения температурной погрешности, последовательно с рамками манганиновых резисторов и с большим сопротивлением, что снижает чувствительность измерений.

 

При и потенциалы точек и одинаковы, токи и равны и противоположны.

При увеличении потенциал повышается. При этом уменьшается, а увеличивается. Таким образом, чувствительность системы выше.

При и можно записать:

 

,

 

где

 

 

при : .

При нарушении равновесия на показания прибора влияет изменение температуры окружающей среды.

Вместо включают последовательно манганиновое и медное .

;

,

где – сопротивление рамок при °С.

 

,

где ;

 

;

;

.

При соотношение токов не будет зависеть от окружающей температуры. Это выражение является условием температурной компенсации.

 

.

 

Полная температурная компенсация достигается только в одной точке.

В основу промышленного прибора положена симметричная мостовая логометрическая схема..

Логометры рассчитаны на подключение к ним термометров сопротивления по двухпроводной и трехпроводной схемам при определенных значениях (5 или 15 Ом (). Сопротивление каждой подгоночной катушки составляет .

Подгонка сопротивлений осуществляется раздельно для левого и правого проводов с помощью катушек и . Измерение сопротивления производится переносной поверочной установкой или переносным мостом с погрешностью ±0, 2%.

При 2-проводной схеме подгонку сопротивления осуществляют с помощью одной катушки . Сопротивление или 7.5 ±0.01 Ом.

Для периодической поверки прибора подключают сопротивление .При этом соединяются клеммы 2 и 4 и закорачивают термометр сопротивления.

Значение дополнительной погрешности, обусловленной изменением сопротивления линии от температуры (при 3-проводной схеме)

 

.

 
 

Рис. 2.6.9

 

Изменение показаний может быть также вызвано наличием внешних магнитных полей.

Для подключения к логометру нескольких термометров сопротивления применяют многоточечные щеточные поворотные переключатели типа ПМТ.

При применении компенсационного метода измерения сопротивлений используется образцовый резистр класса точности 0, 01 .

Измерительный ток устанавливается с помощью реостата и контролируется потенциометром по падению напряжения на .

; ;

.

Измерительный ток имеет величину 2 мА, a значения и не превышают нескольких десятков милливольт.

 
 

Рис. 2.6.10

 

При измерении неуравновешенным мостом (рис. 2.6.8)

; ;

, так как ,

и ;

.

Неуравновешенные мосты обеспечивают возможность непосредственного отсчета показаний с помощью включенного в диагональ моста измерительного прибора.

 

Сила тока, протекающая в измерительной диагонали:

Рис. 2.6.9

,

где .

 

Из уравнения видно, что сила тока зависит от напряжения питания моста. Контроль величины напряжения осуществляется с помощью сопротивления . При этом с помощью реохорда стрелка устанавливается на контрольную отметку.

 


Поделиться с друзьями:

mylektsii.su - Мои Лекции - 2015-2026 год. (0.521 сек.)Все материалы представленные на сайте исключительно с целью ознакомления читателями и не преследуют коммерческих целей или нарушение авторских прав Пожаловаться на материал