Студопедия

Главная страница Случайная страница

КАТЕГОРИИ:

АвтомобилиАстрономияБиологияГеографияДом и садДругие языкиДругоеИнформатикаИсторияКультураЛитератураЛогикаМатематикаМедицинаМеталлургияМеханикаОбразованиеОхрана трудаПедагогикаПолитикаПравоПсихологияРелигияРиторикаСоциологияСпортСтроительствоТехнологияТуризмФизикаФилософияФинансыХимияЧерчениеЭкологияЭкономикаЭлектроника






Расходомеры скоростного напора






Основаны на зависимости динамического напора от скорости потока среды. В соответствии с уравнением Бернулли динамическое давление:

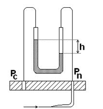
Рис. 4.2.1

,

где – полный напор;

– статический напор;

– плотность среды.

Откуда:

С помощью двух трубок измеряют: правой – полное давление и левой – статическое.

Динамическое давление:

,

где – разность уровней жидкости в дифманометре;

– плотность жидкости в дифманометре.

Тогда:

.

Этот способ контроля был впервые применен Пито. В настоящее время используются (как в лабораторной, так и в производственной практике) двойные трубки (на рис. 4.2.1– нормальная двойная скоростная трубка с полусферическим наконечником).

Для учета конструктивных особенностей трубок в формулу для вводится поправочный коэффициент , определяющийся экспериментально.

Для измерения расхода необходимо знать , поэтому предварительно определяют , устанавливая трубку в центре трубопровода; затем определяют (отнесенное к ), после этого по графику отношение , а отсюда .

Относительная сложность определения среднего скоростного напора, возможность засорения каналов трубки и незначительная величина перепада существенно сужают область изменения рассмотренного метода.

 


Поделиться с друзьями:

mylektsii.su - Мои Лекции - 2015-2026 год. (1.993 сек.)Все материалы представленные на сайте исключительно с целью ознакомления читателями и не преследуют коммерческих целей или нарушение авторских прав Пожаловаться на материал