Студопедия

Главная страница Случайная страница

КАТЕГОРИИ:

АвтомобилиАстрономияБиологияГеографияДом и садДругие языкиДругоеИнформатикаИсторияКультураЛитератураЛогикаМатематикаМедицинаМеталлургияМеханикаОбразованиеОхрана трудаПедагогикаПолитикаПравоПсихологияРелигияРиторикаСоциологияСпортСтроительствоТехнологияТуризмФизикаФилософияФинансыХимияЧерчениеЭкологияЭкономикаЭлектроника






Перекрытые деформационные швы






В перекрытых швах горизонтальные перемещения концов пролётных строений компенсируются изменением положения стального элемента, перекрывающего зазор в уровне проезда, относительно окаймления или оси шва.

Различают следующие конструкции швов этого типа: со стальным скользящим листом, с гребенчатой плитой и с откатными плитами.

В отечественной практике наибольшее распространение получили швы со скользящими стальными листами (скользящие швы). Эти швы сравнительно просты по конструкции и включают в себя три основных узла: перекрывающий лист с элементами крепления, окаймление с анкеровкой и водоотводные устройства.

Конструкция шва с плоским скользящим листом имеет окаймление с ребрами жесткости, к которым приварены более надёжные арматурные анкера. Скользящий лист своим подвижным концом опирается на резиновую прокладку и прижат пружинами, размещенными в обоймах.

Обоймы заполняются густой незамерзающей смазкой, чем им придается герметичность. Доступ в обоймы для контроля и замены смазки осуществляется через винтовые пробки в скользящих листах. Лоток шва принят замкнутого очертания с уклоном не менее 5% и выполняется, как правило, из широкополосной технической резины толщиной 5 мм. Резина прикрепляется путём обжатия её болтами между стальными полосами, прикреплёнными в свою очередь к окаймлению.

Рис. 16.27. Перекрытые деформационные швы со скользящими стальными листами

а – с плоским листом; б – со скошенным листом; в – с плавающим скошенным листом

1 – окаймление; 2 – скользящий лист; 3 – пружина в обойме; 4 – резина; 5 – ребро жесткости окаймления; 6 – анкеры; 7 – мастика; 8 – защитный слой; 9 – скошенный конец листа;

10 – водоотводный лоток; 11 – высокопрочный болт; 12 – прижимная балка

 

Эти швы рассчитаны на перемещения до 100 мм. Поэтому при полном раскрытии шва (сокращении длины пролётного строения) на проезжей части возникало препятствие для движения транспорта в виде поперечной штробы шириной 100 мм и глубиной до 25-30 мм, что вызывало необходимость снижения скорости движения.

На мостах с перемещениями больше 100 мм применялся шов со скошенным скользящим листом, который несколько сглаживал эту неровность, не уменьшая её глубину. Шов этого типа имеет те же конструктивные элементы: скользящий лист, имеющий скос на одном конце, окаймления, одно из которых имеет наклонную поверхность в сторону зазора, пружины прижатия в обоймах, анкеровку окаймления и водоотводный лоток. Изменяя конфигурацию скоса листа и угол наклона окаймления к уровню проезда, можно создать конструкцию на различные перемещения. На практике такие швы использовались для мостов с перемещениями до 200 мм.

Деформационные швы с плавающим скошенным листом допускают перемещения до 300 мм. Для этого швы, кроме ранее названных конструктивных элементов, имеют распределительное устройство, которое обеспечивает постоянство положения шва относительно оси зазора. Обоймы с натяжными пружинами расположены по оси зазора и закреплены на распределительных устройствах. В результате перемещаются оба конца листа и, соответственно, оба окаймления имеют требуемый наклон.

Сборка швов этой конструкции осуществлялась, как правило, в заводских условиях в специальных кондукторах, в которых они и транспортировались к месту установки. Шов требуемой длины собирался по ширине проезжей части пролётного строения. При этом скользящий лист сваривался из секций в единую полосу.

Существенным недостатком шва такого типа является геометрическая изменяемость его системы, что приводит к угону плавающего листа и разрушению крепежных элементов.

В отечественной практике достаточно широко применяются гребёнчатые деформационные швы с перемещениями до 400 мм. Эти швы разделяются на два типа: с консольными гребёнчатыми плитами и со скользящей гребёнкой.

Консольные гребёнки не требуют устройств прижатия, а скользящие оборудованы соответствующими устройствами прижатия с пружинами. Окаймление в этих конструкциях связано с гребёнками жестко или шарнирно.

Предполагается, что зубья скользящей гребенки будут скользить по окаймлению всей своей плоскостью. Однако наличие песка и каменной крошки, попадающих в пустоты между зубьями под скользящую гребёнку искажает предусмотренную схему работы плиты.

 

Рис. 16.28. Деформационные швы с гребенчатыми плитами

а – консольными; б – скользящими

1 – асфальтобетонное покрытие; 2 – болт; 3 – консольная гребенчатая плита; 4 – окаймление;

5 – монолитный бетон; 6 – резиновая прокладка; 7 – скользящая гребенчатая плита;

8 – ребро жесткости; 9 – анкер; 10 – пружина в обойме; 11 – прижимная балка;

12 – ниша в окаймлении для прижимной балки

В швах с консольными гребёнками слабым местом являются промежутки между зубьями. Довольно часто имеет место заклинивание здесь твердых предметов (щебня, проволоки и пр.) Имеющиеся щели, как правило, забиты грязью, которая не позволяет гребёнке перемещаться на расчетную величину, в результате чего может разрушаться анкеровка или отрываться плиты.

По сравнению со швами со скользящими листами, которые изначально не отвечают требованиям комфортности и безопасности движения, гребёнчатые швы лишены этих дефектов, но требуют систематического ухода за ними.

До появления модульных швов с резиновыми компенсаторами при перемещениях более 400 мм использовались деформационные швы с откатными плитами.

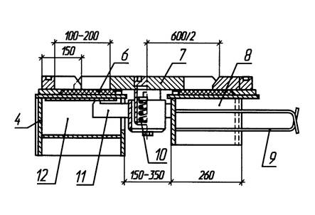
Откатной деформационный шов типа «Демаг» показан на рис. 16.29. Деформационный зазор перекрывается переходной плитой 11, а изменение величины деформационного зазора при обеспечении непрерывности езды осуществляется за счет перемещений откатной плиты 3 по опорному столику 9 и скользящего листа 5 по откатной плите 3.

 

Рис. 16.29. Откатной деформационный шов «Демаг» для перемещений 500 мм

1 – асфальтобетонное покрытие; 2 –зазор, заполняемый мастикой; 3 – откатная плита;

4 – высокопрочный болт; 5 – скользящий лист; 6 – поперечная балка; 7 – анкеры;

8 – пружина; 9 – опорный столик; 10 – опорные части; 11 – переходная плита

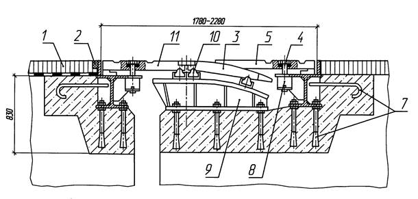
В отечественной практике имеются примеры применения откатных деформационных швов с шарнирно сочлененными плитами с перемещениями до 600 мм (16.30).

Стальные плиты, шарнирно соединённые между собой, одной стороной прикреплены к концу пролётного строения. Другая сторона входит в полость, устроенную в верхней части устоя, перекрытую сверху листом со скошенным краем, которым лист опирается на звенья стальных плит.

Плиты поддерживаются стальной подушкой с криволинейной верхней поверхностью, по которой эти звенья скользят при перемещениях конца пролётного строения.

Рис. 16.30. Откатной деформационный с шарнирно-сочлененными откатными плитами

1 – покрытие проезжей части; 2 – окаймление; 3 – скользящий лист; 4 – стакан для пружины;

5 – опорный столик; 6 – антифрикционный материал (фторопласт); 7 – откатная плита;

8 – резиновые опорные прокладки; 9 – переходная плита; 10 – пролетное строение;

11 – водоотводный лоток

 


Поделиться с друзьями:

mylektsii.su - Мои Лекции - 2015-2026 год. (1.281 сек.)Все материалы представленные на сайте исключительно с целью ознакомления читателями и не преследуют коммерческих целей или нарушение авторских прав Пожаловаться на материал