Студопедия

Главная страница Случайная страница

КАТЕГОРИИ:

АвтомобилиАстрономияБиологияГеографияДом и садДругие языкиДругоеИнформатикаИсторияКультураЛитератураЛогикаМатематикаМедицинаМеталлургияМеханикаОбразованиеОхрана трудаПедагогикаПолитикаПравоПсихологияРелигияРиторикаСоциологияСпортСтроительствоТехнологияТуризмФизикаФилософияФинансыХимияЧерчениеЭкологияЭкономикаЭлектроника






В садовом вольере






Хорошо оборудованный садовый вольер создает наиболее оптимальные условия для жизни волнистых попугайчиков. Солнечные лучи, теплые дожди, суточное и сезонное колебание температур, поросшая травой лужайка и, что самое главное, простор для движения - все это самым благотворным образом влияет на развитие и окраску оперения птиц. Волнистый попугайчик является идеальной птицей в вольере не только потому, что это живое, общительное создание, но и потому, что благодаря своей жизнеспособности он прекрасно переносит зиму в садовом вольере в климатических условиях нашей страны (В Московском зоопарке волнистые попугайчики живут в наружном вольере и зимой, довольно легко выдерживая температуру до - 18°С. Примеч. ред).

Садовый вольер должен быть защищен от ветра с севера и запада и открыт с юга и востока. Самым удачным, на наш взгляд, было бы решение построить садовый вольер у стены дома, обращенной в южную сторону. Если такой возможности нет, защитой вольера от холодного северного и западного ветров могут быть две глухие стены.

В качестве строительного материала для сооружения вольера можно использовать деревянные бруски или профильное железо, а также трубки. Построенный из дюралевых трубок садовый вольер выглядит особенно нарядно.

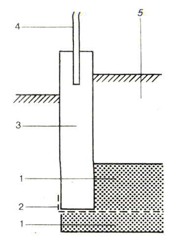
Садовый вольер необходимо охранять от нападения кошек, куниц, хорьков, ласок, а также от проникновения в него мышей, крыс, полевок, которые, почуяв зерно, собираются почти со всей округи. На выбор конструкции и тщательность изготовления вольера надо обратить особое внимание. Чехословацкие любители обычно делают так. На участке, который отводится под садовый вольер, выбирают грунт на глубину 60 см. Всю площадку засыпают щебнем, который тщательно разравнивают. Слой щебня около 10 см. На выровненный щебень кладут металлическую сетку, густо прокрашенную кузбасслаком или обмазанную жидким дегтем. Лучше всего сетку подобрать с размером ячеек, через которые бы не смогли проникнуть мыши. По периметру устанавливают кирпичный, каменный или блочный цоколь, в который запускают конструкцию вольера. На пропитанную дегтем металлическую сетку кладут еще один слой щебенки толщиной 20 см и только потом все засыпают землей (рис. 7). Получается добротный дренаж со слоем земли для посева травы и в то же время хорошая защита от подкопа грызунами.


Рис. 7. Детали конструкции вольера: 1-щебенка; 2 - решетка; 3 - цоколь; 4-конструкция вольера; 5 - земля

Выбор размеров ячеек металлической сетки для садового вольера определяется не только величиной волнистых попугайчиков, но и мерами, препятствующими проникновению мышей и ласок. Кошка, например, может лапой схватить птицу, если ячейка сетки слишком велика. Поэтому рекомендуется использовать мелкоячеистые металлические сетки с ячейками размером стороны примерно 12-14 мм. Такая сетка, покрашенная черной краской, достаточно эстетична и не мешает наблюдению за птицами. Для защиты волнистых попугайчиков от хищников вполне достаточна тонкая шестигранная или с прямоугольными ячейками металлическая сетка. Оцинкованную сетку перед покрытием масляной краской следует зачистить металлической щеткой.

При наличии двух глухих стен с наветренных сторон крышей покрывают не весь вольер, а только одну треть. Остальную часть затягивают сеткой. При сооружении же вольера небольших размеров из практических соображений крышей покрывают большую часть верха. Землю непосредственно под крышей засыпают толстым слоем речного песка, а остальную площадь засеивают травой и делают газон.

Птицы часто выщипывают неспелую траву, вследствие чего на газоне образуются оголенные участки. Целесообразно использовать для посева многолетние растения с крупными корнями, лучше всего одуванчик.

Для сооружения газона в вольере где-нибудь на лужайке выбирают участок с плотным травостоем. Для начала необходимо тщательно скосить всю траву и разделить участок лужайки на квадраты со стороной около 10 см. Острой лопатой нарезают дерн по квадратам и затем переносят дерновины в вольер, где квадраты укладывают в шахматном порядке, засыпая свободные участки землей. Траву обильно поливают, и через два - три дня никто не заметит, что газон перенесли с другого места.

Газон в садовом вольере должен быть аккуратно подстрижен, а для поддержания чистоты в помещении нужно один раз в неделю его тщательно убирать - удалять накопившиеся в песке мусор, помет и шелуху от зерна. Только содержащейся в чистоте вольер может быть приятным и здоровым домом для птиц. Кроме того, состояние вольера и находящихся в нем птиц являются хорошей рекомендацией любителю.

В последние годы волнистые попугайчики часто подвергаются нападению червей-паразитов; круглые черви паразитируют в желудке и кишечнике птиц. Аскарида - опасное заболевание, которое может быстро распространиться среди птиц. Помет заболевших птиц содержит яйца аскариды, которые птица выделяет в большом количестве. Глисты (филярии) часто паразитируют в разных частях пищеварительного тракта птиц и распространяются также очень быстро. В Чехословакии были случаи заболевания волнистых попугайчиков этими болезнями. С целью профилактики и предупреждения распространения заболеваний рекомендуется использовать лекарственные препараты и строго соблюдать чистоту в помещениях, где содержатся волнистые попугайчики. Конечно, при подозрении на заболевание необходимо отказаться от красивых газонов в вольере и сделать бетонный пол с наклоном для стока воды и ежедневно мыть его и дезинфицировать все помещение.

Высаживать ветки кустарников или саженцы деревьев в вольере не имеет смысла, так как за короткое время волнистые попугайчики их уничтожают. Достаточно прикреплять зеленые ветки в углах вольера и часто заменять их свежими. Жердочки для ночевки располагают обычно горизонтально под потолком и немного выше тех, на которых птицы сидят днем.

Кормушки (в большинстве своем автоматические) располагают в крытой части вольера на стене таким образом, чтобы к ним не добрались мыши, а также в них не попадали капли дождя, даже при ветре. В случае, если зерно все же намокнет, его раскладывают тонким слоем на парусину и просушивают. Сырое зерно непригодно в пищу волнистым попугайчикам. Кроме того, оно не проскальзывает вниз через щель автоматической кормушки. Обыкновенные кормушки с разными видами корма для волнистых попугайчиков в лоточках, мисках или тарелках оставляют на полочке, также защищенной от мышей и дождя. Там же постоянно находится отдельная кормушка для минеральных веществ. В задней стене вольера необходимо сделать дверку высотой примерно 1 м для того, чтобы можно было войти в вольер для чистки помещения, наблюдения за птицами и замены веток свежими. Дверка должна быть не слишком высокой, так как при входе человека в вольер птицы могут вылететь через нее. В нижней ее части делают небольшую опускающуюся дверку, через которую птицам ежедневно дают свежую питьевую воду. На высоте примерно 1, 5 м в том месте, где будет кормовая полочка или автоматическая кормушка, устраивают еще одну откидную дверку, через которую птицам досыпают зерно и ежедневно выдают специальные корма, например яичную смесь, не нарушая при этом спокойствия птиц (рис. 8).


Рис. 8. Задняя стена вольера и ее разрез

Автоматическую поилку для комнатного вольера (описание его было дано в предыдущей главе) можно с таким же успехом использовать в садовом вольере, но он должен быть безусловно большего размера.

Если в саду есть несколько расположенных рядом вольеров, из практических соображений целесообразно сделать за ними небольшой крытый коридор, из которого обеспечивается уход за птицами. Такой коридор предотвращает вылет птиц через дверки, а также является удобным местом для наблюдения за ними. Для этого в стенке вольера устраиваются небольшие окошки, закрываемые темными шторками.

Гнездовья в большинстве случаев прикрепляют в крытых местах садового вольера. Иногда их подвешивают снаружи.

Для волнистых попугайчиков, которых содержат в садовых вольерах, наибольшую опасность представляют кошки и совы. Ухоженная домашняя кошка - это симпатичное чистоплотное животное, и против ее содержания в общем никто не возражает. В сараях, амбарах, в хлеву и других хозяйственных постройках наличие кошки в качестве регулятора грызунов вполне обоснованно, и в этом случае мы вынуждены примириться с тем, что ей удается иногда поймать птицу. Невозместимый ущерб, с которым мы, как любители и защитники птиц не должны мириться, наносят бездомные кошки, живущие в городских парках или на садово-дачных участках. Кошки опасны тем, что приходят к вольерам ночью, пугают птиц, которые в панике начинают метаться. Существует несколько способов защиты птиц от нападения этих хищников. Для изготовления конструкции садового вольера можно использовать деревянные бруски толщиной 4-5 см или кругляк и обтянуть их с внутренней и внешней стороны металлической сеткой. Конечно, через такую двойную оетку не очень удобно наблюдать за птицами, но зато доступ кошкам и совам к птицам будет закрыт.

Есть еще один способ. Он состоит в том, что крытую часть вольера отгораживают от остальной части застекленной стеной, которая пропускает достаточно дневного света. На этом защищенном пространстве следует разместить все гнездовья, развесить как можно больше веток, и только здесь давать птицам корм и воду. В верхней части перегородки нужно сделать летное отверстие - небольшое окошко размером примерно 20X20 см с задвижкой, управляемой снаружи при помощи веревочки или тросика. Птицы быстро научатся ночевать в этом безопасном отсеке. Остается только не забывать на ночь плотно закрывать окошко на задвижку.

Если любители хотят создать благоприятные условия для зимовки волнистых попугайчиков в садовом вольере, оборудование такого безопасного для птиц помещения совершенно необходимо.

Одним из простых способов защиты садовых вольеров также является присутствие сторожевой собаки, лучше всего терьера, которого приучают ночевать в саду. Присутствие собаки пугает кошку, и она избегает сада. Что же касается сов, защитой от их проникновения в вольер может быть колючая проволока или ветки растений с острыми шипами и т. п.


Поделиться с друзьями:

mylektsii.su - Мои Лекции - 2015-2026 год. (1.827 сек.)Все материалы представленные на сайте исключительно с целью ознакомления читателями и не преследуют коммерческих целей или нарушение авторских прав Пожаловаться на материал