Студопедия

Главная страница Случайная страница

КАТЕГОРИИ:

АвтомобилиАстрономияБиологияГеографияДом и садДругие языкиДругоеИнформатикаИсторияКультураЛитератураЛогикаМатематикаМедицинаМеталлургияМеханикаОбразованиеОхрана трудаПедагогикаПолитикаПравоПсихологияРелигияРиторикаСоциологияСпортСтроительствоТехнологияТуризмФизикаФилософияФинансыХимияЧерчениеЭкологияЭкономикаЭлектроника






Прибор: Бестрансформаторный стабилизированный источник питания на интегральном стабилизаторе на 12 вольт 0.3 ампера

Бюджетно образовательное учреждение Омской области

Среднего профессионального образования

“ Омский государственный колледж управления и профессиональных технологий ”

 

 

Прибор: Бестрансформаторный стабилизированный источник питания на интегральном стабилизаторе на 12 вольт 0.3 ампера

 

 

Выполнил:

Обучающийся группы РМ-36

Рассказов Владислав Борисович

Профессия: «Регулировщик Радиоэлектронной -

аппаратуры и приборов»

Руководитель:

Поспеева Людмила Николаевна

 

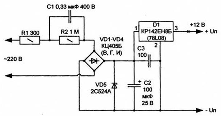
Назначение

Прибор предназначен для преобразования электрического тока из переменной сети 220 вольт в постоянный ток 12 вольт, стабилизация тока происходит за счёт интегрального стабилизатора 78L08

 

 

Перечень радиоэлементов

Название радио элемента Маркировка радио элемента Позиция Кол-во
Резистор 300 Ом МЛТ-0.25 R1  
Резистор 1 мОм МЛТ-0.25 R2  
Конденсатор 0.33 мкф 400В C1  
Конденсатор К50 200 мкф 25В C2  
Конденсатор 100 мкф C3  
Диодный мост или диоды КЦ405Б или диоды КД105Б, Г. КД103А, КД202Е. VD1-VD4 1-4
Стабилизатор интегральный 78L08 (98-01г) или аналог КР142ЕН8Б D1  
Стабилитрон 2С524А VD5  

 

В качестве диодного моста можно использовать диоды КД105Б, Г КД103А или КД202Е.

В качестве аналога Интегрального стабилизатора можно использовать КР142ЕН8Б

Рекомендации

Распаивается все на печатной плате из текстолита, монтаж устройства производится в не металлическом корпусе

Принципиальная схема

 

 

Топология

<== предыдущая лекция | следующая лекция ==>
 | Обзор каталога № 12 2015
Поделиться с друзьями:

mylektsii.su - Мои Лекции - 2015-2026 год. (0.393 сек.)Все материалы представленные на сайте исключительно с целью ознакомления читателями и не преследуют коммерческих целей или нарушение авторских прав Пожаловаться на материал