Студопедия

Главная страница Случайная страница

КАТЕГОРИИ:

АвтомобилиАстрономияБиологияГеографияДом и садДругие языкиДругоеИнформатикаИсторияКультураЛитератураЛогикаМатематикаМедицинаМеталлургияМеханикаОбразованиеОхрана трудаПедагогикаПолитикаПравоПсихологияРелигияРиторикаСоциологияСпортСтроительствоТехнологияТуризмФизикаФилософияФинансыХимияЧерчениеЭкологияЭкономикаЭлектроника






Пьезометрические уровнемеры






 

В пьезометрических системах измерения уровня для продувания через трубку помещённую в жидкость, дозированного расхода воздуха наиболее часто применяют регуляторы расхода воздуха типа РРВ-1. Принцип действия этого регулятора основан на автоматическом поддержании постоянного перепада давления на дросселе, в результате чего обеспечивается постоянный расход воздуха через этот дроссель.

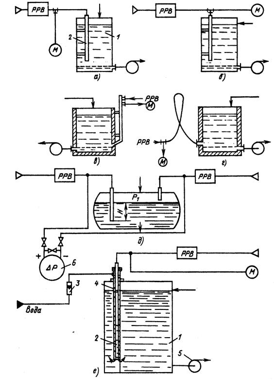
Принципиальная пьезометрическая схема измерения уровня в открытом резервуаре представлена на рис. 2, а, б, в, г.

На рис 2, д показана принципиальная пьезометрическая схема измерения уровня жидкости в резервуаре, находящемся под давлением. Для исключения влияния давления в резервуаре на показания прибора, измеряющего уровень жидкости, применяется дифференциальный метод измерения с двумя регуляторами расхода. От одного регулятора расхода воздух подаётся в пьезометрическую трубку, от другого в верхнюю часть резервуара над жидкостью. Разность давлений в трубках, пропорциональная уровню жидкости, измеряется дифманометром.

В системах измерения нижний конец пьезотрубки должен находится на нижнем контролируемом уровне жидкости, но не ниже 80 мм от дна резервуара.

Расход воздуха устанавливается минимальным, чтобы перепад давления на пьезотрубке был возможно меньшим, так как это определяет погрешность измерения пьезометрическим методом.

Минимальный расход воздуха обеспечивается постоянным, без запаздывания, выходом воздуха из пьезометрической трубки при изменениях уровня. Обычно расход воздуха принимается равным 0.1 – 0.2 м3/ч.

Если пренебречь перепадом давления на пьезометрической трубке, то уровень в резервуаре

,

где Р – давление на манометре М или перепад давления на дифманометре; ρ – плотность жидкости; g – ускорение свободного падения.

В случае, когда измеряется уровень в резервуаре, находящемся под избыточным давлением, давление питания регулятора расхода воздуха, подающего воздух в пьезотрубку, должно быть:

,

где Ризб – избыточное давление, кПа; Нмаксρ g – максимальное гидростатическое давление столба жидкости, кПа.

 

Рис. 2

На рис. 2, е показан пример обвязки и монтажа пьезометрического уровнемера с подачей промывочной воды в защитную трубу. В этом случае защищается от «обрастания» нижний конец пьезотрубки, который оказывается в зоне промывочной воды и не контактирует с измеряемой жидкостью.

 


Поделиться с друзьями:

mylektsii.su - Мои Лекции - 2015-2026 год. (0.683 сек.)Все материалы представленные на сайте исключительно с целью ознакомления читателями и не преследуют коммерческих целей или нарушение авторских прав Пожаловаться на материал