Студопедия

Главная страница Случайная страница

КАТЕГОРИИ:

АвтомобилиАстрономияБиологияГеографияДом и садДругие языкиДругоеИнформатикаИсторияКультураЛитератураЛогикаМатематикаМедицинаМеталлургияМеханикаОбразованиеОхрана трудаПедагогикаПолитикаПравоПсихологияРелигияРиторикаСоциологияСпортСтроительствоТехнологияТуризмФизикаФилософияФинансыХимияЧерчениеЭкологияЭкономикаЭлектроника






Теплотехнический расчет наружных стен






Методику теплотехнического расчета наружных стен по температурным полям рассмотрим на следующем примере.

Пример 1

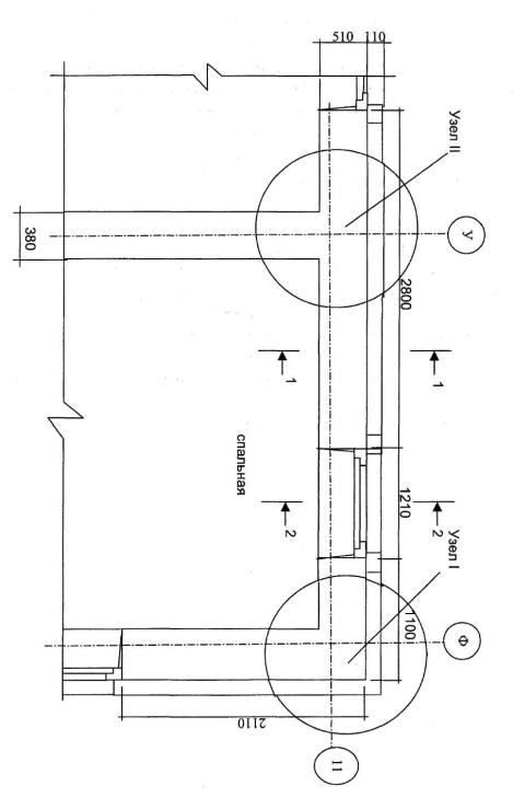
Выполнить теплотехнический расчет фрагмента наружной стены 2-х секционного 12-ти этажного жилого дома, план которого приведен на рис. 4.1.

Наружная стена выполнена из керамического кирпича толщиной 510 мм, утепленная пенополистиролом марки ПСБС-35 с применением фасадной системы. В соответствии с противопожарными требованиями выполнены горизонтальные противопожарные рассечки из минераловатных плит ФАСАД БАТТС шириной 150 мм через промежутки равные высоте этажа, а также все оконные проемы по периметру обрамляются полосами из минераловатных плит.

Исходные данные:

1. Район строительства - г. Самара.

2. Температура наиболее холодной пятидневки, t ext = -28°C.

3. Средняя температура за отопительный период, .

4. Продолжительность отопительного периода, Zht = 201 сут.

5. Температура воздуха внутри здания, t int = +20°С.

6. Относительная влажность воздуха, φ int = 55%.

7. Значение среднемесячной температуры воздуха и парциального давления водяного пара приведены в таблице 4.1.

8. Фрагмент глади стены приведен на рис.4.2.

Рис. 4.1. План фрагмента наружной стены угловой комнаты 2-х секционного 12-ти этажного жилого дома в г. Самаре

Таблица 4.1

Параметры наружного воздуха для г. Самары

Месяц I II III IV V VI VII VIII IX X XI XII
Температура, °С -12, 2 -11, 4 -5, 2 6, 0 14, 5 19, 1 26, 8 18, 8 12, 7 -4, 7 -3, 4 -9, 2
Парциальное давление, ГПа 2, 6 2, 6 3, 7 6, 4 8, 4 13, 3 15, 3 13, 5 9, 9 6, 8 4, 6 3, 2
Рис. 4.2. Фрагмент глади стены. 1 слой - внутренний отделочный слой δ 1 = 0, 02 м; γ 1 = 1 600 кг/м3; λ 1 = 0, 7Вт/(м·°С); μ 1 = 0, 12мг/(м·ч·Па). 2 слой - керамический полнотелый кирпич δ 2 = 0, 51 м; γ 2= 1 800 кг/м3; λ 2 = 0, 7 Вт/(м·°С); μ 2 = 0, 11 мг/(м·ч·Па). 3 слой - утеплитель (пенополистирол ПСБС-35) δ 3 = 0, 11 м; γ 3 = 35 кг/м3; λ 3 = 0, 04 Вт/(м·°С); μ 3 = 0, 0147 мг/(м·ч·Па). 4 слой - фасадная система ЛАЭС δ 4 = 0, 008 м; γ 4 = 1 800 кг/м3; λ 4 = 0, 76 Вт/(м·°С); μ 4= 0, 05 мг/(м·ч·Па).
                             

Порядок расчета:

1. Требуемое сопротивление теплопередаче наружной стены, исходя из санитарно-гигиенических и комфортных условий, определяем по формуле (4.1):

2. Требуемое сопротивление теплопередаче наружной стены, исходя из условия энергосбережения, находим по табл. 4 СНиП 23-02 по величине градусо-суток отопительного периода.

(4.8)

где t int - то же, что и в формуле (4.1);

и Zht - средняя температура, °С, и продолжительность отопительного периода, сут.

D d = (20 + 5, 5)·201 =5 125 (°С·сут).

3. Из двух значений и принимаем наибольшее значение .

4. Определяем требуемую толщину утеплителя из условия :

(4.9)

Принимаем r = 0, 92.

Принимаем (δ 3)ф = 0, 11 м.

5. Определяем фактическое сопротивление теплопередаче

 

 


Поделиться с друзьями:

mylektsii.su - Мои Лекции - 2015-2026 год. (1.241 сек.)Все материалы представленные на сайте исключительно с целью ознакомления читателями и не преследуют коммерческих целей или нарушение авторских прав Пожаловаться на материал