Студопедия

Главная страница Случайная страница

КАТЕГОРИИ:

АвтомобилиАстрономияБиологияГеографияДом и садДругие языкиДругоеИнформатикаИсторияКультураЛитератураЛогикаМатематикаМедицинаМеталлургияМеханикаОбразованиеОхрана трудаПедагогикаПолитикаПравоПсихологияРелигияРиторикаСоциологияСпортСтроительствоТехнологияТуризмФизикаФилософияФинансыХимияЧерчениеЭкологияЭкономикаЭлектроника






Поилки для свиней






С осковые поилки долговечны, надежны, сокращают потери воды на 20 % по сравнению с чашечными, рисунок 24. Сосковые поилки присоединяют непосредственно к водопроводной сети под углом 20—30° к горизонтали через муфту, уголок или тройник так, чтобы носок корпуса был сверху соска.

 

Рисунок 24 – Сосковые поилки для свиней

 

Норма поголовья на одну поилку при кормлении сухими кормами — 25—30, влажными — 50—60 голов. Свиньи привыкают к сосковым поилкам за 1—2 дня.

Автопоилка сосковая ПБС-1 п редназначена для взрослых свиней при станочном и бесстаночном групповом и индивидуальном содержании, а также на летних выгульных площадках.

Автопоилка (Рисунок 25) состоит из корпуса в виде отрезка трубы длиной 105 и диаметром 30 мм, который крепится на резьбе к водопроводной трубе под углом 45-60 градусов к вертикали. Внутри корпуса имеется шток, нажимая на который животное пьет воду. По окончании выпойки шток с клапаном занимают положение " закрыто".

1 - корпус; 2, 4 - резиновые прокладки; 3 - сосок; 5 - клапан; 6 - амортизатор; 7 - упор.

Рисунок 25 - Автопоилка сосковая ПБС-1

 

Автопоилка сосковая ПБП-1 о бслуживает поросят при различных способах содержания. Устройство и работа аналогична поилке ПБС-1, но комплектующие детали меньших размеров.

Автопоилка индивидуальная самоочищающаяся ПСС-1 о бслуживает одно животное. Состоит (Рисунок 26) из чаши с шарнирно закрепленной

1 - поильная чаша; 2 - крышка клапана; 3 - седло клапана; 4 - клапан; 5 - прокладка уплотнительная; 6 - стакан; 7 - амортизатор; 8 - регулировочный болт нажимного рычага; 9 - планка прижимная; 10 - пружина; 11 - ось крышки поильной чаши; 12 - регулировочный болт хода клапана; 13 - нажимной рычаг; 14 - крышка поильной чаши

Рисунок 26 – Поилка ПСС-1

крышкой, в верхней части корпуса чаши установлен приемник воды с клапанным механизмом, при нажатии животного мордой на крышку (педаль) она поворачивается относительно шарнира и нажимает на стержень клапана регулировочным болтом. Клапан сжимает амортизатор и отходит от седла, пропуская воду из водопровода в чашу.

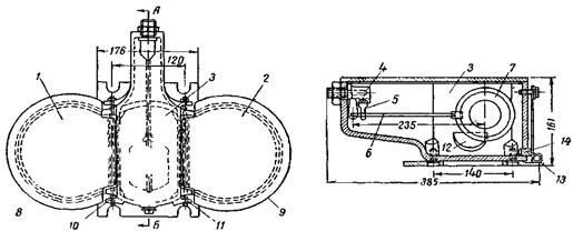
Автопоилка спаренная ПАС-2А для одновременного поения двух свиней.

Снабжена чугунным корпусом, образующим две поильные чаши и поплавковую камеру между ними (Рисунок 27). В поплавковой камере поплавок соединен с за-

1, 2 - чашки поилки; 3 - поплавковая камера; 4 - угольник; 5 - игольчатый клапан; 6 - рычаг; 7 - поплавок; 8, 9 - крышки чашек; 10, 11 - оси; 12 - окно; 14 - пружина.

Рисунок 27 - Автопоилка ПАС-2А

 

порным клапаном, регулирующим поступление воды в камеру и поильные чаши, соединенные с последним отверстиями. Когда воды в чашах нет поплавок в крайнем нижнем положении, а клапан открыт. Вода заполняет поплавковую камеру и через соединительные отверстия поступает в поильные чаши. При верхнем уровне в поильных чашах поступление воды прекращается.

 


Поделиться с друзьями:

mylektsii.su - Мои Лекции - 2015-2026 год. (0.632 сек.)Все материалы представленные на сайте исключительно с целью ознакомления читателями и не преследуют коммерческих целей или нарушение авторских прав Пожаловаться на материал