Студопедия

Главная страница Случайная страница

КАТЕГОРИИ:

АвтомобилиАстрономияБиологияГеографияДом и садДругие языкиДругоеИнформатикаИсторияКультураЛитератураЛогикаМатематикаМедицинаМеталлургияМеханикаОбразованиеОхрана трудаПедагогикаПолитикаПравоПсихологияРелигияРиторикаСоциологияСпортСтроительствоТехнологияТуризмФизикаФилософияФинансыХимияЧерчениеЭкологияЭкономикаЭлектроника






Гидрозамки






Гидрозамком называется направляющий гидроаппарат, предназначенный для пропускания потока рабочей жидкости в одном направлении при отсутствии управляющего воздействия, а при наличии управляющего воздействия - в обоих направлениях.

По числу запорно-регулирующих элементов гидрозамки могут быть одно- и двухсторонними.

Рис.7.23. Односторонний гидрозамок
а - подача рабочей жидкости к полости А; б - течение жидкости из полости А в полость Б;
в - подача рабочей жидкости в полость Б; г - течение жидкости из полости Б в полость А
при наличии управляющего воздействия; д - условное обозначение одностороннего гидрозамка

Односторонний гидрозамок (рис.7.23) имеет толкатель 3, запорно-регулирующий элемент 1 и нерегулируемую пружину 2, которые образуют подобие обратного клапана. У одностороннего гидрозамка выполнено три подвода, соединенные с тремя полостями гидрозамка А, Б и У. При подаче рабочей жидкости под давлением в полость А (рис.7.23, а), открывается запорно-регулирующий элемент 1, и жидкость начинает свободно проходить в полость Б (рис. 7.23, б). Управляющее воздействие отсутствует, т.е. в полость У давление жидкости не подается. При подводе рабочей жидкости к полости Б клапан закрыт (рис.7.23, в). Однако, если одновременно с этим подвести жидкость к полости У (подать управляющее воздействие), то толкатель 3 перемещаясь вверх откроет запорно-регулирующий элемент. В этом случае жидкость будет свободно проходить из полости Б в полость А (рис.7.23, г), пока будет присутствовать управляющее воздействие в полости У.

Односторонние гидрозамки применяются для блокировки движения выходного звена гидродвигателя в одном направлении. Для блокировки выходного звена в двух направлениях применяются двухсторонние гидрозамки.

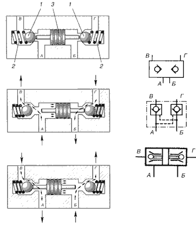
Двухсторонний гидрозамок (рис.7.24) имеет в своем корпусе два запорно-регулирующих элемента 1, две нерегулируемые пружины 2, а между ними плавающий толкатель 3 (рис.7.24, а). При подводе рабочей жидкости под давлением к каналу А открывается запорно-регулирующий элемент 1, и жидкость свободно поступает в канал В и далее к гидродвигателю (например в поршневую полость гидроцилиндра). Одновременно с этим толкатель 3 гидрозамка перемещается вправо и открывает второй запорно-регулирующий элемент, обеспечивая пропуск жидкости (например, от штоковой полости гидроцилиндра) из канала Г в канал Б и далее в сливную магистраль. Аналогично гидрозамок работает при реверсе движения выходного звена гидродвигателя. Если жидкость под давлением не подводится ни к одному из каналов (А или В), то рабочие элементы 1 снова занимают положение, указанное на рис.7.24, а. Полости гидродвигателя блокируются от слива, тем самым, блокируя выходное звено гидродвигателя от перемещений.

Рис.7.24. Двухсторонний гидрозамок:
а - нейтральное положение; б - положение толкателя при подводе
давления в канал А; в - положение толкателя при подводе давления в канал В;
г - условные обозначения

При установке гидрозамков необходимо учитывать их конструктивное исполнение (тип), способ нагружения выходного звена гидродвигателя, а также место размещения при этом дросселей с обратными клапанами - до или после гидрозамка. Дроссели с обратными клапанами свободно пропускают поток рабочей жидкости на подъем рабочего органа и ограничивают расход рабочей жидкости и соответственно скорость рабочего органа при его опускании (рис.7.25).

Рис.7.25. Схема установки одностороннего гидрозамка:
а - без дросселя с обратным клапаном; б - дросселем и обратным клапаном

Если в схеме привода гидроцилиндра грузоподъемного механизма с гидрозамком не будет установлен дроссель с обратным клапаном (рис.7.25, а), то при перемещении золотника гидрораспределителя в позицию " опускание" в гидролинии насоса и управления гидрозамком создается давление, достаточное для открытия гидрозамка. После его открытия рабочая жидкость из штоковой полости гидроцилиндра поступает на слив, и шток опускается под действием внешней нагрузки F. При этом скорость перемещения штока гидроцилиндра может превысить скорость, обусловленную подачей насоса. Тогда давление в противоположной (поршневой) полости гидроцилиндра и в гидролинии управления уменьшается, запорный элемент гидрозамка под действием пружины закрывается и движение прекращается. Затем давление в напорной гидролинии и в гидролинии управления снова возрастает, и гидрозамок открывается. Таким образом, происходят прерывистое движение рабочего органа и пульсация давления. Для исключения этого явления между гидрозамком и гидроцилиндром рекомендуется устанавливать дроссель с обратным клапаном (см. рис.7.25, б), сопротивление которого при опускании штока создает давление, необходимое для открытия обратного клапана гидрозамка и поддержания его в том положении.

Давление управления для гидрозамков составляет от 0, 02 (минимальное давление срабатывания ненагруженного клапана) до 32 МПа.

В гидросистемах мобильных машин наибольшее применение получили односторонние гидрозамки с коническим запорным элементом, имеющие условный проход 16, 20, 25 и 32 мм.


Поделиться с друзьями:

mylektsii.su - Мои Лекции - 2015-2026 год. (1.097 сек.)Все материалы представленные на сайте исключительно с целью ознакомления читателями и не преследуют коммерческих целей или нарушение авторских прав Пожаловаться на материал