Студопедия

Главная страница Случайная страница

КАТЕГОРИИ:

АвтомобилиАстрономияБиологияГеографияДом и садДругие языкиДругоеИнформатикаИсторияКультураЛитератураЛогикаМатематикаМедицинаМеталлургияМеханикаОбразованиеОхрана трудаПедагогикаПолитикаПравоПсихологияРелигияРиторикаСоциологияСпортСтроительствоТехнологияТуризмФизикаФилософияФинансыХимияЧерчениеЭкологияЭкономикаЭлектроника






Природные каменные материалы 5 страница






Добыча природного камня осуществляется в коренных (напри­мер, граниты, песчаники, известняки и др.) или рыхлых (гравий,, пески, глины) месторождениях, называемых карьерами. В зависи-: -. мости от условий залегания, качества и запасов горных пород, гео-- графического положения различают: промышленные карьеры с большими запасами качественного природного сырья с годовой производительностью более 100 000 м3 и сроком действия более 10 лет. Они не связаны со строительными объектами, хорошо осна­щены оборудованием и подъездными путями; прнтрассовые мест­ного значения карьеры, расположенные в районе строительства объектов со сроком действия менее 10 лет и более высокой себе­стоимостью продукции по сравнению с промышленными.

В зависимости от условий залегания разработка пород может производиться открытым способом, в карьерах, реже подземным (например, разработка органогенных известняков в штольнях) или подводным, при неглубоком залегании пород от поверхности воды в реке, озере. Для открытой разработки наиболее удобны горизон­тально или полого залегающие пласты пород, которые могут на­ходиться выше или ниже дневной поверхности или быть на одном уровне с нею. Наиболее экономичной считается разработка выхо­дов пород (обнажений) на склонах с небольшим объемом вскрыш­ных работ, сравнительно легким перемещением добытой породы вниз по склону и отсутствием необходимости отвода атмосферных и грунтовых вод от фронта разработки. При разработке пород учи­тываются также их прочность и трещи нов атость, на основании ко­торых определяется способ отделения породы от массива. Напри­мер, механическим способом (экскаваторами) разрабатываются осадочные породы, разбитые трещинами на небольшие отдельности; отделение глыб слоистых, трещиноватых, столбчатых пород произ­водится также механическими средствами — клиньями, лопатами;


 




слабые мягкие породы (ракушечники, известковые туфы) добыва­ют путем распиловки их толщ камнерезными машинами на блоки определенных размеров и формы. Массивные магматические по­роды разрабатываются с применением взрывчатых веществ с пред­варительным пробуриванием скважин (шпуров, бурок) по рядам с последующим заложением в них взрывчатых веществ и тщатель­ной заделкой каждой скважины. Буровзрывным способом можно получать монолиты больших размеров, а также рваный камень (бут) и щебень в массовом количестве.

Используются способы распиливания твердых пород (гранитов, мраморов и др.) с помощью механических дисковых пил, армиро­ванных пластинками твердых сплавов или абразивными порошка­ми. Вместо дисковых пил применяют баровые машины с цепными пилами, снабженными алмазными или победитовыми режущими насадками, а для отделения блоков пород от массива применяют машины с канатными пилами, при которых в качестве абразива используется кварцевый песок с водой. Вода при этом способствует образованию в массиве микротрещин по принципу «клина». В по­следние годы находит применение термогазоструйный аппарат для разработки массивов кв а рцсо держащих пород типа гранитов на блоки и другие штучные изделия. Работа аппарата основана на термическом воздействии горячей струи (свыше 2500°С)'на породу, которая получается при сгорании керосина в кислороде и выбрасы­вается из сопла камеры. При такой высокой температуре возника­ют огромные внутренние напряжения, «вызывающие резкие струк­турные деформации, сопровождаемые механическим раздроблени­ем породы.

Природный камень, доставленный из карьеров, подвергается дальнейшей обработке, распиливанию и отделке для получения различных видов поверхности: грубой или сравнительно гладкой, в частности с применением шлифования и полировки. В процессе обработки используются пневматические инструменты и станки, с помощью которых получают необходимую фактуру (вид поверхно­сти): бугристую, рифленую, бороздчатую и др. (см. рис. 7.11).

Для получения щебня, каменной крошки, дробленого песка и минерального порошка породы после их добычи из месторождений подвергают дроблению и измельчению в камнедробилках, камне-крошилках с последующими операциями по фракционированию, обогащению, промывке и пр. Для получения крупно-, средне- и мелкозернистых минеральных материалов направляются отходы, получаемые в карьерах или на камнедробильных заводах и уста­новках. Особенно ценными отходами являются побочные продукты при распиловке и разделке природного декоративного камня (мра­моров, гранита, кварцита и др.); применяя цементы, из них выра­батывают крупные блоки, декоративные плиты и пр.


Рис. 7.8. Разновидности штучных изделий нз природного камня:

/—облицовочные плиты; а— тесаные; б —пиленые; 2 —стеновые блоки; а — колотый; б —■ тесаный; в — пиленый

Рис. 7.9. Разновидности штучного камня, применяемого в дорожном строитель­стве:

/-бортовой камень: я - прямой; 6 - лекальный; в —для съездов; 2 - брусчатка (о) и шашка (б) для моэанновой мостовой




ЙШШ

 


 




 


 


Рис. 7.10. Примеры применения природного камня в зда-

Ленина), известнняк (коллоннада Большого академиче-

Блаженного), гранит (каменный мост через Москва-реку)


Рис. 7.10. (продолжение)

ниях и сооружениях Москвы: габбро (библиотека им. В. И.

ского театра), песчаник (подпорная стенка храма Василия


7.7. Материалы и изделия из горных пород

С глубокой древности и до наших дней природные каменные строительные материалы широко используются в строительстве. Они относительно доступны и обладают высокими техническими показателями: прочностью, морозостойкостью, долговечностью, хо­рошими декоративными свойствами.

В зависимости от способа обработки горных пород различают следующие виды каменных материалов и изделий: добываемые вы­пиливанием из массива или путем выкалывания плиты и блоки для каменной кладки, облицовочные плиты, профильные детали и др. Некоторые материалы подвергаются обработке скалывающи­ми инструментами, например бортовый камень, другие — грубоко-лотые, направляются непосредственно на строительные объекты без последующей механической обработки (брусчатка). Крупный рва­ный камень (бут) получают после взрывания пород в карьере или при шпуровой разделке крупных блоков; при последующем дробле­нии из него получают щебень, каменную крошку, песок, а при по­моле — минеральный порошок. Из природных сортированных зале­жей добывается окатанный обломочный материал в виде валунов, булыжника, гальки, гравия. Из природного камня без изменения его состава получают также плавленые материалы (каменное литье).

Для каждого конкретного строительства СНиПом рекоменду­ются определенные виды материалов и изделий из природного кам­ня. Для возведения фундаментов, например, пригоден бутовый ка­мень, пиленые и колотые камни из всех видов пород, а для кладки стен — камни (плиты), блоки из всех разновидностей известняков, доломитов, песчаников, вулканического туфа; для наружной обли­цовки применяют облицовочные плиты, профильные изделия из гра­нита, сиенита, диорита, габбро, базальта, кварцита, иногда мрамора и др., а для внутренней отделки — те же наименования изде­лий, но получаемых из мрамора, мраморовидных известняков, гип­сового камня, туфов и др. (рис. 7.8). Природный камень широко используется в дорожном строительстве в виде бортового и мо-стильного камней, брусчатки; для защитной облицовки мостовых опор, парапетных, карнизных, а также тротуарных плит (рис. 7.9). Эти изделия изготовляются из гранита, диорита, габбро, базальта, песчаника и других и показывают высокую эксплуатационную стой­кость (рис. 7.10).

Правильный выбор пород для конкретных строительных работ предусматривает их разделение по величинам прочности при сжа­тии с выделением марок: 4, 7, 10, 15, 25, 35, 50, 75, 100, 125, 150, 200, 300, 400, 500, 600, 800 и 1000 (соответственно — от 0, 4 до 100 МПа). К легким относятся каменные материалы, маркирую­щиеся в интервале включительно от 4 до 200, а к тяжелым — от 300 и выше. Такая же маркировка предусмотрена по степени мо­розостойкости, которая устанавливается числом циклов заморажи-


Рис. 7.11. Виды фактуры камня:

1 — скала; 2 — рифленая; 3 — бороздчатая; 4 — бугристая; 6 — точечная; 6 — грубошлифо-яаиная

С учетом вышеуказанных марок уточняется выбор пород, пред­назначенных для определенных видов строительства. Например, для стеновой кладки подходят только те породы, которые харак­теризуются марками: по морозостойкости — не менее 15, коэффи­циенту размягчения — не менее 0, 6 и прочности — в зависимости от вида породы; для плотных известняков — в пределах не менее 150, а для пористых ракушечников — 25... 125 и т. д. Аналогичным образом СНиПом предусматриваются конкретные марки камня для наружной отделки зданий и сооружении, каменных материа­лов специального назначения (кислото- и щелочестойких, огнеупор-, ных), а также материалов, применяемых в гидротехнических соору­жениях, и т. п, (рис. 7.11).

Материалы и изделия из природного камня отличаются опреде­ленными размерами. Для индустриального строительства с приме­нением подъемных кранов для кладки стен используют крупные каменные блоки массой 0, 5... 1, 5 т размерами по длине 400... 3000 мм, ширине 300... 500 мм и высоте 800... 1000 мм. Крупные стеновые блоки изготовляются размерами 390X190X188; 490Х


 




Х240Х188 и 390X190X288 мм. Облицовочные плиты пиленые обычно имеют толщину 12... 80 и ширину 200... 1000 мм. В на­стоящее время в связи с переходом на алмазную обработку для облицовки применяют плиты толщиной 10 мм и меньше.

Размеры дорожных штучных изделий из камня изменяются в следующих пределах: бутовый камень в поперечнике достигает 150... 500 мм; брусчатка для мостовых делится по высоте на низ­кую (с высотой 100 мм, шириной 120,.. 150 мм и длиной 150... 250 мм); среднюю (с высотой ПО... 130 мм) и высокую (с высотой 140... 160 мм) и соответственно с аналогичными низкой брусчатке шириной и длиной. Получаемый при дроблении пород щебень яв­ляется смесью угловатых обломков размером от 5 (иногда от 3) до 70 мм; содержание обломков пластинчатой (лещадок) н игло­ватой формы допускается 6 нем не более 15... 25% по массе. Вме­сте со щебнем получают высевки (искусственный дробленый пе­сок) с размерами до 1 мм. Помолом осадочных карбонатных, реже кварцевых, пород изготовляются минеральные порошки с размера­ми, необходимыми при производстве соответствующих видов ИСК.

7.8. Защита природного камня от разрушения в конструкциях зданий и сооружений

Процесс постепенного разрушения каменных материалов в кон­струкциях зданий и сооружений можно предотвратить или затор­мозить с помощью различных конструктивных и химических мето­дов защиты, способствующих снижению воздействия увлажнения, нагревания, замерзания, солнечной радиации и т. п.

Конструктивные методы выражаются в устройстве гладких или полированных поверхностей материалов, не способных задерживать дождевые и талые воды и пропускать агрессивные среды внутрь каменного материала.

Химические меры защиты заключаются в флюатировании кам­ня, т. е. обработке его водными растворами солей крем нефтористо­водородной кислоты. Эти соли (флюаты) вступают в химические соединения с растворимыми компонентами камня с образованием фтористых солей Са и Mg и кремнезема, нерастворимых в воде, которые уплотняют поверхность камня и делают ее недоступной для агрессивных сред. Так, например, при обработке известняковых пород кремнефтористым магнием образуется кремнезем и форми­руются фтористые соли:

2CaC03+MgSiF6=2CaF2+MgF2+2C02 + Si02

известняк флюат нерастворимые соли

Фтористые соли, образовавшиеся при флюатировании, уплотня­ют поверхностные слои камня и повышают устойчивость его против выветривания.

Химические меры обработки особенно эффективны для карбо­натных пород. Кислые породы перед флюатированием пропитыва-


 

I

jt раствором известковой соли, которая впоследствии образует с 1Люатом защитный слой из нерастворимых в воде соединений. Кроме флюатирования поверхность камня может обрабатывать-ч добавками оксида свинца или железистых соединений, увеличи­вших погодоустойчивость поверхности. Для аналогичных целей эгут использоваться водные растворы и эмульсии, полимерные ве-ества и водополнмерные дисперсии. Так, например, для получе-1я поверхностного уплотнения камня и гидрофобизации его по-фхности и пор применяют кремнийорганические соединения: ме-(лсиликонат натрия ГКЖ-94, этилсиликонат натрия ГКЖ-10 и др., также водный раствор мочевиноформальдегидной смолы. Из-: стны и другие способы защиты камня от выветривания и разру-ения, которые продлевают эксплуатационный срок службы камен-jx материалов и изделий без заметных выцветов и потускнения > верхности или других следов химического выветривания. Возникающие аморфные или кристаллические новообразования озываются практически нерастворимыми в воде. Отлагаясь в по-yjiax камня, они уменьшают пористость и смачиваемость его поверх-

?

ости, скорость капиллярного подсоса воды или грязи. Конструк-ивные и химические мероприятия, применяемые в совокупности,: приводят к увеличению долговечности, природного камня в кон-■ < трукциях зданий и сооружений.

ВОПРОСЫ ДЛЯ САМОПРОВЕРКИ

1. Какие строительные материалы и изделия получают из горныд пород? 2. Воспроизведите и объясните классификацию горных пород по условиям их образования. 3. На какие классы по химическому составу разделяются минера­лы (приведите примеры представителей для каждого класса)? 4. Назовите основные физические свойства минералов. 5. По каким признакам отличаются между собой глубинные и излившиеся породы? Приведите представителей обеих групп. 6, Назовите представителей механических пород (рыхлых и сцементиро­ванных), органогенных и пород химического происхождения; охарактеризуйте их свойства. 7. В каких условиях образуются метаморфические породы? Назо­вите главных представителей и их свойства. 8. Перечислите породы, наиболее часто применяемые для строительных целей, и охарактеризуйте их по минераль­ному составу и свойствам. 9. Какая существует связь между свойствами и опти­мальной структурой горных пород? 10. В чем состоит сущность работ по флюа-тированню камня? Назовите способы уплотнения поверхности камня для увели­чения его долговечности в конструкциях. 11. Способы добычи и обработки кам­ня. 12. Виды изделий из природного камня.



Б. ИСКУССТВЕННЫЕ СТРОИТЕЛЬНЫЕ МАТЕРИАЛЫ

I. МАТЕРИАЛЫ НА ОСНОВЕ ВЯЖУЩИХ ВЕЩЕСТВ ВОЗДУШНЫХ, ГИДРАВЛИЧЕСКИХ И АВТОКЛАВНОГО ТВЕРДЕНИЯ

Глава 8

Воздушные и гидравлические вяжущие вещества

Вяжущие вещества, применяемые для изготовления широкой номенклатуры искусственных строительных материалов, имеющих в основном конгломератный тип структуры (ИСК), разделяются на следующие разновидности: неорганические, или минеральные; органические; полимерные; комплексные {смешанные, компаунди­рованные и комбинированные).

8.1. Неорганические вяжущие

Неорганическими вяжущими веществами называются порошке образные минеральные материалы, которые при смешивании с во­дой или водными растворами некоторых солей образуют тесто (пла­стическую массу), способное со временем отвердевать, превраща­ясь в камневидное тело.

Все неорганические вяжущие вещества являются продуктами обжига соответствующего минерального сырья, т. е. они относятся к обжиговым строительным материалам. Однако ИСК, получаемые на их основе, относятся «безобжиговым, так как процесс их отвер­девания происходит в условиях обычных температур.

Эту группу вяжущих разделяют на воздушные и гидравличе­ские. Воздушные способны в тестообразном состоянии твердеть и длительно сохранять свою прочность только на воздухе, поэтому они применяются в наземных сооружениях, не подвергающихся воздействию воды. К ним относятся строительная воздушная из­весть, гипсовые, магнезиальные вяжущие вещества и жидкое стек­ло. Гидравлические вяжущие вещества способны после предвари­тельного твердения на воздухе продолжать твердеть и в воде, уве­личивая со временем свою прочность. Они могут применяться в наземных, подземных, гидротехнических и других сооружениях, под­вергающихся воздействию воды. Среди них портландцемент, глино­земистый цемент, шлаковые и пуццолановые смешанные цементы, ряд специальных цементов, а также гидравлическая известь. В от­дельную группу нередко выделяют вяжущие вещества, которые наи­более эффективно твердеют при автоклавной обработке с повы­шенным давлением пара и при высокой температуре. К таким относят известково-кремнеземистые, известково-шлаковые, известко-во-нефелиновые, песчанистые портландцементы и некоторые другие.

Неорганические вяжущие вещества появились примерно за 3... 4 тыс. лет до н. э. Тогда получали их путем обжига гипсового кам-


я, известняков и применяли при возведении сооружений. Для по-ышения водоустойчивости к вяжущим веществам прибавляли тон-измельченные минеральные порошки, например вулканические [еплы и пемзу.

В России первые руководства по изготовлению неорганических ществ появились в XVIII в. Они обобщали опыт русских ученых | описанием способов получения строительного гипса и гидравличе­ской извести. Так, В. М. Севергин доказывал целесообразность ис­пользования известняков с глинистыми примесями, а также мерге-истых пород для получения водоустойчивых вяжущих веществ. Петербургском институте путей сообщения в 1822 г. проф. Шар-евилем были опубликованы научные исследования мергелистых город для получения гидравлической извести и цементов. Автор называл, что при обжиге таких пород или смесей известняков и лин возникают химические взаимодействия между составными ча­стями. Принципиально новым явились основные положения техно­логии производства гидравлического вяжущего, изложенные в ра­боте Е. Г. Челиева, опубликованной в 1825 г. Он рекомендовал температуру обжига сырьевой смеси из известняков и глин свыше 1100°С. В работе Челиева содержатся основные элементы современ­ной технологии цементов.

В физико-химические основы производства огромный вклад * внесли труды Д. И. Менделеева, а также работы А. Р. Шуляченко, '■ и И. Г. Малюги, Н. Н. Лямина, Н. А. Белелюбского, В. Н. Черном- v ского и других в конце XIX и начале XX в. Однако в дореволю-: ционной России цементная промышленность развивалась медленно1 и только после Великой Октябрьской социалистической революции она получила импульс в своем развитии. Если в 1913 г. в России было выпущено цемента всего 1, 7 млн. т, то в настоящее время его выпускается около 130 млн. т в год, а на конец двенадцатой пятилетки запланировано годовое производство 140... 142 млн. т. В разработке новых разновидностей цементов и других неорганиче­ских вяжущих веществ принимали непосредственное участие

A. А. Банков, В. А. Кинд, С. И. Дружинин, П. П. Будников,

B. Н. Юнг, В. В. Михаилов, И. В. Кравченко, А. В. ВолженскиЙ,
,. П. И. Боженов, М. И. Хигерович, В. В, Тимашов, С. М. Рояк и др.
i Сырьевой базой для производства неорганических вяжущих ве-

' ществ являются горные породы и побочные продукты промышлен­ности. Среди горных пород для этих целей используют сульфат­ные — гипс и ангидрит; карбонатные — известняк, мел, известковые туфы, ракушечник, мрамор, доломиты, доломитизированные извест­няки, магнезит; мергелистые — известковые мергели; алюмосили-катные — нефелины, глины, глинистые сланцы; высокоглиноземи­стое сырье — бокситы, корунды и др.; кремнеземистые горные породы — кварцевый песок, трассы, вулканический пепел (пуццола­на), диатомит, трепел, опока.

Среди побочных продуктов в цементной промышленности нахо-

£ дят применение главным образом шлаки металлургические и золы,

£ - 177


особенно шлаки первичных (доменные) и передельных (мартенов­ские) процессов, а также шлаки цветной металлургии, топливные и др. По химическому составу они делятся на основные и кислые, что определяется их модулем основности:

%CaO+MgO °~ % Si02 + А1203 *

У основных шлаков Л*0> 1; У кислых — M0< Cl. Золы — рыхлые мягкие остатки после сгорания твердого топлива. Они, как прави­ло, кислые.

Часто вносят в сырье вещества в виде активных минеральных добавок, как природных, например диатомит, трепел, опоку, трасс, пуццолану, пемзу, туф вулканический, так и искусственных — нефе­линовый шлам, цемянку, глиеж (горелые породы), золы, шлаки. Нередко для получения вяжущих используют наполнители — тонко* измельченные кварцевый песок, известняк, доломит, андезит, диа­баз, базальт, некоторые шлаки; поверхностно-активные добавки: гидрофильные — ССБ (сульфитно-спиртовая барда) и СДБ (суль­фитно-дрожжевая бражка) и гидрофобные — мылонафт, асидол, омыленный пек, олеиновая кислота и др.; ускорители твердения — хлористый кальций и хлористый натрий, соляная кислота, жидкое стекло, нитрит натрия и др.; замедлители твердения — двуводиый гипс, серная кислота, сернокислое железо, клеи, ССБ и СДБ; пла­стификаторы для улучшения формовочных свойств сырьевого ма­териала— глина, бентонит, трепел, диатомит; интенсифицирующие добавки (при помоле) —антрацит и др.

Сырье бывает одно- и многокомпонентным, составленным из не­скольких исходных веществ. При многокомпонентном сырье для лучшего перемешивания и получения более однородной смеси ком­поненты предварительно совместно или по отдельности измельчают.

После полного цикла подготовки сырья — дробления, помола, смачивания, корректирования состава — смесь подвергается тер­мической обработке, или обжигу.

При обжиге сырье теряет свободную воду, затем дегидратируется, отдавая химически связанную воду, и диссоциирует, распадаясь на отдельные оксиды. При последующем повышении температуры происходят реакции в твердом состоянии. Сырье изменяет свой хи­мический состав, так как молекулы приходят в состояние с повы­шенной кинетической энергией — увеличиваются амплитуды и ча­стоты тепловых колебаний: атомы или молекулы одного компонен­та как бы «отскакивают» со своей кристаллической решетки и присоединяются к атомам и молекулам другого реагирующего ком­понента при их близком соприкасании.

Пр-и последующем повышении температур образуется жидкая фаза, которая ускоряет химические реакции в расплаве. Сырьевая смесь превращается в продукт, наделенный новыми качественными характеристиками. Но для проявления вяжущих свойств потребует­ся еще перемолоть продукт обжига. Чем выше тонкость помола,


ем больше удельная поверхность частиц вяжущего вещества, тем, ледовательно, быстрее и полнее пройдут процессы растворения,; имического взаимодействия с водой, затворения и образования но-! ых гидратных соединений.

1оздушные вяжущие вещества

| Гипсовые вяжущие веществаГСырьем для производства гипсо-§ых вяжущих веществ служат сульфатные горные породы, содер­жащие преимущественно минерал двуводиый гипс —CaS04-2H20. При тепловой обработке природный гипс постепенно теряет насть химически связанной воды, а при температуре от 110 до 180°С

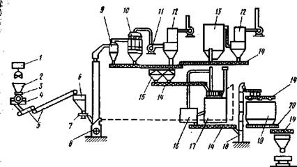
Рис. 8.1. Схема производства строительного гипса с применением вароч­ных котлов:

/ _ постовой грейферный край; 2 — бункер гипсового камня; 3 — лотковый пита­тель; 4 — [ценовая дробилка; 5 — ленточные конвейеры; 6 — бункер гипсового щебня; 7 — тарельчатый питатель; 8 — шахтная мельница; 9 — сдвоенный циклон- 10 — ба­тарея циклонов; // — вентилятор; 12 — рукавные фильтры; 13 — пылеосадительная камера; 14 — шнеки; 15 — бункер сырого молотого гипса; 16 — камера томления; П — гипсоварочный котел; 18 — элеватор; «—бункер готового гипса; 20 — скреб­ковый конвейер

становится пвдуводным гипсом — CaSO40, 5H2O., После тонкого измельчения этого продукта обжига получают гипсовое вяжущее вещество 0-модификации. Для получения р-модификации полувод­ного гипса природный гипс нагревают в открытых аппаратах, со­общающихся с атмосферой и с удалением воды в виде перегретого пара (рис. 8.1).

Т1ри тепловой обработке природного гипса в герметически за­крытых аппаратах и, следовательно, при повышенном давлении пара химически связанная вода выделяется в капельно-жидком со­стоянии с образованием при температуре примерно 95... 100°С по­луводного гипса а-модификации.,


 




Обе модификации полуводного гипса отличаются между собой: модификация полугидрата отличается крупнокристаллическим строением. Истинная плотность о- и р-полугидратов равна соответ­ственно 2, 72... 2, 75 и 2, 62... 2, 66 г/см3.

Гипсовые вяжущие вещества условно разделяют на строитель­ный, формовочный и высокопрочный гипсы.

Гипс строительный является продуктом обжига, тонкоизмельчен­ного двуводного гипса или, реже, тонкого помола р-полуводного гипса. На отдельных заводах после обжига гипс подвергают вто­ричному помолу. Он относится к мелкокристаллической разновид­ности гипсового вяжущего вещества, что увеличивает водопотреб-ность при затворении строительного гипса водой до стандартной консистенции теста. В отвердевшем состоянии обладает невысокой прочностью — 2... 16 МПа. Но прочность на сжатие уменьшается с увлажнением образцов.

Таблица 8.1 Виды гипсовых вяжущих в зависимости от сроков схватывания

 

 

  Индекс сро­ков схваты­вания Сроки схватывания, мин
Виды гипсовых вяжущих начало, не ранее конец. не позднее
Быстрот вер деющий Нормальнотвердеющнй Медленнотвер деющий А Б В 2 6 15 30 Не норми­руется

Гипс формовочный состоит также из р-модификации полугидра­та сульфата кальция, отличаясь от гипса строительного большей тонкостью помола.

~Гипс высокопрочный является продуктом тонкого помола а-по-лугидрата, получаемого в результате тепловой обработки в услови­ях, в которых вода из гипса выделяется в к а пел ьно-жидком состоя­нии. Такие условия возможны в автоклаве в среде насыщенного пара при давлении 0, 15... 0, 3 МПа. Вместо автоклавов возможно использование в качестве тепловой среды водных растворов неко­торых солей, например хлористого кальция.»

«-модификация гипса обладает пониженной водопотребностью по сравнению с р-модификациеи и имеет большую прочность — до 20... 25 МПа и выше.

^Отличительной особенностью гипсовых вяжущих веществ яв­ляется их низкий срок схватывания, что вызывает определенное неудобство при производстве строительных работ^По срокам схва­тывания они разделяются на быстро-, нормально- и медленнотвер-деющие (табл. 8.1). Для продления сроков схватывания в гипсовое тесто нередко вводят добавки-замедлители, например кератиновый клей, сульфитно-дрожжевую бражку и др. Они адсорбируются ча-


 

!

Лицами гипса, что затрудняет их растворение и начало схватыва­ем Рассмотренные разновидностиГгипсовых вяжущих веществ при­меняют для различных целей. Строительный и формовочный с боль­шим успехом используется при производстве гипсовых перегородоч­ных панелей, сухой штукатурки, гипсолитных деталей, вентиляци-даных коробов, огнезащитных и звукопоглощающих изделий. Широкое использование всех этих изделий обусловливается относи-жльной влажностью воздуха не более 60%^ так как увлажнение тшсового изделия всегда связано с понижением прочности и ро­стом необратимых пластических деформаций (ползучести). Из­вестны определенные меры повышения водостойкости гипса и издег Ийй, например добавлением синтетических смол, пропиткой гидро­фобными веществами, интенсивным уплотнением при формовании Изделий. Особенно эффективным способом повышения водостойко­сти является переход к смешанным вяжущим веществам на основе гипса.

При высоких температурах обжига (600... 750°С) природного

•ипса получают безводный сульфат кальция. При тонком помоле

Продукта обжига с добавлением активизатора, например воздуш-

Н& й извести, получают высокообжиговые ангидритовые вяжущие

■ вещества: ангидритовый цемент — при 600... 750°С и эстрихгипс —

Шри 800... 950°С.

h Предел прочности при сжатии у ангидритового цемента состав­ляет 10... 20 МПа, а начало схватывания наступает не ранее |»0 мин.

^ Гипс высокообжиговый (эстрихгипс). При температурах обжига 4(800... 950°С) помимо обезвоживания гипсового сырья происходит» частичная термическая диссоциация с образованием СаО, акти­визирующим химическое взаимодействие вяжущего с водой и уско­ряющим процессы твердения. Начало схватывания наступает не Г нее 2 ч, предел прочности при сжатии составляет 10 „. 20 МПа, водостойкость несколько выше, чем у гипсовых вяжущих и ан­гидритового цемента. Его применяют для изготовления декоратив­ных и отделочных материалов, например искусственного «мрамо­ра», штукатурных растворов, устройства бесшовных полов и под-нЛэтовки под линолеум.


Поделиться с друзьями:

mylektsii.su - Мои Лекции - 2015-2026 год. (1.367 сек.)Все материалы представленные на сайте исключительно с целью ознакомления читателями и не преследуют коммерческих целей или нарушение авторских прав Пожаловаться на материал