Студопедия

Главная страница Случайная страница

КАТЕГОРИИ:

АвтомобилиАстрономияБиологияГеографияДом и садДругие языкиДругоеИнформатикаИсторияКультураЛитератураЛогикаМатематикаМедицинаМеталлургияМеханикаОбразованиеОхрана трудаПедагогикаПолитикаПравоПсихологияРелигияРиторикаСоциологияСпортСтроительствоТехнологияТуризмФизикаФилософияФинансыХимияЧерчениеЭкологияЭкономикаЭлектроника






Измерение тока искры






При приложении к вакуумному промежутку импульса напряжения с фронтом 10-9 с через некоторое время, называемое временем запаздывания, начинается рост тока искры. На рис. 3.1 показана типичная осциллограмма тока искры, полученная с помощью емкостного делителя напряжения, встроенного в передающую коаксиальную линию. Пик тока в левой части осциллограммы соответствует моменту прихода импульса напряжения на вакуумный промежуток и обусловлен током смещения через емкость разрядной камеры. Далее следует участок осциллограммы без тока (время запаздывания пробоя t з), за которым идет участок относительно монотонного роста тока до амплитудного значения, ограниченного сопротивлением разрядного контура (время коммутации t к). После этого времени начинается дуговая стадия. Обычно время t к отсчитывается между уровнями 0.1 и 0.9 от амплитудного значения тока, равного U a/ R, где U a - амплитуда напряжения, R - сопротивление разрядного контура. Это время характеризует длительность искровой стадии вакуумного разряда t s. Однако время t к не равно в точности времени t s, так как при большом сопротивлении R может быть t кt s. Время запаздывания появления искры t з является фактически длительностью стадии пробоя. Это время измеряется от максимума пика емкостного тока до уровня 0.1 от амплитуды значения тока. О природе времени t з мы говорили в главе 2.

Рис.3.1 осциллограмма искрового разряда d=0.5mm U=50kV

 

3.2 Исследование свечения вакуумной искры

Результаты электронно-оптической регистрации свечения в кадровом режиме при импульсном пробое коротких вакуумных промежутков представлены на рис. 3.2. Статическое пробивное напряжение составляло 20 кВ. Через 4-6 нс после прихода импульса напряжения на промежуток (что приблизительно соответствует времени t з) на поверхности катода возникают одна-две локальные области слабого свечения. Такие области обычно возникают не одновременно, а в течение нескольких наносекунд, причем не только в местах, соответствующих максимальной напряженности электрического поля, но и на периферийных участках. На осциллограмме тока моменту появления свечения на катоде соответствует момент начала резкого роста тока со скоростью порядка 1010 А/с. Через несколько наносекунд после появления первых светящихся областей их число может достигать пяти. Области локального свечения на катоде мы назвали катодными факелами (КФ). Места появления КФ меняются от разряда к разряду. В период роста тока в промежутке происходит расширение КФ, одновременно растет их яркость. Необходимо иметь в виду, что эти снимки получены от разных разрядов, поэтому они дают только качественную картину свечения вакуумной искры.

Рис.3.2 Характерные снимки свечения в промежутке d=0/35mm U=35kV

 

Приблизительно через 15-16 нс после приложения к промежутку напряжения на поверхности анода появляется свечение в местах, расположенных напротив КФ. К этому времени ток достигает примерно половины своего амплитудного значения (100-120 А). В дальнейшем яркость этого свечения растет, однако становится сравнимой с яркостью КФ лишь ко времени 23-25 нс после приложения импульса напряжения. Свечение, возникающее на аноде, было названо анодными факелами (АФ). В период 28-30 нс, когда ток достигает максимального значения, ограничиваемого сопротивлением разрядного контура (~230 А), АФ занимает примерно третью часть межэлектродного зазора (~0.1 мм). Ко времени 33-36 нс АФ успевает распространиться в глубь промежутка примерно на 0.2 мм. После завершения роста тока свечение у катода остается, хотя яркость его несколько меньше яркости АФ.

Средняя скорость расширения катодных и анодных факелов оценивалась по скорости движения границы плотного свечения. Было обнаружено, что начальная скорость расширения КФ приблизительно постоянна и равна 1.7× 106 см/с. Скорость расширения КФ определялась из кадров IX и X, снятых при одинаковых диафрагмах объективов. Она оказалась равной 2× 106 см/с.

3.3 Эрозия Электродов

Острийные электроды

При анализе эрозии электродов использовались одиночные импульсы напряжения длительностью t и = 5, 20, 40 и 80 нс.

Рис.3.3 Изменение профиля вершины эмиттера с числом включений

На рис. 3.3 приведены типичные профили острий из молибдена, полученные до и после воздействия импульса тока ВЭЭ. При t и = 5, 20, 40 нс металл уносится, как правило, только с вершины острия, а его боковая поверхность остается нетронутой. Область вершины, примыкающая к месту испарения металла, оплавляется. При t и = 80 нс для катодов с углом q > 6-8° наблюдается заметная эрозия боковой поверхности, уменьшающаяся по мере удаления от вершины. Иногда начальная фаза этого эффекта обнаруживается и при t и = 40 нс.

Рис.3.4 Зависимость унесенной массы М от угла острия q, Молибден -1, 3, 5, 6 Вольфрам 2, 4 Длительность импульса 5(1, 2) 40(5) 80(6)нс

 

В качестве основной экспериментальной зависимости выбрана зависимость унесенной с вершины острия массы металла М 1 от угла конуса q.. Графики зависимостей представлены на рис. 3.4, из которых видно, что увеличение угла q от 2 до 40° приводит к уменьшению массы М 1 примерно на один-два порядка.

Плоские электроды

Установлено, что элементарными следами поражения поверхности катода являются микрократеры(Рис.3.5). Каждый микрократер образуется в результате вытеснения жидкого металла, окружающего эмиссионный центр, под действием давления, развиваемого в зоне эмиссии, и последующего его застывания. Существует три типа микрократеров по характеру их расположения: 1) первичный и последующие микрократеры наподобие вулкана появляются на одном и том же месте 2) последующие микрократеры появляются на бруствере предыдущего 3) отдельные кратеры расположены на некотором расстоянии независимо друг от друга

Рис 3.5. Микрократер сформировавшийся за время 10нс

В зависимости от условий эксперимента меняются вид, плотность расположения и “качественный” состав микрократеров. Наиболее простой формой микрократеров являются “кратеры-зародыши”. Как правило, они возникают на дефектах поверхности катода. Микрократеры на гладкой поверхности удалось обнаружить начиная с длительности импульса t и = 5 нс и более. С ростом последней примерно до 100 нс размеры кратеров увеличиваются до 3-5 мкм. Дальнейшее возрастание длительности импульсов приводит в основном к появлению субструктуры кратеров (рис. 10.9). Субструктура кратеров проявляется в том, что новые микровзрывы возникают на краях имеющихся кратеров.

Капельная фракция эрозии катода

Из растровых микрофотографий поверхности катода, а также из визуальных и фотографических наблюдений за катодом при наносекундных вакуумных разрядах следует, что часть металла покидает катод в виде расплавленных микрочастиц. Для обоснованного анализа эрозионных характеристик необходимы данные о доле капельной фракции в общей эрозии катода.

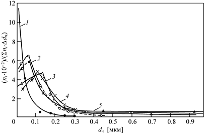
Рис.3.6 Распределение капель по диаметру d ч при t и = 10 (1); 35 (2); 50 (3); 100 (4) и 300 нс (5).

Было подсчитано количество капель, приходящееся на единицу перенесенного через промежуток заряда. Оно для всех экспериментов оказалось равным (1¸ 3)× 107 Кл-1. Число частиц, покидающих катод в среднем за один импульс, увеличивается с ростом t и В предположении, что все капли имеют сферическую форму и разлетаются изотропно, были сделаны оценки как объема жидкой фазы, приходящегося на каждую группу частиц, так и всего объема капельной фракции Оказалось, например, что, хотя доля частиц диаметром более 0.5 мкм не превышает 10% (t и = 50 нс), ими переносится примерно 80% объема всей капельной фракции. Представляет интерес и другой факт: в течение первых пяти наносекунд жидкие микрочастицы не выбрасываются из кратеров


Поделиться с друзьями:

mylektsii.su - Мои Лекции - 2015-2026 год. (2.684 сек.)Все материалы представленные на сайте исключительно с целью ознакомления читателями и не преследуют коммерческих целей или нарушение авторских прав Пожаловаться на материал