Студопедия

Главная страница Случайная страница

КАТЕГОРИИ:

АвтомобилиАстрономияБиологияГеографияДом и садДругие языкиДругоеИнформатикаИсторияКультураЛитератураЛогикаМатематикаМедицинаМеталлургияМеханикаОбразованиеОхрана трудаПедагогикаПолитикаПравоПсихологияРелигияРиторикаСоциологияСпортСтроительствоТехнологияТуризмФизикаФилософияФинансыХимияЧерчениеЭкологияЭкономикаЭлектроника






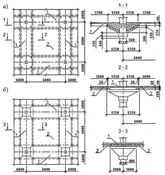
Сборные безбалочные перекрытия






Состоят из надколонных плит, расположенных в двух направлениях, пролетных плит и колонн с капителями. Надколонные и пролетные плиты могут быть ребристыми и пустотными (рис. 10 а, б).

Рис. 10. Сборное безбалочное перекрытие с ребристыми (а) и пустотными (б) панелями:

1 – надопорная панель; 2 – пролетная панель

Надколонные плиты опираются непосредственно на капители колонн и после сварки выпусков арматуры плит и закладных деталей капителей и замоноличивания швов образуют продольные и поперечные рамы. Пролетные плиты шарнирно опираются по контуру на надколонные плиты и работают на изгиб в двух направлениях. Капители колонн могут быть полыми пирамидального очертания или сплошными плоскими; их устанавливают на консоли колонн и приваривают к закладным деталям стальными накладками. Колонны имеют поэтажную разрезку. Стык колонн – в пределах перекрытия с замоноличиванием, на колонне и внутренней поверхности капители при изготовлении делают пазы, образующие шпоночное соединение после замоноличивания. Типовое решение – сетка 6х6 м.

В расчетном отношении многоэтажные здания со сборными безбалочными перекрытиями представляют рамные системы в обоих направлениях. Ригелями рамы являются надколонные плиты, а стойками - колонны. При расчете учитывают увеличение жесткости стоек и уменьшение пролета ригелей за счет устройства капителей. Приближенно изгибающие моменты в надколонной плите при р/распределенной нагрузке можно определять как в неразрезных балках с учетом перераспределения усилий по формуле

(7)

где - р/распределенная приведенная нагрузка на 1 м погонный длины панели;

l 0 – расчетный пролет, равный 1, 05 расстояния в свету между капителями.

Изгибающие моменты в пролетных квадратных панелях с учетом упругой податливости опорного контура приближенно можно определить по формуле

(8)

Капители рассчитывают в обоих направлениях на нагрузку от опорных давлений и моментов надколонных плит. Расчетную арматуру укладывают по верху капители, а стенки армируют конструктивно. Также надо проверять капители по консольной схеме на монтажную нагрузку.


Поделиться с друзьями:

mylektsii.su - Мои Лекции - 2015-2026 год. (1.709 сек.)Все материалы представленные на сайте исключительно с целью ознакомления читателями и не преследуют коммерческих целей или нарушение авторских прав Пожаловаться на материал