Студопедия

Главная страница Случайная страница

КАТЕГОРИИ:

АвтомобилиАстрономияБиологияГеографияДом и садДругие языкиДругоеИнформатикаИсторияКультураЛитератураЛогикаМатематикаМедицинаМеталлургияМеханикаОбразованиеОхрана трудаПедагогикаПолитикаПравоПсихологияРелигияРиторикаСоциологияСпортСтроительствоТехнологияТуризмФизикаФилософияФинансыХимияЧерчениеЭкологияЭкономикаЭлектроника






Деревянные прогоны. Их типы. Конструирование и расчет.






 

Прогоны являются несущими конструкциями покрытий, рабочих площадок, платформ и элементами ряда сооружений из дерева. Прогоны являются опорами настилов и укладываются на основные несущие конструкции с шагом от 1 до 3 м. Они бывают однопролетными, свободно опертыми и многопролетными неразрезными и консольно-балочными. Рассчитываются на изгиб от равномерно распределенной нагрузки q, которая состоит из собственной массы покрытия g и снега р, отнесенных к горизонтальной проекции покрытия. При угле наклона покрытия и шаге расстановки прогонов В нагрузку находят из выражения q=(g + p)B. Максимальный относительный прогиб прогонов покрытий не должен превышать 1/200 пролета.

 

Цельные прогоны покрытий:

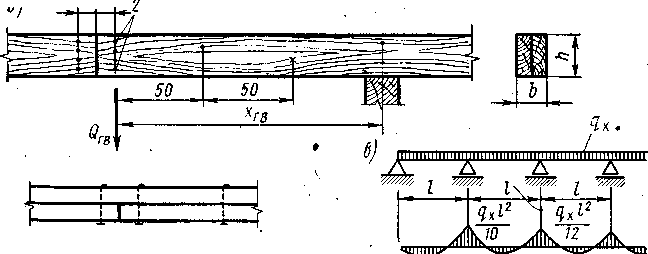
1 — прогон; 2 — болт; 3 — гвозди; 4 — бобышки

Однопролетные прогоны представляют собой продольные ряды свободно опертых балок, установленных на основные несущие конструкции и поперечные стены крыши. Нейтральные оси их сечений получают при этом такой же уклон к горизонту, как и покрытие. Прогоны соединяются по длине на опорах при помощи косого прируба или дощатых накладок. От сползания по скату прогоны удерживаются отрезками толстых досок — бобышками, прибиваемыми к опорам гвоздями или металлическими уголками. Дощатыми прибоинами снизу к концам прогонов основные несущие конструкции закрепляются в покрытии от выхода из плоскости.

Прогоны рассчитывают на изгиб от действия только нормальной составляющей нагрузки от настила, определяемой с учетом шага прогонов qx=q cos а, если настил, как, например, двойной перекрестный, воспринимает скатные составляющие, и может при этом иметь любое, в том числе дощатое, сечение. Если такой настил отсутствует, прогоны работают и рассчитываются на косой изгиб от нормальной и скатной qy=qsin а составляющих нагрузки и изготовляются из брусьев или бревен, в которых косого изгиба не возникает.

Спаренные многопролетные прогоны располагаются поперек скатов крыши и опираются на основные несущие конструкции покрытия и поперечные стены, к которым крепятся так же, как однопролетные прогоны. Спаренный прогон состоит из двух рядов досок, соединенных гвоздями.

Спаренный неразрезной прогон:

а — общий вид; б — деталь стыка; в — расчетная схема; 1 — доски; 2 — гвозди

Продольные стыки соседних досок располагаются вразбежку на расстоянии 0, 2 длины пролета от опор, где значения изгибающих моментов близки к нулю. В стыке прямо обрезанные концы соединяемых досок прибивают к соседней сплошной доске расчетными гвоздями. Между стыками доски соединяют конструктивными гвоздями через каждые 0, 5 м. Крайние пролеты, где изгибающие моменты больше, усиливают третьей доской. Такие прогоны рекомендуется применять только в сочетании с настилами, воспринимающими скатные составляющие нагрузки и закрепляющими прогон от косого изгиба, при котором требуются доски значительной толщины и большое количество гвоздей. Эти прогоны требуют меньшего расхода древесины, чем однопролетные, но их изготовление более трудоемко.

Расчет спаренного прогона производят по схеме многопролетной неразрезной балки на нормальную составляющую нагрузки. Максимальные изгибающие моменты возникают в прогоне над опорами— над второй опорой момент равен М=ql2/10 и над промежуточными M = q× l2/2. Сечение на второй опоре, усиленное третьей доской, как правило, работает с достаточным запасом прочности.

Гвоздевые соединения стыков рассчитываются на действующие в них поперечные силы Q в стыкуемых досках, определяемые в зависимости от величины опорного момента М и расстояния от опоры до ближайшей группы гвоздей хгв из выражения Q=M/2xrv.

В некоторых случаях имеется возможность сократить длину первых пролетов прогона до 0, 8 /, уменьшив крайний шаг основных несущих конструкций. При этом изгибающие моменты на всех промежуточных опорах и прогибы всех пролетов могут считаться одинаковыми. Отпадает необходимость усиления прогона в первых пролетах и максимальные прогибы уменьшаются в 2, 5 раза.

Консольно-балочные прогоны представляют собой продольные ряды брусьев или бревен со встречным расположением стыков за пределами опор. При этом более длинные брусья образуют в промежуточных пролетах две консоли, а в крайних — одну, на которые опираются более короткие брусья при помощи косого прируба, стянутого болтом. Такие прогоны применяют в покрытиях при шаге основных несущих конструкций не более 4, 5 м, допускающем использование лесоматериалов стандартной длины.

 


2Дер балки; общ свед-я. (см. п. 6.12-6.16 СНиП II-25-80 «Дер. констр-ции»)

Прим-ся в кач-ве прогонов кровли, наслонных стропил, балок чердачных и м/уэт перекр-й, в покрытиях и перекр-х малоэт жил домов, в пром зд-х с агрессивн срелой и сельских производств зд-х. Пролеты 3-18 м, шаг 1-6 м. Рассчит-ся на прочность и жесткость как изгибаем эл-ты; балки дерев м/уэт перекр-й – на зыбкость расчетом на прогиб от сосредоточ силы 1 кН; при этом прогиб д.б. < 0, 7 мм.

По типу поп сеч-я: балки цельного сеч-я; составные балки на податливых связях; клееные дерев; клеефанерн; армированные клееные дер.

Балки цельного сеч-я – изгот-ся из досок, брусьев, кругл лесомат-в. Пролет ≤ 6, 5 м (ограниченность сортамента). Для < расч усилий исп-т разрезные балки, усиленные подбалками – уменьшают расч пролеты, подклад-ся под стыки балок и скрепл-ся с ними болтами. Длина консоли балки назнач-ся из усл-я, что общ касательная к упругим линиям балки и подбалки д. проходить в сеч-ии у конца консоли. Длну консоли приним-т: а2=0, 17l+10см, l – пролет балки, 10 см – для обеспеч-я достаточн площади смятия.

Расч изг моменты: 1. в балках с макимальн изг мом при отсутств времен нагр в соседних пролетах: , а1 – дл консоли: ; 2. в подбалке при загружении пост и врем нагрузкой по всем пролетам: , а – теоретич вылет косоли: а=0, 17·l. По найденным изг мом подбир сеч-я балок и подбалок.

Если временная нагр постоянна и равномерно распределена по всем пролетам (продольные балки подвесных потолков, прогоны кровли), то прим-т системы многопролетных статически определимых шарнирно-стержневых систем. ; ; ; l1=0, 8·l; q=qпост+qвр. Рекоменд-ся схема со встречным расположением шарниров: по 2 шарнира в пролете ч/з пролет, исключая крайние пролеты. 2 схемы: 1. равномоментная; 2. равнопрогибная. Осн параметры: Расст-е от опор до шарниров х: 1. 0, 15 l; 2. 0, 21 l. Изг мом на опорах: 1. ; 2. . Изг мом в пролетах: 1. ; 2. . Макс прогибы в пролетах без шарниров: 1. ; 2. . Длины крайних пролетов l1: 1. 0, 85 l; 2. 0, 8 l.

Предпочтение – равнопрогибным (консольно-рамочные пролеты).

Стыки прогонов по длине осущ в местах расположения шарниров косым прирубом. Боковое смещение шарнира предотвращается установкой вертикального болта; осн. недостаток – м. устроить максимальн пролет 4, 5 м.

По равнопрогибной схеме также вып-т спаренные неразрезные прогоны, сост. из 2 и > рядов досок, поставленных на ребро и соед-х м/у собой гвоздями. Шаг расстановки гв - 500 мм. Первый ряд досок не им. стыка в первом пролете, второй – в последнем. Стыки досок устр-ся в точках, где изг мом = 0.

Кол-во гв с 1 стороны стыка: , х – расст-е от опоры до центра гвоздевого забоя.

 

29. Балки цельного сеч-я – изгот-ся из досок, брусьев, кругл лесомат-в. Пролет ≤ 6, 5 м (ограниченность сортамента). Для < расч усилий исп-т разрезные балки, усиленные подбалками – уменьшают расч пролеты, подклад-ся под стыки балок и скрепл-ся с ними болтами. Длина консоли балки назнач-ся из усл-я, что общ касательная к упругим линиям балки и подбалки д. проходить в сеч-ии у конца консоли. Длну консоли приним-т: а2=0, 17l+10см, l – пролет балки, 10 см – для обеспеч-я достаточн площади смятия.

Расч изг моменты: 1. в балках с макимальн изг мом при отсутств времен нагр в соседних пролетах: , а1 – дл консоли: ; 2. в подбалке при загружении пост и врем нагрузкой по всем пролетам: , а – теоретич вылет косоли: а=0, 17·l. По найденным изг мом подбир сеч-я балок и подбалок.

Если временная нагр постоянна и равномерно распределена по всем пролетам (продольные балки подвесных потолков, прогоны кровли), то прим-т системы многопролетных статически определимых шарнирно-стержневых систем. ; ; ; l1=0, 8·l; q=qпост+qвр. Рекоменд-ся схема со встречным расположением шарниров: по 2 шарнира в пролете ч/з пролет, исключая крайние пролеты. 2 схемы: 1. равномоментная (Моппр); 2. равнопрогибная (fоп=fпр).

Осн параметры: Расст-е от опор до шарниров х: 1. 0, 15 l; 2. 0, 21 l. Изг мом на опорах: 1. ; 2. . Изг мом в пролетах: 1. ; 2. . Макс прогибы в пролетах без шарниров: 1. ; 2. . Длины крайних пролетов l1: 1. 0, 85 l; 2. 0, 8 l.

Предпочтение – равнопрогибным (консольно-рамочные пролеты).

Стыки прогонов по длине осущ в местах расположения шарниров косым прирубом. Боковое смещение шарнира предотвращается установкой вертикального болта; осн. недостаток – м. устроить максимальн пролет 4, 5 м.

По равнопрогибной схеме также вып-т спаренные неразрезные прогоны, сост. из 2 и > рядов досок, поставленных на ребро и соед-х м/у собой гвоздями. Шаг расстановки гв - 500 мм. Первый ряд досок не им. стыка в первом пролете, второй – в последнем. Стыки досок устр-ся в точках, где изг мом = 0.

Кол-во гв с 1 стороны стыка: , х – расст-е от опоры до центра гвоздевого забоя.

 



Поделиться с друзьями:

mylektsii.su - Мои Лекции - 2015-2026 год. (0.924 сек.)Все материалы представленные на сайте исключительно с целью ознакомления читателями и не преследуют коммерческих целей или нарушение авторских прав Пожаловаться на материал