Студопедия

Главная страница Случайная страница

КАТЕГОРИИ:

АвтомобилиАстрономияБиологияГеографияДом и садДругие языкиДругоеИнформатикаИсторияКультураЛитератураЛогикаМатематикаМедицинаМеталлургияМеханикаОбразованиеОхрана трудаПедагогикаПолитикаПравоПсихологияРелигияРиторикаСоциологияСпортСтроительствоТехнологияТуризмФизикаФилософияФинансыХимияЧерчениеЭкологияЭкономикаЭлектроника






Первичная перегонка нефти на промышленных установках






Подготовленная на ЭЛОУ нефть после удаления солей и воды поступает на установки первичной перегонки для разделения на дистиллятные фракции, мазут и гудрон. Полученные фракции и остаток, как правило, не соответствуют требованиям ГОСТ на товарные н/п, поэтому для их облагораживания, а также углубления переработки нефти продукты, полученные на установках АТ и АВТ, используются в качестве сырья вторичных (деструктивных) процессов.

Технология первичной перегонки нефти имеет целый ряд принципиальных особенностей, обусловленных природой сырья и требованиями к получаемым продуктам. Нефть как сырье для перегонки обладает следующими свойствами:

- имеет непрерывный характер выкипания,

- невысокую термическую стабильность тяжелых фракций и остатков, содержащих значительное количество сложных малолетучих смолистоасфальтеновых и серо-, азот- и металлоорганических соединений, резко ухудшающих эксплуатационные свойства н/п и затрудняющих последующую их переработку. Поскольку температура термической стабильности тяжелых фракций примерно соответствует температурной границе деления нефти между дизельным топливом и мазутом по кривой ИТК, первичную перегонку нефти до мазута проводят обычно при атмосферном давлении, а перегонку мазута в вакууме. Также этот выбор обусловлен не только термической стабильностью тяжелых фракций нефти, но и технико-экономическими показателями процесса разделения в целом. В некоторых случаях температурная граница деления нефти определяется требованиями к качеству остатка, так, например, при перегонке нефти с получением котельного топлива температурная граница деления проходит около 300 0С, т.е. примерно половина фракции дизельного топлива отбирается с мазутом для получения котельного топлива.

В последние годы для расширения ресурсов дизельного топлива, а также сырья каталитического крекинга – наиболее важного и освоенного процесса, углубляющего переработку нефти – на установках АТ и АВТ осуществляется все более глубокий отбор дизельной фракции и вакуумного газойля соответственно, а для получения котельного топлива заданной вязкости используется процесс висбрекинга тяжелого остатка вакуумной перегонки. Таким образом, вопрос обоснования и выбора температурной границы деления нефти зависит от вариантов технологических схем переработки мазута и вариантов переработки нефти в целом. Обычно перегонку нефти и мазута ведут соответственно при атмосферном давлении и в вакууме при максимальной (без крекинга) температуре нагрева сырья с отпариванием легких фракций водяных паром. Сложный состав остатков перегонки требует также организации четкого отделения от них дистиллятных фракций, в том числе и высокоэффективной сепарации фаз при однократном испарении сырья. Для этого устанавливают отбойные элементы, что и позволяет избежать уноса капель паровым потоком.

 

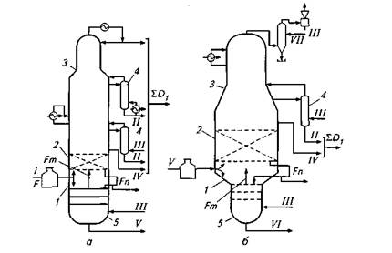
Рис. Принципиальные схемы атмосферной колонны для перегонки нефти (а) и вакуумной колонны для перегон­ки мазута (б):

1— секция питания; 2 сепарационная секция; 3 сложная колонна; 4—боковые отпарные секции; 5—нижняя отпарная секция;

I—нефть; II — дистиллятные фракции; III - водяной пар; IV - затемненный продукт; V - мазут; VI - гудрон; VII - вода;


Поделиться с друзьями:

mylektsii.su - Мои Лекции - 2015-2026 год. (1.024 сек.)Все материалы представленные на сайте исключительно с целью ознакомления читателями и не преследуют коммерческих целей или нарушение авторских прав Пожаловаться на материал