Студопедия

Главная страница Случайная страница

КАТЕГОРИИ:

АвтомобилиАстрономияБиологияГеографияДом и садДругие языкиДругоеИнформатикаИсторияКультураЛитератураЛогикаМатематикаМедицинаМеталлургияМеханикаОбразованиеОхрана трудаПедагогикаПолитикаПравоПсихологияРелигияРиторикаСоциологияСпортСтроительствоТехнологияТуризмФизикаФилософияФинансыХимияЧерчениеЭкологияЭкономикаЭлектроника






Комбинированная установка первичной переработки нефти






В большинстве случаев атмосферная перегонка нефти и вакуумная перегонка мазута проводятся на одной установке АВТ, которая часто комбинируется с ЭЛОУ, а иногда и с блоком вторичной перегонки бен­зина. Типовые мощности отечественных установок первичной перера­ботки нефти 2, 3, 4, 6 млн т/год.

Ниже приводится описание работы комбинированной установки ЭЛОУ-АВТ с секцией вторичной перегонки бензиновой фракции.

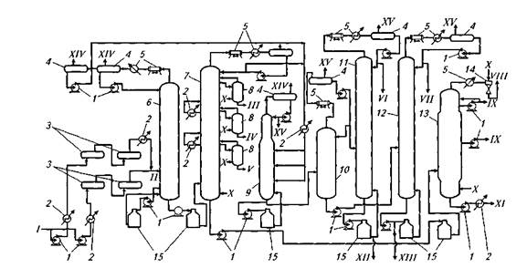
Установка рассчитана на переработку нестабильной нефти типа ромашкинской и отбор фракций н. к. — 62, 62—140, 140—180, 180—220 (240), 220 (240)-280, 280-350, 350-500 °С (остаток-гудрон). Исход­ное сырье, поступающее на установку, содержит 100—300 мг/л солей и до 2 % (мае.) воды. Содержание низкокипящих углеводородных газов в нефти достигает 2, 5 % (мае.) на нефть. На установке принята двухсту­пенчатая схема электрообессоливания, позволяющая снизить содержа­ние солей до 3—5 мг/л и воды до 0, 1 % (мае.). Технологическая схема установки предусматривает двукратное испарение нефти. Головные фракции из первой ректификационной колонны и основной ректифи­кационной колонны вследствие близкого фракционного состава полу­чаемых из них продуктов объединяются и совместно направляются на стабилизацию. Бензиновая фракция н. к. — 180 °С после стабилизации направляется на вторичную перегонку для выделения фракций н. к. — 62, 62—140 и 140—180 °С. Блок защелачивания предназначается для щелочной очистки фракций н. к. — 62 (компонент автобензина) и 140— 220 °С (компонент топлива ТС-1). Фракция 140—220 °С промывается водой, а затем осушается в электроразделителях.

Сырая нефть (рис. 8.17) прокачивается насосами двумя потоками через теплообменники, где нагревается до 160 °С за счет регенерации тепла горячих нефтепродуктов, и направляется двумя параллельными потоками в электродегидраторы 3. На прием сырьевых насосов подает­ся щелочной раствор и деэмульгатор. В электрическом поле высокого напряжения эмульсия разрушается и вода отделяется от нефти. Электродегидраторы рассчитаны на работу при 145—160 °С и давлении 1, 4— 1, 6 МПа. Обессоленная и обезвоженная нефть двумя потоками допол­нительно нагревается в теплообменниках до 210—250 °С и направляется в первую ректификационную колонну 6. С верха колонны головной погон в паровой фазе отводится в конденсаторы-холодильники воз­душного охлаждения и после доохлаждения в водяном холодильнике до 30—35 °С поступает в емкость 4. Тепловой режим в колонне б под­держивается «горячей» струей, поступающей из печи 75 с температу­рой 340 0С.

 

Рис.. Принципиальная схема комбинированной установки ЭЛОУ-АВТ

производитель­ностью 6 млн т/год сернистой нефти:

 

1 — насосы; 2 —теплообменники; 3—электродегидраторы; 4 емкости; 5—конденсаторы-холо­дильники; 6 первая ректификационная колонна; 7—основная ректификационная колонна; 8 отпарные колонны; 9 фракционирующий абсорбер; 10— стабилизатор; 11, 12— фракцио­нирующие колонны вторичной перегонки бензина; 13 вакуумная колонна; 14— вакуумсоздающее устройство; 15—печи;

I—сырая нефть; II—обессоленная нефть; III— V—компоненты светлых нефтепродуктов; VI, VII— узкие бензиновые фракции (н.к. — 62 °С и 85— 120 °С соответственно); VIII — продукты разложения; IX— дистилляты вакуумной колонны; X—острый водяной пар; XI—гудрон; XII— бензольная фракция (62—85 °С); XIII — тяжелая фракция бензина (выше 120 °С); XIV— су­хой газ; XV— жирный газ

 

Остаток первой ректификационной колонны 6 полуотбензиненная нефть — нагревается в печи атмосферного блока установки до 360 °С и поступает в основную ректификационную колонну 7, вверху которой поддерживается давление 0, 15 МПа. В этой колонне применя­ются верхнее острое и два циркуляционных орошения. С верха колон­ны выходят пары фракции 85— 180°С и водяной пар, которые направ­ляются в конденсаторы-холодильники. Конденсат при 30—35 0С пода­ется в емкость. Из основной ректификационной колонны 7 в виде бо­ковых погонов через соответствующие отпарные колонны 8выводят фракции 180-220 °С (III), 220-280 °С (IV)и 280-350 0C (V).

Фракции 85—180°С и 180—220 °С защелачивают. Фракции 220— 280 °С и 280—350 0С после охлаждения до 60 °С направляют в резервуа­ры. Мазут (нижний продукт основной ректификационной колонны) подается в печь 75 вакуумного блока установки, где нагревается до 410 °С, и с этой температурой проходит в вакуумную колонну 13.

Получаемая в вакуумной колонне верхняя боковая фракция до 350 °С подается в основную ректификационную колонну 7. Из вакуум­ной колонны в виде бокового погона отводится фракция 350—500 0С. В этой колонне обычно применяется одно промежуточное циркуляцион­ное орошение. Гудрон с низа вакуумной колонны прокачивается через теплообменники и холодильники и при 90 °С направляется в промежу­точные резервуары.

На установке применяются в основном аппараты воздушного ох­лаждения, что способствует сокращению расхода воды.

На установке предусмотрена возможность работы без блока вакуум­ной перегонки. В этом случае мазут с низа ректификационной колонны 7 прокачивается через теплообменники и холодильники, где охлаждает­ся до 90 °С, и направляется в резервуарный парк.

Широкая бензиновая фракция н.к. — 180 °С после нагрева до 170 °С поступает в абсорбер 9. После отделения в абсорбере сухих газов (XIV) нижний поток направляется в стабилизатор 10. В абсорбере и стабили­заторе поддерживается давление 1, 2МПа. В стабилизаторе 10 нижний продукт абсорбера разделяется на два потока: верхний (до 85 °С) и ниж­ний (выше 85 °С). В колонне 77 верхний поток разделяется на узкие фракции VI (н.к. — 62 °С) и XII (62—85 °С). Нижний поток из стабили­затора направляется в колонну 72, в которой разделяется на фракцию VII (85—120 °С) и XIII (120—180 °С). Тепловой режим абсорбера регули­руется подачей флегмы, которая прокачивается через печь и в паровой фазе возвращается в низ абсорбера.

Установка может работать с выключенным блоком вторичной пере­гонки. В этом случае стабильный бензин с низа стабилизатора 10на­правляется в теплообменник, откуда поток через холодильник поступа­ет на защелачивание и далее в резервуарный парк.

Для удаления следов воды фракцию 140—250 °С осушают в электроразделителях.

На 1т перерабатываемой нефти расходуется 3, 5—4м3 воды, 1, 1 кг водяного пара, 27—33 кг топлива. На установке рационально использу­ется тепловая энергия вторичных источников. За счет утилизации тепла горячих потоков производится около 35 т/ч пара высокого давления. В начале установка была запроектирована без блока ЭЛОУ, в процессе эксплуатации она была дооборудована этим узлом. На ряде нефтепе­рерабатывающих заводов производительность установки в результате дооборудования дополнительными аппаратами и сооружениями пре­высила проектную — 6 млн т/год и достиглГ 7—8 млн т/год.

Материальный баланс установки производительностью 6 млн т/год (для нефти типа ромашкинской) характеризуется данными табл.

Полученные при первичной перегонке нефти продукты не являются товарными и направляются на облагораживание (гидроочистка, депарафинизация) или на дальнейшую переработку путем деструктивных вторичных процессов. Эти процессы обеспечивают получение ценных компонентов топлива и мономеров для нефтехимического синтеза, уг­лубление переработки нефти, а также более широкого ассортимента продукции НПЗ.

Ко вторичным деструктивным процессам относятся изомеризация, риформинг, термический и каталитический крекинг, гидрокрекинг, коксование, окисление гудрона в битумы. По масляному варианту со­ответствующие узкие фракции вакуумного газойля и гудрон направля­ются на последовательные процессы очистки и приготовления товар­ных масел.

Таблица. Материальный баланс установки ЭЛОУ-АВТ

| % (мае.) на нефть т/сут тыс. т/год
Взято:  
нестабильная нефть 100 17640, 0 6000, 0
вода в нефти 2, 0 3, 5 12, 0
Всего 102, 0 17643, 5 6012, 0
Получено:  
газ 1, 50 259, 5 90
фракция, °С:  
н.к.-62 2, 53 477, 6 152
62-140 9, 27 1603, 5 557
140-180 5, 90 1020, 6 354
180-220 7, 10 1220, 1 425
220-280 9, 30 1608, 7 559
280-350 10, 70 1890, 8 641
350-500 21, 00 3682, 5 1260
гудрон (> 500 °С) 32, 00 5535, 2 1920
потери 0, 70 121, 1 42
вода (остаточная) 0, 20 34, 6 12
вода и соли 1, 80 311, 4 108
Всего 102, 0 17643, 5 6012, 0

 

Таким образом, являясь головным процессом НПЗ как топливного, масляного, так и нефтехимического профиля, первичная перегонка не­фти обеспечивает сырьем все установки завода. От качества разделения нефти — полноты отбора фракций от потенциала и четкости разделе­ния — зависят технологические параметры и результаты работы всех последующих процессов и в конечном итоге общий материальный ба­ланс завода и качество товарных нефтепродуктов.

 

 


Поделиться с друзьями:

mylektsii.su - Мои Лекции - 2015-2026 год. (1.142 сек.)Все материалы представленные на сайте исключительно с целью ознакомления читателями и не преследуют коммерческих целей или нарушение авторских прав Пожаловаться на материал