Студопедия

Главная страница Случайная страница

КАТЕГОРИИ:

АвтомобилиАстрономияБиологияГеографияДом и садДругие языкиДругоеИнформатикаИсторияКультураЛитератураЛогикаМатематикаМедицинаМеталлургияМеханикаОбразованиеОхрана трудаПедагогикаПолитикаПравоПсихологияРелигияРиторикаСоциологияСпортСтроительствоТехнологияТуризмФизикаФилософияФинансыХимияЧерчениеЭкологияЭкономикаЭлектроника






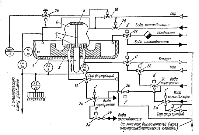
Описание функциональной схемы процесса вулканизации






Рисунок 2 – Функциональная схема процесса вулканизации автомобильных покрышек в форматоре-вулканизаторе: 1-нижняя половина паровой камеры; 1а-термоэлектрический преобразователь; 1б-регулирующий потенциометр; 1в-исполнительное устройство; 2-нижняя полуформа; 2а-командный электропневматический прибор; 3-цилиндр; 4-шток; 5-верхнее бертовое кольцо; 6-диафрагма; 7-нижнее бортовое кольцо; 8, 9, 10-реле давления; 2б, 2г, 2д, 2е, 2ж, 2к, 11, 13-трёхходовые клапаны; 2в, 2и, 2л, 12-двухходовые клапаны.

 

Правильно надетая на диафрагму покрышка обеспечивает включение электродвигателя форматора-вулканизатора, который начинает производить смыкание половин паровой камеры. При некотором смыкании верхней и нижней 1 половин камеры с помощью конечного выключателя закрывается клапан 11 на линии вакуума, и эта линия отключается от диафрагмы. К мембране клапана 13, установленного на линии подачи формующего пара в диафрагму (клапан 12 на линии сброса формующего пара открыт), подаётся воздух, и включается реле времени. Через некоторое время это реле, настроенное на полное вытеснение воздуха из всей системы и некоторый её прогрев, оеспечит закрытие клапана 12.

При дальнейшем закрытии паровой камеры откроется клапан на линии подачи воздуха (на схеме не показан) для обдува пресс-формы и покрышек.

Не закрыв полностью паровую камеру, двигатель форматора-вулканизатора останавливается; при этом клапан 13 закрывается. Одновременно диафрагма через клапан 12 сообщается с линией выпуска формующего пара.

Давление снимают для того, чтобы дать возможность диафрагме и покрышке занять правильное положение. Через некоторое время включенное при останове паровых камер реле времени включит двигатель форматора-вулканизатора, и паровые камеры будут продолжать закрываться. Вновь откроется клапан 13 и произойдёт повторный обдув пресс-форм. При дальнейшем закрытии паровой камеры прекратится подача формующего пара в диафрагму (клапан 13 закроется), и диафрагма сообщится с линией сброса формующего пара (клапан 12). Таким образом предотвращатся сильное раздутие покрышки и попадание протектора в стык полуформ.

Перед полным закрытием паровой камеры прекращается обдув пресс-формы. В момент достижения оптимального натяга в соединении половин камеры двигатель форматора-вулканизатора останавливается (с помощью конечного выключателя), а командный электропневматический прибор (КЭП) 2а включается в работу. При этом закрывается клапан 2г на линии сброса охлаждающей воды, который оставался открытым от предыдущего цикла. Одновременно чере этот клапан паровая камера сообщается с линией сброса конденсата. Открывается клапан 2д на линии подачи греющего пара в диафрагму. Открывается клапан 2б и пропускает сжатый водух от регулятора температуры 1б к мембране регулирующего клапана 1в на линии пара в паровую камеру. Этот регулятор начинает регулировать температуру в паровой камере.

После непродолжительного прогрева покрышки изнутри закрывается клапан 2д; закрывается клапан 2и на линии циркуляции перегретой воды, и открывается клапан 2е на линии её подачи.

По окончании вулканизации закрывается клапан 2б; при этом воздух с мембраны клапана 1в сбрасывается в атмосферу, и клапан закрывается. Закрываются клапаны 2е и 2к на линиях подачи и сброса перегретой воды, и открывается клапан 2и на линии циркуляции перегретой воды (во избежание её остывания в подводящих трубах при отсутствии потребления). Открываются клапаны 2ж и 2л на линиях подачи и сброса охлаждающей воды. Открывается клапан 2в и начинается охлаждение пресс-форм. Клапан 2г срабатывает, отключая выход паровой камеры от конденсатоотводчика и подсоединяя его к линии сброса охлаждающей воды.

Далее командный прибор включает двигатель форматора-вулканизатора, паровая камера начинает открываться, и прибор отключается. Как только паровая камера начинает открываться, отключается питание командного прибора сжатым воздухом и подключается сжатый воздух к электропневматическим клапанам, управляемым конечными выключателями форматора-вулканизатора. С помощью клапана 11 диафрагма сообщается с линией вакуума, на этом вулканиация покрышки заканчивается.

Для обеспечения безопасной работы в схеме автоматизации предусмотрены реле давления 8, 9, 10, не позволяющие открыть паровую камеру, если камера или диафрагма находятся под давлением.

 

 


 


Поделиться с друзьями:

mylektsii.su - Мои Лекции - 2015-2026 год. (2.082 сек.)Все материалы представленные на сайте исключительно с целью ознакомления читателями и не преследуют коммерческих целей или нарушение авторских прав Пожаловаться на материал