Студопедия

Главная страница Случайная страница

КАТЕГОРИИ:

АвтомобилиАстрономияБиологияГеографияДом и садДругие языкиДругоеИнформатикаИсторияКультураЛитератураЛогикаМатематикаМедицинаМеталлургияМеханикаОбразованиеОхрана трудаПедагогикаПолитикаПравоПсихологияРелигияРиторикаСоциологияСпортСтроительствоТехнологияТуризмФизикаФилософияФинансыХимияЧерчениеЭкологияЭкономикаЭлектроника






Б) Схемы тупиковых и ответвительных подстанций






Тупиковые и ответвителные подстанции выполняются по упро­щенным схемам без выключателей высокого напряжения.

Однотрансформаторная подстанция может присоединяться к пи­тающей сети но схеме блок трансформатор — линия с установкой КЗ и ОД или передачей телеотключающого импульса на опорную подстанцию (см. рис. 5-11, б).

Подстанции 35- 110 кВ с двухобмоточными трансформаторами небольшой мощности (до 6300 кВА) могут иметь на стороне ВН только предохранитель и разъединитель. В этом случае необходимо проверить селективность работы предохранителей к релейной защиты линий.

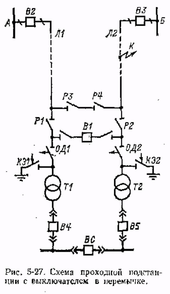
Двухтрансформаторные подстанции в отличие от схемы (рис. 5-11, б) снабжаются автоматической или неавтоматической пере­мычкой на стороне высшего напряжения (рис. 5-26).

В автоматической перемычке (рис. 5-26, а) установлен разъеди­нитель и отделитель двустороннего действия. Нормально РЗ вклю­чен, а ОДЗ отключен, так как режим работы двух линий на один трансформатор череп включенную перемычку недопустим: при повреждении в одной из параллельных линий релейная защита Отключит обе линии.


Поделиться с друзьями:

mylektsii.su - Мои Лекции - 2015-2026 год. (0.453 сек.)Все материалы представленные на сайте исключительно с целью ознакомления читателями и не преследуют коммерческих целей или нарушение авторских прав Пожаловаться на материал