Студопедия

Главная страница Случайная страница

КАТЕГОРИИ:

АвтомобилиАстрономияБиологияГеографияДом и садДругие языкиДругоеИнформатикаИсторияКультураЛитератураЛогикаМатематикаМедицинаМеталлургияМеханикаОбразованиеОхрана трудаПедагогикаПолитикаПравоПсихологияРелигияРиторикаСоциологияСпортСтроительствоТехнологияТуризмФизикаФилософияФинансыХимияЧерчениеЭкологияЭкономикаЭлектроника






Циклоны






Циклоны предназначены для отделения транспортируемого материала и пыли от воздуха в пункте назначения.

Циклоны состоят из двух цилиндров – наружного и внутреннего. В верхней части кольцевое пространство между этими цилиндрами закрыто. Наружный цилиндр в нижней части примыкает к конусу, имеющему внизу разгрузочное отверстие, соединенному с бункером. Над циклоном можно установить зонт.

Попав в циклон, поток материаловоздушной смеси начинает вращаться, прижимаясь к стенкам циклона. Возникающие силы трения тормозят крупные древесные частицы, которые теряют свою скорость и, двигаясь по спирали вниз, попадают к разгрузочному отверстию.

Воздух и частицы пыли размером менее 10 мкм, вращаясь, выходят через внутренний цилиндр в атмосферу или воздуховод. Аэродинамическое сопротивление циклона зависит от величины диаметра этого внутреннего цилиндра (приложение Б).

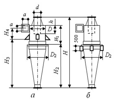
На рис. 25 приведены схемы циклонов типа УЦ. Основные размеры циклонов указаны в табл. 11.

 

    Рис. 25. Циклоны УЦ а - № 500, 630, 1200, 1400; б - № 560, 710, 800, 900, 1100, 1300, 1500, 1600, 1800, 2000

Преимущества циклонов. Простота конструкции, надежность в эксплуатации при сравнительно небольших капитальных и эксплутационных затратах.

Недостатки:

– унос тепла из помещения цеха с аспирационным воздухом;

– используется мощный вентилятор, начиная с №5 и выше;

– низкая степень очистки воздуха, особенно от пыли (93…97%); циклоны УЦ модификации №1 пылят меньше, чем №4, но имеют высокое гидравлическое сопротивление.

Циклоны, как правило, используют для грубой и средней очистки воздуха от сухой неслипающейся пыли. Они малоэффективны при улавливании пыли размером до 5 –10 мкм, что является основным их недостатком.

 

 

Таблица 11

Размеры циклонов типа УЦ

Циклон (калибр) Размеры, мм d, мм Размеры, мм
№ модификации
D D1 D2         Н Н1
УЦ500                  
УЦ560                  
УЦ630                  
УЦ710                  
УЦ800                  
УЦ900                  
УЦ1000                  
УЦ1100                  
УЦ1200                  
УЦ1300                  
УЦ1400                  
УЦ1500                  
УЦ1600                  
УЦ1800                  
УЦ2000                  

 

Окончание табл. 11

 

Циклон (калибр) Размеры, мм Масса, кг
Н2 Н3 h k a R c х  
УЦ500                  
УЦ560                  
УЦ630                  
УЦ710                  
УЦ800                  
УЦ900                  
УЦ1000                  
УЦ1100                  
УЦ1200                  
УЦ1300                  
УЦ1400                  
УЦ1500                  
УЦ1600                  
УЦ1800                  
УЦ2000                  

Поделиться с друзьями:

mylektsii.su - Мои Лекции - 2015-2026 год. (1.099 сек.)Все материалы представленные на сайте исключительно с целью ознакомления читателями и не преследуют коммерческих целей или нарушение авторских прав Пожаловаться на материал