Студопедия

Главная страница Случайная страница

КАТЕГОРИИ:

АвтомобилиАстрономияБиологияГеографияДом и садДругие языкиДругоеИнформатикаИсторияКультураЛитератураЛогикаМатематикаМедицинаМеталлургияМеханикаОбразованиеОхрана трудаПедагогикаПолитикаПравоПсихологияРелигияРиторикаСоциологияСпортСтроительствоТехнологияТуризмФизикаФилософияФинансыХимияЧерчениеЭкологияЭкономикаЭлектроника






Воздуховоды, загрузочно-разгрузочные устройства






Трубопроводы. Надежность и эффективность работы пневмотранспортной установки зависит от правильного выбора воздуховодов. Трубопроводы должны быть герметичны, износоустойчивы, иметь гладкую внутреннюю поверхность.

В пневмотранспортных установках низкого давления трубопроводы выполняются так же, как в системах аспирации. При значениях концентрации смеси m > 0, 5 кг на 1 кг воздуха применяют сварные трубы с толщиной стенки 3 мм.

В установках среднего и высокого давления используют стальные бесшовные трубы. по ГОСТ 10704-76 и со спиральным швом по ГОСТ 8732-78. Наружный диаметр труб, мм, берется из ряда: 219; 245; 273; 299; 325; 351; 377; 402; 426; 480; 530; 630. Возможно применение трубопроводов из винипласта и полиэтилена, органического и неорганического стекла.

Питатели предназначены для ввода материала или аэросмеси в трубопроводы. В зависимости от принципа действия и конструкций питатели называют камерными, шлюзовыми, винтовыми, эжекционными.

В установках низкого давления применяют эжекционные, шлюзовые питатели, в установках среднего давления – шлюзовые и шнековые питатели, в установках высокого давления – шнековые питатели.

Эжекционный питатель (см. рис. 44) состоит из конфузора (передней сужающейся части), смесительной камеры, диффузора (задней расширяющейся части) и загрузочной воронки, расположенной над смесительной камерой. В идеальном случае динамическое давление за конфузором должно быть равно полному сопротивлению транспортного воздуховода. Если это равенство не соблюдается, то возможно либо выброс воздуха через загрузочную воронку, либо подсос воздуха через нее.

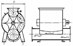
Шлюзовые барабанные питатели получили широкое распространение для подачи в транспортный трубопровод технологической щепы, коры, опилок и других древесных материалов. На рис. 46 показан шлюзовой питатель конструкции Санкт-Петербургской ЛТА. Питатель состоит из корпуса, образованного двумя цилиндрами, при этом в верхнем цилиндре установлен приводной ротор с обрезиненными лопастями. Ячейки между лопастями ротора имеют форму полуцилиндра.

Воздушный поток продувает ячейки ротора и очищает их от материала. Для сокращения утечки воздуха ротор питателя должен устанавливаться в корпусе с минимальным зазором 0, 05 мм. Коэффициент гидравлического сопротивления шлюзового питателя равен 0, 45…1, 0.

  Рис. 46. Шлюзовый барабанный питатель

Длину ротора рекомендуется принимать в пределах (0, 8...1, 2) D, где D - диаметр ротора. Число ячеек ротора обычно принимают от 6 до 10. Частота вращения ротора может быть принята в пределах от 10 до 30 мин-1.

Производительность шлюзовых барабанных питателей определяется по формуле, кг/ч:

М = 60 i gм a j n,

где i – объем всех ячеек, м3;

gм – объемная масса материала, для щепы и опилок gм» 200 кг/м3;

a – поправочный коэффициент, для стружки и опилок a = 0, 8, для щепы – 0, 9;

j – коэффициент заполнения ячеек питателя материалом, j = 0, 4...0, 6;

n – частота вращения ротора питателя.


Поделиться с друзьями:

mylektsii.su - Мои Лекции - 2015-2026 год. (0.537 сек.)Все материалы представленные на сайте исключительно с целью ознакомления читателями и не преследуют коммерческих целей или нарушение авторских прав Пожаловаться на материал