Студопедия

Главная страница Случайная страница

КАТЕГОРИИ:

АвтомобилиАстрономияБиологияГеографияДом и садДругие языкиДругоеИнформатикаИсторияКультураЛитератураЛогикаМатематикаМедицинаМеталлургияМеханикаОбразованиеОхрана трудаПедагогикаПолитикаПравоПсихологияРелигияРиторикаСоциологияСпортСтроительствоТехнологияТуризмФизикаФилософияФинансыХимияЧерчениеЭкологияЭкономикаЭлектроника






Допуски формы.






Лекция № 4.

Отклонения формы и расположения поверхностей.

ГОСТ 2.308-79

 

При анализе точности геометрических параметров деталей различают номинальные и реальные поверхности, профили; номинальное и реальное расположение поверхностей и профилей. Номинальные поверхности, профили и расположения поверхностей определяются номинальными размерами: линейными и угловыми.

Реальные поверхности, профили и расположения поверхностей получаются в результате изготовления. Они всегда имеют отклонения от номинальных.

 

Допуски формы.

В основу формирования и количественной оценки отклонений формы поверхностей положен принцип прилегающих элементов.

Прилегающий элемент, это элемент соприкасающийся с реальной поверхностью и расположенный вне материала детали, так чтобы расстояние от него в наиболее удалённой точке реальной поверхности в пределах нормируемого участка имело бы минимальное значение.

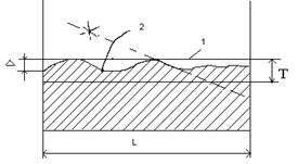
Прилегающим элементом может быть: прямая, плоскость, окружность, цилиндр и т.п. (Рис. 1, 2).

1 - прилегающий элемент;

2 – реальная поверхность;

L - длина нормируемого участка;

Δ - отклонение формы, определяемое от прилегающего элемента по нормали к поверхности.

Т - допуск формы.

 

 

 

 

Рис 2. Рис. 1

 

Поле допуска - область в пространстве, ограниченная двумя эквидистантными поверхностями, отстоящими одна от другой на расстоянии равном допуску Т, который откладывается от прилегающего элемента в тело детали.

Количественное отклонение формы оценивают наибольшим расстоянием от точек реальной поверхности (профиля) до прилегающей поверхности (профиля) по нормали к последней (рис.2). Прилегающими поверхностями служат: рабочие поверхности рабочих плит, интерференционных стекол, лекальных линеек, калибров, контрольных оправок и т.п.

Допуском формы называется наибольшее допускаемое отклонение Δ (рис.2).

Отклонения формы поверхностей.

1. Отклонение от прямолинейности в плоскости – это наибольшее от точек реального профиля до прилегающей прямой. (Рис. 3а).


Рис. 3

а) б)

 

Обозначение на чертеже:

 

Допуск прямолинейности 0, 1мм на базовой длине 200мм

 

2. Допуск плоскостности - это наибольшее допускаемое расстояние () от точек реальной поверхности до прилегающей плоскости в пределах нормированного участка (Рис. 3б).

Обозначение на чертеже:

Допуск плоскостности (не более) 0, 02мм на базовой поверхности 200 100 мм.

 


Методы контроля.

 

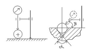
Замер неплоскостности с помощью поворотного плоскомера.
Рис 5а.


Рис 5б. Схема замера неплоскостности.

Контроль в схеме 6б

осуществляется на просвет или

с помощью щупа

(погрешность 1-3мкм)

 

 

а) б)

Рис 6. Схемы замера непрямолинейности.

Контроль плоскостности осуществляют:

- методом «На краску» по количеству пятен в рамке размером 25 25мм

-с помощью интерференционных пластин (для доведенных поверхностей до 120мм) (Рис 7).

При наложении пластины с небольшим наклоном на проверяемую поверхность детали прямоугольной формы возникают интерференционные полосы, а на поверхности круглой детали - интерференционные кольца.

При наблюдении в белом свете расстояние между полосами равно в = 0, 3мкм (половине длины волны белого света).

Рис. 7.
Неплоскостность оценивается в долях интервала интерференционных полос. По картинке мкм. мкм

Допуск прямолинейности оси цилиндра 0, 01мм (стрелка допуска формы упирается в стрелку размера 20f 7). (Рис 8)

 

Рис 8.

Схема замера

 

Допуски прямолинейности поверхностей задаются на направляющие; плоскостности - для плоских торцевых поверхностей для обеспечения герметичности (плоскости разъема корпусных деталей); работающих при больших давлениях (торцевые распределители) и т.д.

Допуски прямолинейности осей – для длинных цилиндрических поверхностей (типа штоков), перемещающихся в горизонтальном направлении; цилиндрических направляющих; для деталей, собирающихся с ответными по нескольким поверхностям.

Допуски и отклонения формы цилиндрических поверхностей.

1. Допуск круглости - наиболее допускаемое отклонение от круглости наибольшее расстояние i от точек реальной поверхности до прилегающей окружности.

Поле допуска - область, ограниченная двумя концентрическими окружностями на плоскости перпендикулярной оси поверхности вращения.

Допуск круглости поверхности 0, 01мм.

Кругломеры

а) б) в) г)

Рис 9. Схемы замера отклонения от круглости.

 

Частными видами отклонений от круглости являются овальность и огранка (Рис10).

 

Овальность Огранка

Рис 10.

Для разной огранки индикаторную головку устанавливают под углом (Рис.9б).

 

2. Допуски цилиндричности - это наибольшее допускаемое отклонение реального профиля от прилегающего цилиндра.

Складывается из отклонения от круглости (замер не менее чем в трех точках) и отклонения от прямолинейности оси.

3. Допуск профиля продольного сечения – это наибольшее допускаемое отклонение профиля или формы реальной поверхности от прилегающего профиля или поверхности (заданных чертежом) в плоскости, проходящей через ось поверхности.

Допуск профиля продольного сечения 0, 02мм.
Частные виды отклонения профиля продольного сечения:

 

а)

 

б) в) г)

Конусность Бочкообразность Седлообразность

д)

 

Рис 11. Отклонение профиля продольного сечения а, б, в, г и схемы замера д.

 

Допуски круглости и профиля продольного сечения задаются для обеспечения равномерного зазора в отдельных сечениях и по всей длине детали, например, в подшипниках скольжения, для деталей пары поршень-цилиндр, для золотниковых пар; цилиндричности для поверхностей, требующих полноты контакта деталей (соединяющихся по посадкам с натягом и переходным), а также для деталей большой протяженности типа «штоков».

 


Поделиться с друзьями:

mylektsii.su - Мои Лекции - 2015-2026 год. (0.778 сек.)Все материалы представленные на сайте исключительно с целью ознакомления читателями и не преследуют коммерческих целей или нарушение авторских прав Пожаловаться на материал