Студопедия

Главная страница Случайная страница

КАТЕГОРИИ:

АвтомобилиАстрономияБиологияГеографияДом и садДругие языкиДругоеИнформатикаИсторияКультураЛитератураЛогикаМатематикаМедицинаМеталлургияМеханикаОбразованиеОхрана трудаПедагогикаПолитикаПравоПсихологияРелигияРиторикаСоциологияСпортСтроительствоТехнологияТуризмФизикаФилософияФинансыХимияЧерчениеЭкологияЭкономикаЭлектроника






Вопрос № 1. Оборудование для ручной разделки полутуш






В качестве инструмента для ручной разделки используют промышленные ножи и секачи, механизированные секачи, переносные механизированные дис­ковые пилы и ножовки, стационарные ленточные пилы.

Устройство ручного механизированного инструмента рассматривалось ранее.Следует лишь отметить, что для целей разделки полутуш и отрубов применяют дисковые пилы с диаметром пильного диска от 160 до 300 мм и мощностью привода от 0, 65 до 2 кВт.

Стационарные ленточные пилы применяют для разделки свиных полутуш на отруба, свиных и говяжьих отрубов на части, тушек птицы на части. На этих пи­лах производят и мясокостные полуфабрикаты. В зависимости от назначения из­меняются размеры пил и мощность их привода. Основными размерами, опреде­ляющими область применения пил, являются высота пропила и размер просвета от пильного полотна до внутренней стороны станины — вылет пилы. Для разде­ления свиных полутуш и говяжьих отрубов используют пилы с высотой пропила от 450 до 860 мм и размером вылета от 600 до 1100мм. Мощность привода этих пил лежит в пределах от 3, 6 до 4кВт. Для других целей применяют пилы с высо­той пропила от 260 до 440 мм и вылетом от 280 до 480 мм. Мощность привода этих пил изменяется от 1, 1 до 2, 2 кВт. Скорость движения пильного полотна достигает 20 м/с. В зависимости от величины вылета пилы имеют два, три или четыре шки­ва, на которые устанавливают бесконечные ленточное пильное полотно.

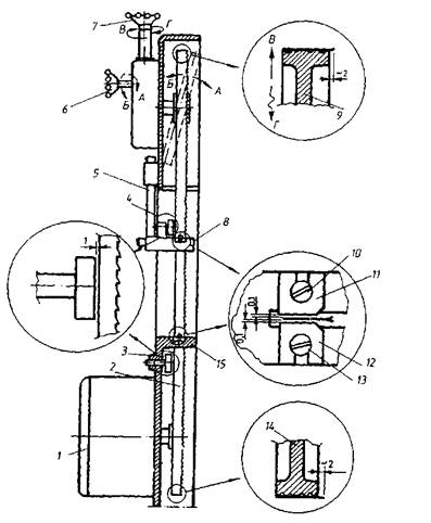
Ленточная пила В2-ФР-2П, рис. 1, а, имеет два шкива, вылет 480мм, наи­большую высоту пропила 350мм. Она состоит из сварной станины 9, в нижней части которой закреплен фланцевый электродвигатель 7. На валу электродвигате­ля с помощью шпонки и стопорного винта крепят тормозной 18 и приводной 21 шкивы. В верхней части станины смонтирован натяжной шкив, снабженный ме­ханизмами натяжения и установки пильного полотна. Натяжной шкив состоит из обода 17и ступицы 20, соединенных спицами 19.

Шариковые подшипники 23 впрессовывают в ступицу и устанавливают на оси 22, которую закрепляют в кронштейне 13. Кронштейн соединен с ползуном 15 натяжного механизма. Положение кронштейна 13 регулируют винтом с махови­ком 12. Для изменения усилия натяжной пружины 11 ползун 15перемещают ма­ховиком 10, закрепленным на ходовом винте 16.

На шкивы надевают бесконечное ленточное пильное полотно 3, которое в зоне резания фиксируют в боковом и торцевом направлениях для уменьшения вибраций и излишнего прогибания. Для этого в станине и в штанге 4 сделаны ка­либрованные щели, через которые проходит полотно, а с тыльной стороны по­лотна установлены опорные ролики 1.

При регулировании высоты пропила штангу перемещают в вертикальных на­правляющих станины и фиксируют винтом. Внешняя поверхность шкивов очи­щается от загрязнений пластмассовыми пластинами 6, которые закреплены на осях и прижимаются к шкивам пружинами.

Продукт подают к пильному полотну с помощью рабочего стола 2, состоящего из двух частей: внутренней и внешней. Обе части снабжены ходовыми роликами, которые перемешаются по рельсам, прикрепленным к станине. На внешней части стола устанавливают неподвижный поперечный упор, а на внутренней — про­дольно перемещаемую пластину, которая позволяет регулировать ширину отреза­емого куска. Обе части стола могут быть скреплены защелкой и перемещаться одновременно, но возможна фиксация внутренней части стола и перемещение только внешней.

Все движущиеся части пилы закрыты откидной крышкой 8. Под крышкой ус­тановлен конечный выключатель, который размыкает электрическую цепь и ис­ключает возможность включения пилы приоткрытой крышке.

 

Рис. 1. Ленточная пила В2-ФР-2П:

а — обший вид: 1 — опорный ролик; 2— рабочий стол; 3 — пильное полотно; 4 — штанги; 5— ловитель; 6— пластина; 7 — электродвигатель; 8— крышка; 9— станина; 10, 12 — маховик; 11 -пружина; 13—кронштейн; 14, 22— оси; 15— ползун; 16 — ходовой винт; 17 — обод натяжного шкива; 18, 21 — тормозной и приводной шкивы, 19 — спица; 20— ступица; 23 — ша­риковый подшипник;

б, в — схем а действии ловителя при работе и аварийном останове пилы соответственно: 1 -станина; 2 - пильное полотно; 3— ролик; 4 — рычаг; 5 — ось; 6 — пружина

 

При аварийном обрыве пильного полотна оно останавливается ловителем, ко­торый состоит (рис. 1, б) из рычага 4, закрепленного на оси 5, На конце рычага установлен ролик 3, который прижимается к пильному полотну 2 цилиндричес­кой или спиральной пружиной 6. При работе пильное полотно движется вниз со скоростью vp и натягивается силой Р. В этом случае сила нормального давления ролика на пильное полотно:

 

(1)

 

Сила Рн не может прогнуть полотно, и между полотном и стенкой станины 1 остается зазор 5. Сила трения ролика о полотно преодолевается приводом ма­шины. При обрыве пильного полотна (рис. 1, в) оно начинает двигаться в про­тивоположную сторону со скоростью δ за счет силы предварительного натяжения Р нат, а сила нормального давления ролика Рн прижимает полотно к поверхности станины. При этом создаются силы трения:

 

(2)

 

 

За счет сил трения полотно останавливается. Разорвавшееся полотно сварива­ют стыковой электросваркой, шов зачищают и полотно вновь устанавливают на шкивы.

 

Рис.2. Схема регулировки пильного полотна:

1 — электродвигатель; 2 — пильное полотно; 3, 4 — опорные ролики; 5— штанга; 6, 7— маховики; S— кронштейн; 9, 14- натяжной и приводной шкивы; 11, 12 — регулируемые направляющие; 10, 13— винты; 15 — станина;

А, Б — направления установки полотна; В, Г— направления натяжения полотна

 

Схема установки и регулировки полотна показана на рис.2. Зубья пильного полотна 2 должны выступать на 1...2мм от наружных краев приводного 14 и на тяжного 9 шкивов. Опорные ролики 3 и 4, установленные в станине 15 и штанге 5, должны находиться на расстоянии около 1 мм от заднего торца полотна. Щели в станине и кронштейне 8, через которые проходит пильное полотно, могут быть снабжены регулируемыми направляющими 11, 12 из твердого металла. Тогда с помощью винтов 10, 13 устанавливают боковые зазоры 0, 1 мм между пластинами и пильным полотном.

Поворотом по часовой стрелке маховика 7 полотно натягивают и проверяют его движение на холостом ходу. Если полотно «сходит» со шкивов, то поворотом маховика 6 по часовой стрелке или против наклоняют ось натяжного шкива 9, пока не обеспечится устойчивое положение полотна.

Толщина ленточного полотна пилы В2-ФР-2П 0, 7мм, ширина 22мм, ско­рость движения 19, 5 м/с. Установочная мощность электродвигателя 2, 2 кВт, про­изводительность в зависимости от размера отрезаемых кусков до 550 кг/ч. Масса пилы 270 кг

Ленточная пила ПЛМ-2М (малая модель) (рис.3) предназначена для распи­ливания мясокостного сырья при его фасовке. Она имеет вылет 280 мм и наи­большую высоту пропила 250мм. Пила состоит из чугунной литой станины 9, в нижней части которой на оси установлен чугунный приводной шкив 11. Шкив приводится в движение от электродвигателя 17 через открытую зубчатую передачу. В верхней части на оси ползуна 6 установлен натяжной шкив 8. Натяжение и установку пильного полотна производят маховиками 7 и 15. От боковых прогибов пильное полотно предохраняется направляющими роликами 3 и 4, устанавливае-

 

Рис. 3. Ленточная пила ПЛМ-2М:

/ — ходовой ролик; 2 — стол; 3. 4 — направляющие ролики; 5— винт; 6 — ползун; 7, 15— маховики; 8, 11 — натяжной и приводной шкивы; 9 — станина; 10— рельс; 12 — опорный ролик; 13— штанга; 14— направляющие; 16— кнопка управлении; 17 — электродвигатель

 

мыми на станине и на регулирующей штанге 13, а от торцевого прогиба — двумя опорными роликами 12. Штангу перемещают в направляющей 14 и фиксируют винтом 5. Пила снабжена устройствами для очистки шкивов и ловителем пильно­го полотна.

Подачу продукта производят с помощью стола 2, состоящего из двух частей, которые перемешаются на ходовых роликах 1 по рельсам 10.

Частота вращения шкивов 12, 5с-1, скорость пильного полотна 14м/с. Произ­водительность пилы при размере отрезаемого куска до 0, 5 кг составляет 1000... 1200 кг/ч, мощность привода 1, 0 кВт, масса 262 кг.

Пила ПЛБ-2М (большая модель) аналогична по конструкции пиле малой моде­ли. Однако диаметры приводного и натяжного шкивов увеличены до 800мм, что позволило получить вылет в 640 мм, а наибольшую высоту пропила — 400 мм. Поэ­тому пилу большой модели используют для распиловки полутуш свиней на отруба и крупных отрубов на части. Приводной шкив пилы приводится во вращение от электродвигателя мощностью 4, 5 кВт через клиноременную передачу. Производи­тельность при распиливании полутуш до 5000 кг/ч. Масса пилы 960 кг.

Увеличение вылета за счет увеличения диаметра шкивов более 800 мм конструк­тивно нецелесообразно, т. к. приводит к существенному увеличению высоты и мас­сы пилы. Поэтому применяют трех- и четырехшкивные пилы, у которых при не­больших диаметрах шкивов возможно получить любую величину вылета.

 

Рис.4. Ленточная пила В2-ФРП:

1 — регулируемая опора: 2 — станина; 3 — опорный ролик; 4 — стопорный винт; 5. 6 — левая и правая каретки стола; 7 — кожух; 8, 11, 12 — оборотный, натяжной и приводной шкивы; 9 — крышка; 10— винт крепления крышки; 13 — поддон; 14 — электродвигатель; 15 — лоток; 16 — электрошкаф уп­равления; 17— пластина; 18— штанга; 19— натяжной механизм; 20— втул­ка: 21 — пильное полотно; 22 — кнопки управления

 

Ленточная пила В2-ФРП (рис.4) имеет три шкива, что обеспечивает вылет 540мм. Она состоит из сварной станины 2, на которой внизу закреплен фланце­вый электродвигатель 14 с приводным шкивом 12. В верхней части станины на оси установлен оборотный шкив 8, а сбоку — натяжной 11. Натяжной механизм 19 винтового типа с компенсационной пружиной. Установку пильного полотна производят за счет наклона втулки 20, в которой закреплена ось оборотного шки­ва. Пильное полотно 27 в зоне резания удерживается от боковых колебаний за счет калиброванных щелей-направляющих в станине и пластине 17 штанги 18, а от поперечных прогибов — опорными роликами 3. Участок пилы, не использо­ванный при резании, закрыт кожухом 7. Шкивы и полотно закрывают крышкой 9, снабженной блокирующими конечными выключателями. Стол для подачи продукта в зону резания состоит из правой 6 и левой 5 кареток, которые переме­щаются на ходовых роликах. В зависимости от размера разрезаемого продукта пе­ремещают одновременно обе каретки или правую каретку стопорят и перемеша­ют лишь левую. Опилки собирают в поддон 13.

Пильное полотно имеет ширину 20...22 мм, толщину 0, 7...0, 8 мм, шаг зубьев 7, 0 мм. Скорость его движения 19, 3 м/с. Мощность электродвигателя 2, 2 кВт, масса пилы 390 кг.

 

Рис.5. Ленточная пила КТ-750 фирмы «Конетеоллисуус:

/ — опора; 2 — регулировочный винт; 3 — станина; 4 — каретка; 5— пильное полотно; 6- щель - направляющая; 7 — опорный роли к; 8 — кожух; 9 — штанга; 10 — маховик;

Ленточная трехшкивная пила КТ-750 фирмы «Конетеллисуус» (Финляндия) (рис. 5) имеет вылет 730мм и обеспечивает высоту пропила до 610мм. Она состоит из сварной станины 3 с двумя опорами 1. Одна из ножек опоры имеет регу­лировочный винт 2. В нижней части станины закреплен электродвигатель мощ­ностью 3 кВт с приводным шкивом и тормозом, который при выключении электродвигателя останавливает полотно пилы за 5 с.

В верхней части станины установлен натяжной шкив и натяжной механизм винтового типа. Натяжение производят маховиком 10. Третий оборотный шкив устанавливают на оси в станине 3. Диаметры всех шкивов 325 мм. Пильное полот­но 5фиксируют щелями-направляющими 6 и опорными роликами 7на станине и штанге 9. Открытый участок пилы закрыт кожухом 8. Для подачи продукта в зону резания служат две каретки 4. Скорость движения пильного полотна 17 м/с. Мас­са пилы 420 кг.

 

Рис.6. Ленточная пила КТ-1100 фирмы «Конетеоллисуус:

1, 14 — оборотные шкивы; 2. 15 — натяжной и приводной шкивы; 3 — маховик; 4, 5 — штанги; 6 — винт; 7— опора штанги; 8 - станина; 9, 12— кожухи; 10— пильное полотно; 11— пластина; 13 — электродвигатель; 16 — опорный ролик; 17 — стол

 

Наибольший вылет имеют четырехшкивные пилы. Так, ленточная пила КТ-1100 фирмы «Конетеоллисуус» (Финляндия) (рис.6) имеет вылет 1100 мм и наибольшую высоту пропила до 800 мм. Такой размер вылета позволяет разде­лывать на пиле полутуши свиней и отруба крупного рогатого скота. В станине 8, сваренной из нержавеющей стали, устанавливают приводной 15, натяжной 2 и оборотные 1, 14 шкивы. Диаметр всех шкивов 400 мм. Приводной закреплен на валу электродвигателя 13 мощностью 4 кВт. Натяжной механизм винтового типа с пружинным компенсатором и ручной регулировкой маховиком 3. Пиль­ное полотно 10 фиксируют щелями и опорными роликами в пластине 11 штанг 4, 5 и в станине.

Пила оборудована стационарным столом 17с гладкой поверхностью или с ци­линдрическими роликами, облегчающими легкое перемещение продукта. Ско­рость движения ленточного полотна 20 м/с, масса пилы 400 кг.

Ленточные пилы при правильной эксплуатации позволяют распиливать мясо­костное сырье в любом направлении и на куски любого размера. Но при распили­вании образуются опилки, масса которых достигает 2...3 % от массы распиливае­мого материала. К недостаткам следует отнести частый разрыв пильного полотна и повышенную опасность в работе, т. к. продукт под пильное полотно подают вручную.

Стационарные дисковые пилы, которые называют также циркулярными, при­меняют для отрезания кулаков от трубчатых костей крупного рогатого скота, от­резания рогов от голов крупного рогатого скота, фасовки тушек птицы.

Дисковая пила ПК-2М (рис.7) предназначена для отделения кулаков трубча­тых костей и отпиловки рогов. Сварная станина 7машины закрыта сверху сталь­ной пластиной — столом 5. Под столом прикреплен электродвигатель 1, мощнос­тью 2, 8 кВт, на валу которого с помощью планшайбы и гайки устанавливают дисковое пильное полотно 2. Направление резьбы гайки должно обеспечивать ее затяжку при вращении вала. Диск проходит через прорезь в столе и выступает над ним примерно на 1/3 внешнего диаметра. Для обеспечения безопасности диск за­крыт снизу кожухом 6 и сверху кожухом 3. Нижний кожух служит сборником опилок. Верхний кожух закреплен на оси и поднимается при распиловке костей. Рабочий закрепляет кость в зажим 4 и перемещает его по направляющим, подавая кость в зону резания. Внешний диаметр диска пильного полотна 0, 5 м, частота вращения 23 с-1. На пиле можно производить до 400 пропилов в 1 час.

 

Рис. 7. Дисковая пила ПК-2М:

1— электродвигатель; 2 — дисковое пильное полотно; 3. 6 — вер­хний и нижний кожухи; 4 — зажим; 5 — стол; 7 — станина

 

Дисковые стационарные ножи применяют для разделения свиных полутуш на отруба. Использование дисковых ножей исключает отходы продукта в виде опи­лок. Для разрезания на отруба полутуш свиней применяют ножи с диаметром диска от 750 до 900 мм, которые устанавливают над конвейером, имеющим две или три ленты. Диск ножа входит в зазор между лентами, и рабочий ориентирует полутушу так, чтобы были обеспечены нужные плоскости разреза.

 

 


Поделиться с друзьями:

mylektsii.su - Мои Лекции - 2015-2026 год. (0.459 сек.)Все материалы представленные на сайте исключительно с целью ознакомления читателями и не преследуют коммерческих целей или нарушение авторских прав Пожаловаться на материал