Студопедия

Главная страница Случайная страница

КАТЕГОРИИ:

АвтомобилиАстрономияБиологияГеографияДом и садДругие языкиДругоеИнформатикаИсторияКультураЛитератураЛогикаМатематикаМедицинаМеталлургияМеханикаОбразованиеОхрана трудаПедагогикаПолитикаПравоПсихологияРелигияРиторикаСоциологияСпортСтроительствоТехнологияТуризмФизикаФилософияФинансыХимияЧерчениеЭкологияЭкономикаЭлектроника






Вопрос № 3. Оборудование для упаковки в газонепроницаемые пленки.






Упаковка мяса и мясопродуктов в газонепроницаемую пленку обеспечивает хранение при низком содержании кислорода в пакете, что замедляет окислитель­ную, ферментативную и микробиальную порчу. Низкое содержание кислорода сохраняют за счет вакумирования или наполнения упаковки инертными газами (N2, СО2 и др.).

Для осуществления процесса используют машины, упаковывающие продукт в заранее подготовленные пакеты, и машины, совмещающие образование тары и ее герметизацию.

Для упаковки используют комбинированные двух- и многослойные пленки, обладающие хорошей свариваемостью, способностью к термоформованию и тер­моусадке.

К этому классу относят камерные и штуцерные машины. Камерные вакуумупаковочные машины (рис. 5, а) состоят из корпуса 10, на котором за­креплена герметичная камера 9. В камере с одной или двух сторон устанав­ливают сварочные устройства, состоящие из сварочных губок 2 и прижимов 3. При сварке пленки сжимаются между прижимом и сварочными губками, которые нагреваются током. Крышка 1 герметизируется резиновыми уплот­нителями 8.

Рис. 5. Схема камерной упаковочной машины:

а — период загрузки: 1 — патрубок для вакуумирования; 2 — сварочная губка; 3 — прижим; 4 — пакет; 5 — продукт; 6 — мем­брана; 7 — крышка; 8 — уплотнение; 9 — камера; 10 — корпус; 6 — период вакуумирования

Продукт 5укладывают вручную в заранее подготовленный пакет 4 и укладыва­ют в камеру. При этом незапечатанная сторона пакета укладывается на сварочные губки, после чего крышку закрывают и удаляют воздух через патрубок 1. После удаления воздуха подается ток в сварочное устройство, и пакет герметично запе­чатывается. На некоторых машинах в крышке устанавливают эластичную мемб­рану 6, которая в период вакуумирования (рис. 5, б) плотно прилегает к пакету и ускоряет удаление воздуха. После сварки через натекатель в камеру подают воздух и открывают крышку. При закрытии крышки и включении процесса машина ра­ботает в автоматическом режиме.

Камерные машины бывают одно- и двухкамерные, карусельные с 3...5 каме­рами и конвейерные. Эти машины, выпускаемые многими зарубежными фир­мами, принципиально аналогичны по конструкции и отличаются несуществен­ными деталями.

На рис. 6 показана машина «Супервак» ЖК169 фирмы «Ласка» (Австрия) - конвейерная камерная вакуумупаковочная машина циклического действия. Она со­стоит из корпуса /ленточного конвейера 7и крышки 5. В корпусе установлен вакуумный

Рис. 6. Конвейерная вакуумупаковочная машина:

1 — корпус; 2 — рольганг; 3 — пульт управления; 4 — сварочные губки; 5 —крышка; 6 — направляющие; 7—ленточный конвейер; 8— электродвигатель вакуумного насоса.

 

насос с электродвигателем 8, привод ленточного конвейера, пневмо- или гидросистема для подъема, опускания и прижатия крышки, прижатия сва­рочных губок 4. Кроме того, на корпусе установлен пульт управления 3, обеспе­чивающий выполнение цикла упаковки в автоматизированном режиме. На пуль­те предусмотрена возможность регулирования основных параметров цикла.

Продукцию, заранее уложенную в пакеты, укладывают вручную на ленту кон­вейера так, чтобы незапечатанные стороны пакета ложились на направляющие 6. Затем рабочий включает машину, конвейер перемещается на один шаг, загружая продукт под крышку 5. При этом незапечатанные стороны пакета попадают на сварочные губки 4. Далее в автоматическом режиме закрывается крышка, отсасы­вается воздух и заваривается пакет. В это время рабочий помешает незапечатан­ные пакеты на ленту конвейера. Крышка открывается, и конвейер вновь переме­шается на один шаг. Запечатанные пакеты выводятся из машины по рольгангу 2, а незапечатанные поступают под крышку. Цикл повторяется. Продолжительность цикла составляет 20...30 с.

Конвейерные машины разных фирм имеют размеры (мм) сварочной камеры: длина 825... 1050, ширина 640... 1010, высота 180...300. Производительность ваку­умных насосов, приведенная к 1 м3 откачиваемых объемов, составляет у разных машин от 1100 до 2100 м3/ч.

Штуцерные (бескамерные) вакуумупаковочные машины применяют для упа­ковки охлажденных тушек птицы всех видов, кроликов, мясных отрубов в гото­вые пакеты из термоусадочных пленок. Эти машины работают, как правило, в со­ставе комплекса или упаковочной линии. Линия М6-АУГ (рис. 7) состоит из

Рис. 7. Упаковочная линия М6-АУГ:

1 — раскрыватель пакетов; 2— вакуумупаковочный полуавтомат М6-АУГ/1; 3 — транспортер; 4— усадочная камера М6-АУГ/3; 5 – стол.

 

приемного стола с раскрывателем пакетов 1, двух упаковочных 2 полуавтоматов М6-АУГ/1, транспортера 3, усадочной 4 камеры М6-АУГ/3 и стола 5. Пакеты надевают на пальцы раскрывателя, и вручную через палъцы заталкивают в него про­дукт. Пакет снимают с пальцев и упаковывают на одной из двух упаковочных ма­шин, после чего его направляют в усадочную камеру. Окончательно упакованный продукт поступает на стол, где производится групповая упаковка в коробки или другую тару.

Производительность линии (упаковок в 1 мин): кур и цыплят — 10; отрубов - 5; бескостного мяса — 6. Масса одной упаковки 1...16кг, потребляемая электро­энергия — до 15 квт·ч.

Усадку пакетов производят в усадочной камере М6-АУГ/3 (рис. 8) за счет погружения в горячую воду с температурой 95...98 " С. Она состоит из корпуса 5, в нижней части которого расположена ванна 8 с электронагревателем 9. В корпусе установлен ковш 6. Для загрузки продукции служит промежуточный транспортер 1 и рольганг 2, для выгрузки — рольганг 7. Ковш перемешается в вертикальной плоскости лебедкой с электроприводом 4. Для уравновешивания массы ковша служит противовес 10. Вода в ванне нагревается до температуры 95...98 °С. В ковш в верхнем положении загружают упакованную продукцию. Для загрузки включа­ется режим выстоя, который в зависимости от общей массы загрузки может регу­лироваться до 180 с.

Рис. 8. Усадочная камера М6-АУГ/3:

1 — промежуточный транспортер; 2, 7— рольганги; 3 — электрошкаф; 4— электропривод; 5— корпус; 6 - ковш; 8 — ванна; 9— электронагреватель; 10 — противовес; 11 — жалюзи.

После загрузки автоматически ковш с продукцией опускается в воду и выдерживается по таймеру 1, 5...7с, что достаточно для усадки пленки. Затем ковш под­нимается, и продукт выгружается под действием собственной массы. Вмести­мость ванны 0, 3 м3, общая мощность 30, 5 кВт, масса аппарата 645 кг.

Оборудование для упаковки в термосформиронной емкости. Этот тип машин предназначен для упаковки порционных и мелкокусковых нату­ральных мясных полуфабрикатов; сосисок и сарделек, колбас целых, сервировочной и порционной нарезки. Они выполняются в виде полуавтоматов с непрерывно-цик­лическим режимом работы. Упаковка производится двумя пленками: нижней, в ко­торой формуют емкость, и верхней — запечатываюшей. Схема подобного полуавто­мата показана на рис. 9. Он состоит из корпуса 1, в котором установлен двухцепной механизм перемещения пленки, узлов формования 10, запечатывания 6 пленки, узла разделения пакетов 4. Для нижней пленки используют двух- и много­слойные термоформуемые пленки. Эта пленка с бобины 11 поступает в машину и скрепляется захватами с двумя параллельными тяговыми цепями конвейера.

Рис. 9. Схема вакуумулаковочного полуавтомата с формованием ем­костей:

1 — корпус; 2— отводящий транспортер; 3— бобина для сбора обрези пленки; 4—узел разделения; 5— бобина с запечатывающей пленкой; 6— узел запечатывания; 7— за­печатывающая пленка; 8 — шаблон; 9 — сформованная емкость; 10 — узел фор­мования; 11 — бобина с пленкой для формования.

 

Конвейер работает циклически, перемещая за цикл пленку на необходимую дли­ну. При остановке конвейера производится формование емкости 9, ее заполнение вручную продуктом, запечатывание пакета и поперечное разделение пакетов плас­тинчатыми ножами. При движении конвейера: нижняя пленка сматывается с бара­бана и поступает в машину, верхняя пленка 7сматывается с бобины 5 и поступает в узел запечатывания; дисковыми ножами в узле разделения 4 пакеты отделяются друг от друга и попадают на отводящий транспортер 2; остатки пленки наматываются на бобину 3. В качестве верхней пленки используют комбинированные пленки, бумагу и алюминиевую фольгу. Эта пленка может иметь рисунок и надписи. Для зашиты свариваемых поверхностей в зоне загрузки устанавливают шаблон 8.

Применяют несколько вариантов формования емкостей (рис. 10), завися­щих от механических свойств пленки. Формование емкостей незначительной глубины из гибких полимерных пленок осуществляют вакуумом или сжатым воз­духом (рис. 10, а). Крышку 1 камеры формования закрепляют неподвижно па корпусе машины над пленкой 4. В крышке установлен электронагреватель 3. Ка­мера 5формования, установленная снизу пленки, перемещается в вертикальной

 

Рис. 10. Схемы методов формования емкостей из пленки:

а — вакуумом или сжатым воздухом: 1 — крышка: 2 — патрубок для подачи сжатого воздуха: 3 — на­греватель; 4 — пленка; 5 — камера;

6 — патрубок дли вакуумирования; 6 — пуансоном и вакуумом: 1 — сформованная емкость; 2 — пуансон; 3 — нагреватель; 4 — крышка; 5 — пленка; 6 — камера; 7 — патрубок для вакуумирования;

в — пуансоном, вакуумом и сжатым воздухом; 1 — пуансон; 2— нагреватели; 3— пленка: 4 - патрубок для вакуумирования и подачи сжатого воздуха; 5 — камера

 

плоскости пневмо- или гидроцилиндром. В момент формования камера плотно прижимается к пленке и крышке. Пленка нагревается и через патрубок 6 произ­водится вакуумирование. Под действием атмосферного давления пленка повто­ряет форму внутренней поверхности камеры. Вместо вакуума можно подавать сжатый воздух через патрубок 2. После формования камера уходит вниз, а пленка с готовой емкостью перемещается на один шаг.

Для получения очень глубоких вытяжек (до 190 мм) применяют комбинирован­ный способ (рис. 10, б). Пленка 5нагревается снизу нагревателем J и затем посту­пает в камеру формования 6. В неподвижной крышке 4 камеры установлен пуансон 2, перемещаемый пневмоприводом. Камера 6 прижимается пневмо- или другим приводом к пленке и крышке и через патрубок 7 производится вакуумирование пространства под пленкой. В конце процесса пленку поджимает пуансон 2 и при этом получается равномерная вытяжка с прочными краями и углами.

Для формования особо жестких пленок
применяют комбинированный способ (рис. 10, в) с помощью вакуума, пуансона и сжатого воздуха. Пленка 3 нагревается в нагре­вателе 2 с двух сторон и поступает в зону фор­мования, где прижимается к нагретой камере 5. Через патрубок 4 производится вакуумирова­ние и затем — вытяжка холодным пуансоном 7. После этого снизу через патрубок 4 подается сжатый воздух, прижимающий к холодному пу­ансону пленку, которая точно повторяет форму пуансона.

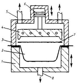
Узел запечатывания (рис. 11) состоит из крышки 3, закрепленной на верхней поверх­ности корпуса машины. В крышке помещен штамп 4 со сваривающими губками, располо­женными по периметру упаковки. Штамп на­гревается электротоком и перемещается

Рис. 11. Схема узла запечатывания:

1 — камера; 2— емкость; 3— крышка; 4—штамп; 5, 8— патрубки для вакуумирования; 6— поршень пневмоцилиндра; 7 — верхняя пленка.

 

поршнем 6 пневмоцилиндра. После поступления в камеру 1 заполненной емкости 2 она поднимается и прижимает нижнюю пленку к крышке. Производится вакуумирование через патрубки 5 и 8 при необходимости подача инертного газа. Затем штамп 4 прижимает верхнюю пленку 7 по контуру упаковки и производит сваривание швов.

 


Поделиться с друзьями:

mylektsii.su - Мои Лекции - 2015-2026 год. (0.845 сек.)Все материалы представленные на сайте исключительно с целью ознакомления читателями и не преследуют коммерческих целей или нарушение авторских прав Пожаловаться на материал