Студопедия

Главная страница Случайная страница

КАТЕГОРИИ:

АвтомобилиАстрономияБиологияГеографияДом и садДругие языкиДругоеИнформатикаИсторияКультураЛитератураЛогикаМатематикаМедицинаМеталлургияМеханикаОбразованиеОхрана трудаПедагогикаПолитикаПравоПсихологияРелигияРиторикаСоциологияСпортСтроительствоТехнологияТуризмФизикаФилософияФинансыХимияЧерчениеЭкологияЭкономикаЭлектроника






Вопрос 2. Конвективные сушильные установки






В конвективных сушильных установках для подвода теплоты при­меняют нагретый газ (сушильный агент), который контактирует непос­редственно с обрабатываемым продук­том. Одновременно этот газ служит влагопоглощающей средой. В каче­стве газа используют воздух, продук­ты сгорания топлива (газообразного, жидкого или твердого) или газовоз­душную смесь, если допустим кон­такт высушиваемого продукта с про­дуктами сгорания.

Конструкции сушильных устано­вок зависят от вида обрабатываемых материалов (твердые кусковые, твер­дые зернистые, пастообразные, жид­кие) и от их лабильности к уровню и продолжительности температурного воздействия.

Для сушки твердых кусковых ма­териалов применяют камерные и тун­нельные установки. Сыпучие материалы сушат: в разрыхленном слое в ба­рабанных, шнековых, лопастных, ро­торных, вибрационных и других уста­новках; в псевдоожиженном (кипя­щем) или фонтанирующем слое с вибро- или аэроожижением; в потоке газа (пневматические сушилки). Пас­тообразные комкующиеся материалы сушат в кипящем или фонтанирую­щем слое на поверхности инертных материалов-носителей. Жидкие мате­риалы (суспензии, растворы и др.) су­шат в распылительных сушилках или во вспененном слое.

Камерные шкафные уста­новки. Их применяют для сушки щетины, волоса, рогов, копыт, кости (цевки), обработанных кишечных оболочек, шкур и органопрепаратов. Корпус 1 установки (рис. 4 а) снабжен теплоизоляцией. Внутри корпуса крепят полки 2, изготовлен­ные из стальной сетки, или устанав­ливают сетчатые противни. На полки и противни загружают обрабатывае­мый продукт. Корпус имеет плотно закрываемые двери, через которые загружают и выгружают продукт. Сушильным агентом служит воздух, который подогревают либо полнос­тью в выносном калорифере, либо частично или полностью в камере. При этом процесс сушки можно осуществлять без повторного использо­вания влажного воздуха, с частичной или полной его рециркуляцией. При полном подогреве в выносном кало­рифере свежий воздух засасывается вентилятором 6 по воздуховоду 7 че­рез фильтр 8, нагнетается в калори­фер 5, где нагревается, и через жа­люзи короба 3 поступает в камеру. В камере воздух проходит между ряда­ми полок, отбирая влагу от продук­та, и через короб 12 отводится из камеры. С помощью шибера 10 влаж­ный воздух может быть полностью отведен в атмосферу через воздухово­ды 9 или возвращен в вентилятор по байпасу 11.

 

Рис. 4. Схемы конвективных камерных сушильных установок:

а — шкафная: 1 — корпус; 2 — сетчатая полка; 3 — короб для подачи сухого воздуха; 4, 10 — шиберы; 5 — калорифер; 6 — вентилятор; 7 — всасывающий воздуховод; 8 — фильтр; 9 — отводящий воздуховод; 11 — байпас; 12 — короб для отвода влажного воздуха; б — туннельная: 1, 10 — двери; 2 — шибер; 3 — отводя­щий воздуховод; 4 — вагонетка; 5 — сетчатая полка; 6 — вентилятор; 7 — всасывающий воздуховод; 8 — ка­лорифер; 9 — короб для подачи сухого воздуха

 

На рис. 4, б приведена схема камерной туннельной установки, в которую продукцию загружают на ва­гонетках 4, снабженных сетчатыми полками 5. Теплоизолированная ка­мера имеет две двери 1 и 10 и короба для подачи 9 и удаления воздуха. Свежий воздух подогревается в вы­носном калорифере 8, влажный воз­дух отводится через воздуховод 3. Подобные установки периодического действия применяют для сушки кост­ного клея и желатина. При сушке массу одним слоем раскладывают на противни, изготовленные из сетки с ячейками размером 20 х 20 мм. На вагонетку загружают 25 противней. Расстояние между противнями 50 мм. Число вагонеток и длина туннеля за­висят от необходимой производитель­ности установки; длина туннеля ме­няется от 20 до 50 м. Температура воздуха на входе в сушилку 35...40 °С, на выходе 23 °С, относи­тельная влажность 75 %, скорость движения между рамами 3 м/с. Про­должительность сушки 6...8ч. В лет­нее время при высокой температуре наружного воздуха сушка возможна лишь с использованием кондициони­рования.

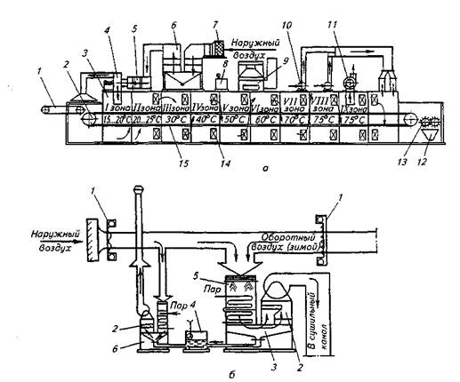
Ленточная конвективная сушил­ка фирмы «Марубени» (Япония) с многозонной системой подвода су­шильного агента предназначена для сушки желатина. Лента конвейера 15 (рис.5, а) изготовлена из сталь­ной нержавеющей сетки шириной 2, 2 м и длиной 32 м. Скорость движе­ния конвейера можно изменять в пре­делах (1, 3...5)1(10-3 м/с. Лента прохо­дит через прямоугольный теплоизоли­рованный туннель 3, разделенный по­перечными перегородками на десять зон. В девяти зонах осуществляют сушку, а в десятой — охлаждение желатина. Желатин поступает из экструдера в виде бесконечных нитей — «лапши» диаметром 3 мм и качаю­щимся конвейером 1 распределяется на сетке конвейера 2 слоем толщиной до 15 мм. Наружный воздух проходит через фильтр 7 и попадает в кондици­онер 6, где нормализуются его влаж­ность и температура. Зимой воздух нагревают до 15 °С и увлажняют до влагосодержания 0, 005 кг/кг сухого воздуха. Летом воздух осушают с по­мощью раствора хлорида лития до той же влажности. Вентилятором 4 воздух нагнетают в первую зону, и далее, нагреваясь в автономных кало­риферах 14, он проходит остальные зоны. Температура его постепенно по­вышается от 15 до 75 °С в последней зоне, откуда воздух удаляют вентиля­тором 11 в атмосферу или частично направляют вновь в кондиционер. Высушенный и охлажденный жела­тин поступает в дробилку 13 и в при­емную воронку 12 и направляется на дальнейшую переработку. Сетку кон­вейера промывают горячей водой тем­пературой 80 °С в агрегате, установ­ленном под лентой конвейера. При необходимости ее стерилизуют ост­рым паром.

Установка для подготовки воздуха (рис. 5, б) состоит из кондиционе­ра 3, регенератора 6 и насоса 4. На­ружный или оборотный воздух прохо­дит через фильтр 1 и поступает в ка­меру кондиционера, где установлены форсунки 5, разбрызгивающие ра­створ хлорида лития, который погло­щает из воздуха избыточную влагу. Кроме того, этот раствор обладает бактерицидными свойствами. Далее воздух нагревается и очищается в кондиционере и поступает в сушиль­ную камеру, а раствор хлорида лития насосом 4 подается в регенератор 6 для восстановления начальной кон­центрации. В регенераторе раствор распыляют в камере, где проходит подогретый в калорифере атмосферный воздух.

Производительность сушильной ус­тановки до 200 кг/ч, продолжитель­ность сушки при разных скоростях ленты 2...7 ч.

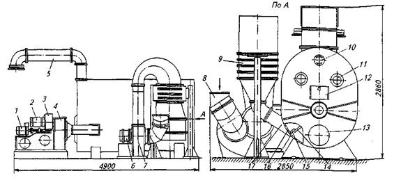
Конвективная сушилка КТ-60 по­казана на рис. 6. Сушку пера ин­тенсифицируют перемешиванием ло­пастной мешалкой. Сушилка состоит из эллипсовидного металлического корпуса 16, снабженного теплоизоля­цией 15. С торцов корпус закрыт дву­мя плоскими днищами, в которых укреплены подшипниковые опоры вала мешалки 14, люк для загрузки пера 12, смотровые окна 11 и светиль­ник 10. В нижней части днища име­ется люк 13, закрываемый крышкой, через который осуществляют монтаж и обслуживание мешалки. Мешалка приводится во вращение от электро­двигателя 2 через редуктор 3.

 

 

Рис. 5. Ленточная конвективная сушилка фирмы «Марубени» (Япония):

а — схема сушилки: 1 — качающийся конвейер; 2 — сушильный конвейер; 3 — зональный туннель; 4 — нагнетающий вентилятор; 5 — камера регулирования температуры воздуха; 6 — кондиционер; 7 — фильтр; 8 — насосная станция; 9 — регенератор; 10 — нагнетающие венти­ляторы; 11 — вентилятор для выброса отработавшего воздуха; 12 — приемная воронка; 13 — дробилка; 14 — калориферы; 15 — лента конвейера; б — установка для подготовки воздуха: 1 — воздушные фильтры; 2 — фильтрующий слой; 3 — кондиционер; 4 — насос; 5 — форсун­ки; 6 — регенератор

 

Свежий воздух засасывают венти­лятором 7 через воздуховод 8, нагре­вают в паровом калорифере 9 и по воздуховоду 17 подают в корпус. Влажный воздух отводят по воздухо­воду 5, снабженному фильтром. Сухое перо выгружают с помощью вентиля­тора 4. Перо максимальной влажностью (50 %) загружают в корпус аппа­рата через люк 12 при работающей мешалке и закрытой задвижке вы­тяжного вентилятора 4. После загруз­ки включают вентилятор и калори­фер, подающие подогретый до 85 °С свежий воздух. Сушку при вращаю­щихся лопастях продолжают около 20 мин. После окончания сушки включают вентилятор 4, и сухое перо по трубопроводу поступает в установ­ку для затаривания. Производитель­ность установки по сырому перу 50 кг/ч, массовый расход пара 200 кг/ч при давлении до 0, 5 МПа. Объемный расход воздуха при сушке 4100 м3/ч.

Барабанные сушильные установки. В них происходит сушка с механическим перемешива­нием. Так, для сушки яичной скорлу­пы от начальной влажности 23... 25 % до конечной 2, 5 % применяют сушилку со сплошным цилиндричес­ким, наклонно установленным враща­ющимся барабаном, в который пита­телем загружается продукт. На внут­ренней поверхности барабана устанав­ливают двенадцать горизонтальных лопастей, перемешивающих продукт. Барабан разделен перегородками на четыре секции.

 

Рис. 6. Конвективная сушилка КТ-60:

1, 6 — электродвигатели вентиляторов; 2 — электродвигатель привода мешалки; 3 — редуктор; 4, 7 — венти­ляторы; 5 — отводящий воздуховод; 8 — всасывающий воздуховод; 9 — калорифер паровой; 10 — светильник; 11 — смотровое окно; 12 — люк для загрузки; 13 — люк для обслуживания; 14 — мешалка; 15 — теплоизоля­ция; 16 — корпус; 17 — воздуховод

 

Наклон барабана обес­печивает непрерывность процесса сушки. Сушку осуществляют смесью воздуха и дымовых газов от сгорания твердого или жидкого топлива темпе­ратурой при входе в барабан 150...200°С и 100...110 °С при выхо­де. Продолжительность сушки 15 мин, производительность установ­ки до 20 кг/ч.

Для сушки желатина и клея в виде мелких кубиков используют не-прерывнодействующую многозонную барабанную сушильную установку. Наклонно установленный перфориро­ванный барабан вращается внутри сплошного кожуха. Перегородки внутри кожуха образуют вокруг бара­бана пять зон. В каждой зоне предус­мотрены вентилятор и калорифер для подогрева воздуха. Влажный воздух отводят через общий коллектор в циклон. Температура воздуха в пер­вой зоне 25...30 °С, во второй — 30... 35, в третьей — 40...45, в четвер­той — 50...60 и в пятой — 65...75 °С. Воздух движется перпендикулярно к оси барабана, проходит через перфо­рацию обечайки и, проходя через слой продукта, высушивает его. Же­латин (или клей) в виде частиц раз­мером 5x6x3 мм перемешивается и перемещается вдоль оси вследствие вращения барабана. Сухой продукт выходит через задний торец обечай­ки. Для сбора мелких частиц продук­та, проходящих через отверстия пер­форации, под барабаном устанавлива­ют шнек. Диаметр барабана 4, 5 м, длина 5, 9 м, частота вращения 2 мин-1. Производительность уста­новки до 100 кг/ч при мощности электродвигателя привода барабана 2, 8 кВт.

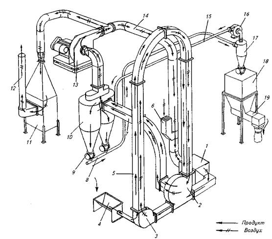
Пневматические установ­ки. В таких установках высушивае­мый продукт Пневматическая конвективная сушилка фирмы «Сторк-Дюк» находится во взвешен­ном состоянии, (Гол­ландия), показанная на рис.7, предназначена для сушки отходов, со­держащих малое количество жира: кровь, перо, шерсть и др. Сушку про­водят в прямоугольном сушильном канале (трубе) 5, в который исходный продукт поступает из шнекового пи­тателя 4 через измельчитель 3. С дру­гой стороны через воздуховод в из­мельчитель подают воздух, нагретый в калорифере 1 до 385...470 °С. Нагре­ватель работает на газообразном или жидком топливе. Сушка продукта во взвешенном состоянии происходит в струе движущегося сушильного аген­та (смеси воздуха и топочных газов) в течение нескольких секунд. Длина канала 5 должна обеспечивать про­должительность пребывания продук­та, необходимую для высушивания большей части частиц продукта. Не­высохшие частицы отделяются от смеси в сепараторе 2 и вновь поступа­ют на сушку. Смесь высохших частиц продукта и воздуха по воздуховоду 7 подается в один из циклонов 10, где происходит их разделение. Воздух температурой 100 °С частично по тру­бопроводу 14 возвращается в калори­фер 1, а частично очищается от пыли в промывателе Вентури 11 и через воздуховод 12 выводится из установ­ки. Сухой продукт накапливается в циклоне и затем через шлюзовой зат­вор 9 пневмотранспортером 8 отво­дится в циклон 17. Далее он собирает­ся в бункере 18 со шнековым дозато­ром 19. Воздух из циклона 17 венти­лятором 16 отводят в воздуховод 7. Исходная влажность продукта не дол­жна превышать 50 %, поэтому кровь перед сушкой коагулируют и обезво­живают на центрифугах.

Сушильная установка Я5-ФДБ для сушки обезжиренной шквары со­стоит из теплогенератора 7 (рис.8), сушильного агрегата и систе­мы очистки отходящих газов. Су­шильный агент образуется в теплоге­нераторе 7, где в горелке 6 сгорает природный газ. Воздух для горения нагнетается воздуходувкой 5. Темпе­ратура смеси при входе в камеру сушки 300...500 °С. Обезжиренную шквару двухшнековым питателем 1 подают в камеру 2, где она измельча­ется молотковой дробилкой 3 и выб­расывается в камеру сушки 8. Части­цы измельченного продукта смешива­ются с потоками горячего газа и вы­сушиваются во взвешенном состоя­нии. Самые мелкие частицы, скорость витания которых становится меньше скорости газового потока, выносятся в циклон 10, где отделяются от возду­ха.

Рис. 7. Пневматическая конвективная сушилка фирмы «Сторк-Дюк» (Голландия):

1 — калорифер; 2 — сепаратор; 3 — измельчитель; 4 — шнековый питатель; 5 — сушильный канал (труба); 6 — патрубок для подачи свежего воздуха; 7 — воздуховод для высушенного продукта; 8 — пневмотранспор­тер; 9 — шлюзовой затвор; 10, 17 — циклоны; 11 — промыватель Вентури; 12 — отводящий воздуховод; 13, 16 — вентиляторы; 14, 15 — рециркуляционные трубопроводы; 18 — бункер; 19 — шнековый дозатор

 

 

Крупные частицы падают на дно камеры, повторно измельчаются в дробилке 3 и вновь попадают в зону сушки. Частицы со скоростью вита­ния, равной скорости потока газа, по­падают в камеру досушки 9, где про­исходит их повторное измельчение с помощью дробилки 12. Подобный процесс селективной сушки с проме­жуточным дополнительным измельче­нием происходит до полного высушивания продукта и удаления его пото­ками газа в циклон. Газы отсасыва­ются вентилятором 14. Вследствие тонкого измельчения исходного про­дукта, повышения температуры газо­воздушной смеси и перемешивания потоков материала и газа сушка про­текает интенсивно, и ее продолжи­тельность составляет 10... 15 с, что повышает качество конечной продук­ции.

Установка Я5-ФДБ имеет произво­дительность по мясокостной муке от 800 до 1000 кг/ч при расходе на 1 т муки 70 м3 природного газа и 50 кВт · ч электроэнергии.

 

 

Рис. 8. Схема сушильной установки Я5-ФДБ:

1 — двухшнековый питатель; 2 — камера дробления; 3 — молотковая дробилка; 4 — электродвигатель; 5 — воздуходувка; 6 — горелка; 7 — теплогенератор; 8 — каме­ра сушки; 9 — камера досушки; 10 — циклон; 11 — камера повторного дробления; 12 — дробилка; 13 — шлюзовой затвор; 14 — вентилятор

 

Сушилки с виброаэро-кипящим слоем. Такие сушил­ки применяют для сушки крови и кровепродуктов, яичного меланжа, яичного белка и костных бульонов. Принципиально процесс сушки зак­лючается в том, что жидкий продукт пневматическими форсунками распы­ляют в слой гранул инертного мате­риала — носителя, которые находятся в состоянии псевдоожижения под дей­ствием вибрации и потока воздуха. Капли жидкости оседают на поверх­ности гранул, где высушиваются го­рячим воздухом. Вследствие соударе­ний и трения гранул сухой продукт скалывается, измельчается и уносит­ся воздухом из сушильной камеры. В аппарате обеспечивается высокая скорость процесса сушки из-за боль­шой суммарной площади поверхнос­ти гранул, на которых оседает про­дукт, и из-за непрерывного обновле­ния этой поверхности.

В мясной промышленности приме­няют сушилки с виброаэрокипящим слоем А1-ФБУ, А1-ФМУ, А1-ФМЯ, которые имеют аналогичную конст­рукцию, но различную производи­тельность.

Установка А1-ФМУ (рис.9, а) состоит из сушильной камеры 4, калориферно-вентиляторной камеры 5 для подачи свежего воздуха, вибропривода 1 и решетки 2, циклонов 8 для отделе­ния сухого продукта, приемного 15 и расходного 16 баков для жидкого про­дукта. Все узлы собираются на раме 14. Вибропривод состоит из вала 11 с эксцентриками 10, установленного в подшипниках 12 и приводимого во вращение от электродвигателя через клиноременную передачу. Вал верти­кальными тягами 9 соединен с решет­кой и приводит ее в вертикальное ко­лебательное движение с частотой 7, 5 Гц и амплитудой 8 мм. Площадь поверхности решетки 0, 32 м2. На ре­шетку 5 (рис. 9, б) через люк в камере загружают 55 кг инертных гранул — кубиков из фторопласта со стороной 4 мм.

К коническому дну сушильной ка­меры 6 подсоединен воздуховод 21, по которому вентилятором 10 нагнетают свежий воздух, нагреваемый в паро­вом калорифере 20. Температура воз­духа на входе в сушильную камеру 120... 140 °С, объемный расход

5000 м3/ч, давление пара в калорифе­ре 0, 2...0, 4 МПа. Воздух в вентиля­тор засасывается через фильтр 19. Жидкий продукт из приемного бака 14 с мешалкой насосом 16 через фильтр 17 подают в расходный бак 15 и из него насосом-дозатором 12 в бак-расширитель 9, в котором сглажива­ются пульсации от насоса в результа­те образования воздушной подушки. Продукт в баках 14 и 15 охлаждают ледяной водой температурой до 8 °С. Из бака-расширителя жидкий про­дукт поступает в две форсунки 8 и распыляется сжатым воздухом, пода­ваемым шестеренчатой газодувкой 27. Давление воздуха 5... 55 кПа.

 

 

Смесь отработавшего воздуха и су­хого продукта проходит через отбой­ную сетку 30, задерживающую грану­лы, и попадает в два циклона 2, от­куда воздух отводят в атмосферу вен­тилятором 1, а продукт через шиберы 25 собирают поочередно в два бач­ка 26.

На установке измеряют давление сжатого воздуха в форсунках и тем­пературу нагретого воздуха термо­метром 22. Для определения и регу­лирования давления и расхода пара установлены регулирую­щий 11 и редукционный 13 клапаны. Для мойки системы подачи продукта предусмотрена подача воды из ба­ка 18.

 

Рис. 9. Сушильная установка А1-ФМУ:

а — общий вид: 1 — вибропривод; 2 — решетка; 3 — от­бойная сетка; 4 — сушильная камера; 5 — калориферно-вентиляторная камера; 6 — форсунки; 7 — дверца; 8 — циклоны; 9 — тяга; 10 — эксцентрик; 11 — вал; 12 — под­шипник; 13 — бачки сборника; 14 — рама; 15 — приемный бак; 16 — расходный бак; б — технологическая схема: 1 — отсасывающий вентилятор; 2 — циклоны; 3 — регулирую­щий шибер; 4 — патрубок для воды; 5 — решетка; 6 — су­шильная камера; 7 — термометр; 8 — форсунка; 9 — бак-расширитель; 10 — нагнетающий вентилятор; 11 — регули­рующий клапан; 12 — насос-дозатор; 13 — редукционный клапан; 14 — приемный бак; 15 — расходный бак; 16 — насос; 17 — фильтр; 18 — бак для воды; 19, 28 — фильт­ры; 20 — паровой калорифер; 21 — воздуховод; 22 — тер­мометр; 23 — вибропривод; 24 — патрубок; 25 — шибер; 26 — бачок; 27 — шестеренная газодувка; 29 — гранулы фторопласта; 30 — отбойная сетка

 

Производительность установки по меланжу от 75 до 80 кг/ч, по испа­ренной влаге от 59 до 76 кг/ч при массовом расходе пара до 200 кг/ч. Установочная мощность электродви­гателей 20 кВт, масса установки 3, 7 т.

Распылительные сушилки. Их применяют для сушки жидких растворов, суспензий, эмульсий, пульп и сгущенных, пастообразных материалов. В мясной промышленнос­ти их используют для сушки цельной крови и ее фракций, медицинского панкреатина, мясных и костных бу­льонов, яичного меланжа и др. Основа распылительной сушки — тонкое диспергирование исходного материала в потоке высокотемпературной газо­вой среды, благодаря чему образуется развитая суммарная поверхность внешнего тепло- и массопереноса и существенно (до 10...100 мкм) умень­шается размер частицы, определяю­щий внутренний перенос. Сушка про­текает интенсивно, и продолжитель­ность процесса составляет 5...30 с. При этом температура продукта даже в зоне повышенных температур теп­лоносителя близка к температуре ади­абатического испарения чистой жид­кости. Малая продолжительность сушки и невысокая температура рас­пыленных частиц обеспечивают высо­кое качество готового продукта без денатурации белка, сохранение вита­минов и т. д. К недостаткам распыли­тельной сушки относят большие удельные габариты установок из-за низкой влажности отходящего су­шильного агента, особенно при темпе­ратуре сушильного агента 100... 150°С.

Распылительная сушильная уста­новка состоит из распылительного ус­тройства, сушильной камеры, систе­мы подготовки и подачи сушильного агента, системы очистки отходящего газа.

Прямоточная распылительная су­шилка фирмы «Ниро Атомайзер» (Дания) с дисковым распылением по­казана на рис. 10. Продукт из приемного бака 1 насосом 3 подают в распылительный диск 9, привод кото­рого 10 установлен на плоской крыше башни. Привод снабжен вариатором, позволяющим изменять частоту вра­щения диска от 150 до 400 с-1. Воздух забирают через фильтр 4 вентилятором 5, нагревают в паровом калорифере 6 до 140 °С и по воздухо­воду 7 подают снизу в факел распыленной жидкости. Конический возду­хораспределитель 8 состоит из лопас­тей, зазор между которыми можно регулировать.

Рис. 10. Схема прямоточной распылительной сушилки фирмы «Ниро

Атомайзер» (Дания):

1 — приемный бак; 2 — щит управления; 3 — продуктовый насос; 4 — фильтр; 5. 19, 20 — вентиляторы; 6 — паровой калорифер; 7, 16 — воздуховоды; 8 — воздухораспреде­литель; 9 — распылительный диск; 10 — привод распылительного диска; 11 — всасываю­щий трубопровод; 12 — затвор; 13 — пневмотранспортер; 14 — шлюзовой затвор; 15, 18 — циклоны; 17 — бункер для сухого продукта; 21 — выхлопной воздуховод

 

Основная масса сухого продукта оседает на коническом дне башни, угол наклона которого больше угла естественного откоса порошка. Поэто­му порошок осыпается в затвор 12 и далее удаляется пневмотранспортером 13. Отработавший воздух с остатками сухого порошка отводят по трубопро­воду 11, очищают в циклоне 15 и уда­ляют в атмосферу вентилятором 20. Из циклона сухой продукт ссыпается в пневмотранспортер 13, попадает в конечный циклон 18 и из него в бун­кер 17. Воздух из этого циклона по воздуховоду 16 возвращают в трубо­провод 11. Кровь предварительно сгу­щают в вакуумном выпарном аппара­те до влажности 65...67 % и высуши­вают до 6 %. Производительность су­шилки по испаренной влаге 150 кг/ч, удельный расход пара 2, 2 кг/кг.

 


Поделиться с друзьями:

mylektsii.su - Мои Лекции - 2015-2026 год. (0.579 сек.)Все материалы представленные на сайте исключительно с целью ознакомления читателями и не преследуют коммерческих целей или нарушение авторских прав Пожаловаться на материал