Студопедия

Главная страница Случайная страница

КАТЕГОРИИ:

АвтомобилиАстрономияБиологияГеографияДом и садДругие языкиДругоеИнформатикаИсторияКультураЛитератураЛогикаМатематикаМедицинаМеталлургияМеханикаОбразованиеОхрана трудаПедагогикаПолитикаПравоПсихологияРелигияРиторикаСоциологияСпортСтроительствоТехнологияТуризмФизикаФилософияФинансыХимияЧерчениеЭкологияЭкономикаЭлектроника






Манометры с трубчатой пружиной






Трубчатые пружины представляют собой кругообразно согнутые трубки с овальным поперечным сечением (рис.4.4). Давление измеряемой среды воздействует на внутреннюю сторону этой трубки, в результате чего овальное поперечное сечение принимает почти круглую форму. В результате искривления пружинной трубки возникают напряжения в кольцах трубки, кото­рые разгибают пружину. Незажатый конец пружины выполняет движение, пропорциональное величине давления. Движение передаётся посредством стрелочного механизма на шкалу. Для измерений давления до 40 или 60 бар применяются, как правило, согнутые с углом витка около 2700, кругообразные пружины. Для измерений давления с более высокими значениями используются пружины с несколькими лежащими друг над другом витками и одинаковым витковым диаметром (винтовая пружина) или со спиралеобразными витками, лежащими в одной плоскости (плоская спиральная пружина). Трубчатые пружины обладают сравнительно низким перестановочным усилием. Поэтому их защита от перегрузки может проводиться только с ограничениями. Показания лежат в диапазоне от 0...0, 6 до 0... 4000 бар при точности показаний (классе) от 0, 1 до 4, 0%.

В производственных процессах измерение давлений в подав­ляющем большинстве случаев обеспечивается деформационными манометрами и вакуумметрами. Электрические приборы используются главным образом для специальных цепей, например, при измерениях сверхвысоких давлений, глубокого вакуума или давлений, пульсирующих с высокой частотой.

В вакуумной металлургии для измерения малых давлений деформационные приборы охватывают нижний предел измеряемых давлений порядка 10—0, 1 Па. Для измерения вакуума в области 1—10-4 Па находят широкое применение тепловые вакуумметры, а для измерения вакуума в пределах до 10-6 Па применяются ионизационные вакуумметры.

Переменные давления в пределах 100 кПа, например, в цилин­драх двигателей внутреннего сгорания, где давления пульсируют с высокой частотой, измеряют пьезоэлектрическими манометрами.

Развитие полупроводниковой техники и микроэлектроники открыло новые возможности, для создания более совершенных электрических манометров с использованием полупроводниковых тензорезисторов, позволяющих измерять давление в широких диапазонах. Действие приборов этой группы основано на свойстве некоторых материалов изменять свои электрические параметры под действием давления.

Тепловые вакуумметры. Принцип действия тепловых вакуум­метров основан на зависимости теплопроводности газовой среды от степени ее разрежения. На рис. 4.5 схематично показаны две конструкции тепловых вакуумметров: сопротивления (рис. 4.5, а) и термопарный (рис. 4.5, б).

В обеих конструкциях чувствительным элементом является нагретая путем пропускания электрического тока платиновая нить 1, расположенная в вакуумном баллоне 2. При увеличении разрежения среды её теплопроводность будет уменьшаться, следовательно, нагретая платиновая нить будет хуже отдавать тепло стенкам баллона, в результате чего ее температура будет возрастать. Измеряя температуру нити, можно судить о величине вакуума. Чтобы исключить теплопередачу от нити к стенкам баллона за счет лучеиспускания, максимальная температура нити должна быть примерно 100 º С. Эти два типа вакуумметра различаются только способом измерения температуры, нити. В вакуумметре сопротивления температуру измеряют термометром сопротивления, которым служит сама нить, а в термопарном вакуумметре — термопарой 4. Датчик к измеряемой схеме подключается через электрические вводы 3, a к объекту измерения — через соединительную трубку 5.

В вакуумметрах с термосопротивлением измерение температуры нити и ее нагрев путем пропускания электрического тока осуществляются при помощи мостовой схемы, в одно из плеч которой включена нить вакуумметра. Температура нити измеряется милливольтметром, установлен­ным в диагональ моста. Во второй диагонали находится источник питания моста постоянным током.

В термопарных вакууммет­рах температуру нити накала измеряют хромель-копелевой термопарой, которая соединена с нитью при помощи крючка из тонкой проволоки.

Пьезоэлектрические манометры. Пульсирующие с высокой частотой давления измеряют с помощью манометров, построенных на использовании пьезоэлектрических эффектов. Под пьезоэлектрическим эффектом понимают появление электрических зарядов на поверхности некоторых кристаллических диэлектриков при их деформации. Чувствительным элементом в пьезоэлектрических манометрах, преоб­разующим механические напряжения в колебания электрического тока, являются пластины из кварца, титаната бария или керамики типа ЦТС (цирконат-титанат свинца).

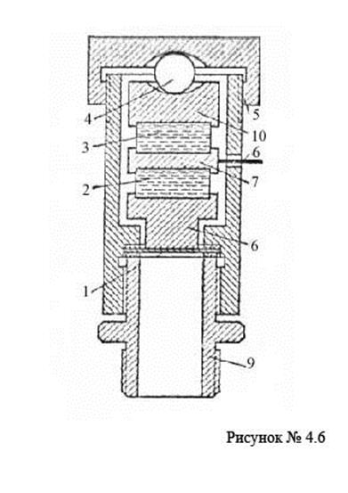
Датчик пьезоэлектрического манометра представлен на рис. 4.6. Измеряемое, давление через мембрану 1 действует на два пьезоэлемента 2 и 3 из пьезокерамики ЦТС, расположенных так, что на их внутренних гранях, соприкасающихся с металлической прокладкой 7, возникают одноименные заряды. Потенциал с внутренних граней пластинок снимается тщательно изолированным проводником 6, присоединенным к прокладке 7, а с внешних граней пьезоэлементов — через корпус и метал­лические прокладки 8 и 10, мембрану 1 и шарик 4. Применение шарика 4 и колпачка 5 способствует более равномерно­му распределению контактного давления по поверхности пласти­нок. Штуцер 9, зажимающий мембрану 1, служит для присоедине­ния чувствительного элемента к объекту измерения. Пьезоэлементы располагают обычно таким образом, что отри­цательные электрические заряды возбуждаются на электроде 7 и от него по проводнику 6 подаются к измерительной схеме прибора.

 

Положительные заряды через корпус отводятся на землю. Величина электрического заряда прямо пропорциональна давлению;

q=kPS (4.12)

где q — заряд, Кл;

k— пьезоэлектрическая, постоянная, Кл/Н;

Р—давление, Па;

S — поверхность пластин, м².

Измерения заряда осуществляют обыч­но сложной электронной схемой. Заряды, возникающие на пьезоэлементах, не могут сохраняться длительное время из-за утечек в элементах измерительной схемы, поэтому пьезоэлектрический метод применяют для измерения быстроменяющихся давлений.

Тензометрические манометры. Тензометрический метод измерения давления заключается в непосредственном преобра­зовании деформации упругого чувствительного элемента (мембраны) под воздейст­вием давления в изменение электрического сопротивления резисторов, закрепленных на этом элементе. Это изменение сопротивления преобразуется электрической изме­рительной схемой в электрический выходной сигнал, пропорциональный величине измеряемого давления.

Резистор, сопротивление которого изменяется в зависимости от его деформации, называется тензорезистором.

Зависимость изменения электрического сопротивления Δ R тензорезистора от давления Р определяется по формуле

Δ R=kRP (4.13)

где k — коэффициент тензочувствительности.

Схема тензометрического манометра приведена на рис. 4.7, а. Манометр имеет цилиндрический корпус 1, образующий в верхней части упругую мембрану диаметром 9, 6 или 14, 4 мм, а в нижней — штуцер для подвода измеряемого давления Р. К мембране припаяна круглая сапфировая пластина 2, на поверхность которой нанесены тонкопленочные полупроводниковые тензорезисторы R1—R4 из монокристаллического кремния, ценным свойством которого является большое значение коэффициента тензочувствительности.

 

Тензорезисторы с помощью припаянных к ним выводных про­водов 3 соединены со сборными пластинками 4, закрепленными на кольце из диэлектрика 5.

Манометры с верхним пределом измерения 0, 4 МПа металлической мембраны не имеют. Измеряемое давление воспринимается только сапфировой пластинкой (мембраной) толщиной 2, 25 мм с тензорезисторами, непосредственно припаянными по окружности к торцовой поверхности корпуса манометра.

Давление в манометре измеряется схемой неуравновешенного моста, плечами которого являются тензорезисторы R1—R4. Под воздействием измеряемого давления мембрана с сапфировой пластинкой и тензорезисторами подвергается радиальным (кривая 1) и окружным (кривая 2) деформациям ε (рис. 4.7, б). При таком рас положении тензорезисторов каждая пара противоположных плеч моста ориентирована так, чтобы их наиболее чувствительное кристаллическое направление совпадало у одной пары с радиальным, а у другой — с окружным направлением мембраны. Тензорезисторы R1 и R2 расположены в радиальном направлении, что приводит при деформации к уменьшению их сопротивления, а тензорезисторы R3 и R4 — в окружном направлении, что вызывает увеличение их сопротивления. В результате при деформации возни­кает разбаланс моста в виде напряжения, которое с помощью встроенного в корпус манометра микроэлектронного усилителя преобразуется в пропорциональный измеряемому давлению токовый выходной сигнал дистанционной передачи

0—5 мА.

Верхний предел показаний манометров 0, 1—40 МПа; класс точности 0, 6; 1 и 1, 5.

Тензометрические манометры имеют малые габариты, простое устройство, высокую точность и надежность в работе, что позво­ляет использовать их для измерения давлений в сложных производ­ственных условиях.

В нашей стране выпускаются тензометрические манометры, которые используют сапфировую пластинку с тензодатчиками и которые так и называются манометрами “Сапфир”. Они разработаны московским заводом “Манометр” и выпускаются этим же предприятием и некоторыми другими фирмами в России. Они представляют собой датчик и регистрирующий прибор. Кроме того, ряд заграничных фирм выпускает датчики давления этого типа, снабжённые микросхемой для усиления и первичной обработки сигнала, так что измерительный сигнал можно видеть на любом электроизмерительном приборе уже приведенными к одному из стандартов – весь диапазон измерений соответствует либо сигналу напряжения 0 – 10 В, либо токовому сигналу 4 – 20 мА.

Приборы дифференциального давления применяются для измерений разницы между двумя отдельными давлениями. Базовым давлением является то, которое присутствует на стороне, взятой за эталонную. В качестве чувствительных элементов используются пружины тех же форм, что и в манометрах относительного давления (рис.4.8) Как правило, чувствительные элементы подвергаются воздействию давления с обеих сторон. Установленная таким образом разность давлений передается с помощью стрелочного механизма непосредственно на шкалу. Если измеряемые давления одинаковы, измеряемый элемент остается неподвижным и показания прибора отсутствуют. Измерение низких разностных давлений возможно даже при высоком статическом давлении. Защита от высоких перегрузок обеспечивается с помощью пластинчатых чувствительных элементов. При выборе манометра следует учитывать допустимое статическое (рабочее) давление, а

также максимально допустимую перегрузку со стороны © и 0. Для преобразования деформации чувствительного элемента в показания стрелки используются принципы, аналогичные принципам действия манометров избыточного давления. Диапазоны показаний лежат в пределах от 0... 16 мбар до макс. 0... 25 бар с классом точности от 0, 6 до 2, 5. Области применения:

- оснащение фильтров (контроль состояния фильтра)

- измерения уровня заполнения резервуаров, находящихся под

давлением

- измерение расхода (падение давления на диафрагме)

Дифференциальный манометр МДП4-СМ-Т.

Предназначен для одновременного измерения в двух различных точках системы избыточного и вакуумметрического давления аммиака с маслом, хладонов 12, 22 с маслом, для отсчета разности давлений в этих точках, а также для работы в холодильных установках, монтируемых на судах.
Прибор имеет два самостоятельных трибко-секторных механизма (рис. 4.9),

независящих друг от друга, две манометрические пружины, два радиальных штуцера и два циферблата, один из которых вращающийся. Отсчет разности давлений в двух источниках отсчитывается непосредственно по шкале подвижного циферблата.

 

 

Технические характеристики:
Предел измерений в кгс/ кв.см: от -1 до +9
Класс точности: 1, 5
Степень защиты: IP53
Диапазон температур, °С: от -50 до +60
Диаметр корпуса: 160 мм
Масса: не более 2 кг
Выпускается с радиальным штуцером, с задним фланцем
Материал корпуса: алюминий
Принцип действия и классификация ионизационных манометров.

В случае высокого вакуума методы измерения давления, ос­нованные на измерении механических сил, теплопроводности, термомолекулярных эффектов и т. п., не являются достаточно чувствительными. Остаются единственно электрические методы, в соответствии с которыми молекулам газа сообщаются электрические заряды и измеряется возникающий при этом ионный ток. На указанном принципе основывается действие ионизацион­ных (ионных) манометров.

Сообщение электрических зарядов молекулам газа происходит путем ионизации свободного газа. Так как ионизации под­вергаются не все молекулы, а только часть их, то при данной концентрации газа п концентрация образовавшихся ионов составляет ni = ξ n, где ξ < 1.

Концентрация газа п и давление р связаны зависимостью p=knT. Таким образом, при Т = const концентрация газа является мерой давления. Однако при измерениях давления газа, имеющего температуру, отличающуюся от температуры градуирования, приходится пересчитывать показания манометра.

Для того чтобы ионный ток мог служить мерой давления, должно выполняться условие пропорциональности между количеством возникающих в единицу времени ионов и концентра­цией газа. Если коэффициент пропорциональности не известен, то, во всяком случае, он должен быть постоянным в пределах давлений, для которых предназначен вакуумный манометр.

Другое важное условие состоит в том, что ионный ток должен быть образован исключительно ионами, возникающими в процессе ионизации газа, и не должен содержать каких-либо посторонних токов. Это условие приобретает особое значение по мере перехода к более низким давлениям.

Проблема ионизационных манометров сводится, таким образом, к возможно более интенсивному образованию ионов в ко­личестве, пропорциональном концентрации газа, их эффектив­ному собиранию и измерению “чистого” ионного тока.

Существенными недостатками большинства ионизационных манометров являются, с одной стороны, их откачивающее действие, обусловленное сильной сорбцией газов под действием электрического разряда, особенно при распылении металла, а с другой стороны, десорбция газов вследствие высокой темпера­туры электродов, электронной бомбардировки и т.п. Указанные эффекты могут оказаться причиной значительных ошибок из­мерения.

С учетом этого ионизационные манометры (в особенности предназначенные для очень высокого вакуума) должны быть тщательно обезгажены путем прогрева корпуса и электродов (например, электронной бомбардировкой), а трубки, соединяющие их с вакуумной системой, должны иметь как можно более высокую проводимость для того, чтобы было возможно свободное движение газа между манометром и контролируемым объе­мом. Лучше всего этим требованиям удовлетворяют манометри­ческие датчики без корпуса, введенные внутрь контролируемого объема. За пятьдесят лет, прошедших со времени изобретения ионизационного манометра, было разработано много различных схем и конструкций вакуумных манометров такого рода.

Важную роль в ионизационных манометрах играет электрическое поле; иногда в дополнение к нему используется магнит­ное поле.

Ионизационные манометры можно разделить на две основ­ные группы:

1. Манометры с контролируемой ионизацией (электронные
и радиоизотопные);

2. Манометры с неконтролируемой ионизацией (электроразрядные).

Ионизационный вакуумный манометр состоит из манометрической трубки (датчика) и соединенного с ней проводами кон­трольно-измерительного блока. Этот блок служит для питания датчика и для измерения ионного тока (в частности, усилен­ного); одновременно он питает манометр электрическим током, необходимым для обезгаживания датчика.

Вакуумные манометры с контролируемой ионизацией.

Различают вакуумные манометры, в которых для ионизации используется электронный поток (электронные ионизационные манометры) или поток α - и β -частиц (радиоизотопные ионизационные манометры).

Из группы электронных ионизационных манометров можно выделить специальную подгруппу приборов, которые применяются для измерений очень низких давлений.

Электронные ионизационные манометры. Электронные ионизационные манометры можно считать исторически первым ионизационным манометром. Он состоит по крайней мере из трех электродов: горячего катода К, эмиттирующего электроны, анода А, ускоряющего и отводящего электроны, и кол­лектора ионов С, который собирает образующиеся ионы (рис. 4.11). Анод имеет положительный относительно катода потенциал (+Uа), коллектор — отрицательный потенциал (-Uс). Катод создает электронный ток Iе, ионизирующий газ. Величина этого тока обычно поддерживается постоянной путем регулирования температуры катода (например, регулированием мощности накала). Система анод — катод предназначена для ионизации газа в пространстве между электродами, а коллектор собирает образующиеся ионы (при устранении других, нежелательных то­ков). Форма электродов и межэлектродные напряжения выбираются прежде всего из условий выполнения этих задач.

 

 

 

Образование ионов. Как указывалось выше, важнейшим параметром процесса ионизации является коэффициент относитель­ной ионизации χ и, характеризующий количество пар ион — элек­трон, образованных одним электроном с энергией eU электрон-вольт на пути 1 см в данном газе с давлением 1 Тор при темпе­ратуре 273 К. Коэффициент относительной ионизации зависит, таким образом, от потенциала в данной точке пространства Ux.

χ и= f(Ux) (4.17)

Максимальные значения коэффициента относительной ионизации, χ и, макс соответствуют оптимальным значениям потен­циалов Uопт, находящимся между 70 и 170 В.

В пространстве ионизации распределение потенциалов между анодом и катодом может быть выражено в функции расстояния

Ux = F(x), (4.18)

причем для анода Ux = Ua.

С учетом зависимости (4.18) коэффициент относительной ионизации можно представить в виде

χ и = F[f(x)] = χ и (x) (4.19)

При данном анодном потенциале Ua путь ионизации определяется прежде всего размерами системы электродов датчика, а также условиями, в которых происходит движение электронов. Многократность прохождения электронов через данную область пространства, движение по винтовым или спиральным линиям в присутствии магнитного поля и т. п. могут значительно увели­чивать длину пути L.

Из количества N΄ j возникших ионов достигает коллектора только определенная часть jj < 1. Таким образом, ионный ток коллектора

Ij c= jjj = Iep jjLj χ и, макс (4.20)

Произведение jjLjχ и, макс называется коэффициентом чувствительности ионизационного манометра

К = jjLj χ и, макс (4.21)

Эта величина для данного газа зависит от формы электродов датчика, питающих напряжений, а также от эффективности собирания ионов коллектором,


Поделиться с друзьями:

mylektsii.su - Мои Лекции - 2015-2026 год. (1.022 сек.)Все материалы представленные на сайте исключительно с целью ознакомления читателями и не преследуют коммерческих целей или нарушение авторских прав Пожаловаться на материал