Студопедия

Главная страница Случайная страница

КАТЕГОРИИ:

АвтомобилиАстрономияБиологияГеографияДом и садДругие языкиДругоеИнформатикаИсторияКультураЛитератураЛогикаМатематикаМедицинаМеталлургияМеханикаОбразованиеОхрана трудаПедагогикаПолитикаПравоПсихологияРелигияРиторикаСоциологияСпортСтроительствоТехнологияТуризмФизикаФилософияФинансыХимияЧерчениеЭкологияЭкономикаЭлектроника






Фотоэлектрические пирометры.






Фотоэлектрические пирометры частичного излучения (ПЧИ) обеспечивают автоматическое непрерывное измерение и регистра­цию температур. Их принцип действия основан на использовании зависимости интенсивности излучения от температуры в узком интервале длин волн спектра. В качестве приемников в данных устройствах используются фотодиоды, фотосопротивления, фотоэлементы и фо­тоумножители.

Фотоэлектрические ПЧИ делятся на две группы:

1) пирометры, в которых мерой температуры объекта является непосредственно величина фототока приемника излучения;

2) пирометры, которые содержат стабильный источник излучения, при чем фотоприемник служит лишь индикатором равенства яркостей данного источника и объекта.

ПЧИ первой группы имеют простую конструкцию. Поток от объекта с помощью линзы и диафрагмы фокусируется на приемной площадке приемника излучения. В качестве ПЧИ в основном используются германиевые (спектральный диапазон 0, 8—1, 8 мкм) и кремниевые (0, 5—1, 1 мкм) фотодиоды, причем последние измеряют более высокие температуры. В цепь фотодиода, работающего в генераторном режиме, последовательно включается сопротивление нагрузки. Быстродействующий потенциометр измеряет падение напряжения, пропорциональное величине фототока, и следовательно, температуре объекта. Данные пирометры характеризуются малой инерционностью и высокой надежностью в работе. Пределы измерения от 450 до 2500 °С и выше. Класс точности 1, 0-1, 5.

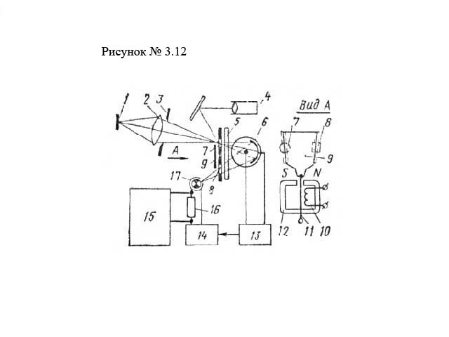
На рис. 3.12 приведена схема фотоэлектрического пирометра, относящегося ко второй группе приборов.


 

В нем в качестве при­емника излучения применяется фотоэлемент. Поток от излучателя 1 линзой 2 и диафрагмой 3 объектива фокусируется на отверстии 7 в держателе светофильтра 5 таким образом, чтобы изображение визируемого участка поверхности излучателя перекрывало дан­ное отверстие. В этом случае величина светового потока, падающего на катод фотоэлемента 6, расположенного за светофильтром, определяется яркостью излучателя, т. е. его температурой. В держателе светофильтра расположено еще одно отверстие 8, через которое на фотоэлемент попадает поток от лампы обратной связи 17. Световые потоки от излучателя 1 и лампы 17 подаются на катод по­переменно через отверстия 7 и 8 с частотой 50 Гц, что обеспечи­вается с помощью вибрирующей заслонки 9. Возвратно-поступа­тельное движение заслонки обеспечивается с помощью катушки возбуждения 10 и постоянного магнита 12. В вибраторе происходит перемагничивание стального якоря 11, который с частотой 50 Гц поочередно притягивается полюсами магнита 12 и перемещает заслонку 9.

При различии световых потоков излучателя 1 и лампы 17 в токе фотоэлемента появится переменная составляющая, имею­щая частоту 50 Гц и амплитуду, пропорциональную разности данных потоков. Усилитель 13 обеспечивает усиление переменной составляющей, а фазовый детектор 14 последующее ее выпрямление. Полученный выходной сигнал подается на лампу, что вызывает изменение силы тока накаливания. Это будет происходить до тех пор, пока на катоде фотоэлемента световые потоки от двух источников не уравняются. Следовательно, ток лампы обратной связи однозначно связан с яркостной температурой объекта измерения.

В цепь лампы 17 включено калиброванное сопротивление 16, падение напряжения, на котором пропорционально силе тока и измеряется быстродействующим потенциометром 15, снабженным температурной шкалой. Окуляр 4 обеспечивает наводку устройства на объект измерения.

Конструктивно данный прибор выполнен в виде отдельных блоков: визирной головки, укрепленной на амортизаторах в кольцевом кронштейне, силового блока, стабилизатора напряжения и быстродействующего потенциометра.

В фотоэлектрических пирометрах с пределами измерения от 500 до 1100 °С применяют кислородно-цезиевый фотоэлемент, а в приборах со шкалой 800—4000 °С вакуумный сурьмяно-цезиевый. Сочетание последнего с красным светофильтром обеспечивает получение эффективной длины волны пирометра 0, 65 ±0, 01 мкм, что приводит к совпадению показаний фотоэлектрического пирометра с показаниями визуального оптического пирометра.

Для приборов со шкалой 800—2000 °С пределы допускаемой основной погрешности не превышают ±1%, а при температурах выше 2000 °С не превышают ±l, 5% от верхнего значения шкалы. Расстояние от объекта 200—1200 мм с показателем визирования от 1/20 до 1/50.


Поделиться с друзьями:

mylektsii.su - Мои Лекции - 2015-2026 год. (3.186 сек.)Все материалы представленные на сайте исключительно с целью ознакомления читателями и не преследуют коммерческих целей или нарушение авторских прав Пожаловаться на материал