Студопедия

Главная страница Случайная страница

КАТЕГОРИИ:

АвтомобилиАстрономияБиологияГеографияДом и садДругие языкиДругоеИнформатикаИсторияКультураЛитератураЛогикаМатематикаМедицинаМеталлургияМеханикаОбразованиеОхрана трудаПедагогикаПолитикаПравоПсихологияРелигияРиторикаСоциологияСпортСтроительствоТехнологияТуризмФизикаФилософияФинансыХимияЧерчениеЭкологияЭкономикаЭлектроника






Поплавковые уровнемеры






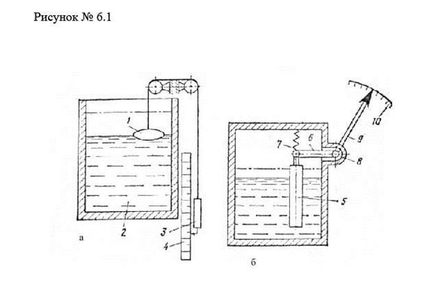
Простейшими уровнемерами, применяемыми для контроля уровня жидкости, находящейся в резервуаре под атмосферным давлением, являются поплавковые уровнемеры, схема которых показана на рис. 6.1, а.

Чувствительным элементом измерителя уровня является поплавок 1, плавающий на поверхности жидкости 2. Положение поплавка, а следовательно, и положение связанного с ним уравновешивающего груза 3 относительно шкалы 4 определяют уровень жидкости.

Поплавок в большинстве случаев представляет собой металлический или стеклянный пустотелый или заполненный каким-либо легким материалом герметичный сосуд шаровидной, чечевицеобразной или цилиндрической формы. Чаще применяются тонущие поплавки-буйки, частично погруженные в жидкость (рис. 6.1, б). Буек 5 подвешен на рычаге 6 и пружине 7. При изменении уровня жидкости изменяется степень погружения буйка, а следовательно, и растягивающее усилие пру­жины 7 под действием веса буйка. Благодаря этому каждому уровню будет соответствовать определенное положение буйка. Положение буйка или поплавка преобразуется в линейное или угловое перемещение, которое может быть передано, на указывающий прибор или преобразовано в электрический или пневматический сигнал для дистанционной пе­редачи. Перемещение буйка через рычаг 6 передается на ось 8, на которой закреплена стрелка 9, показывающая по шкале 10 уро­вень жидкости.

Уровнемеры-регуляторы буйковые пневматические УРБ-П, УРБ-ПМ


Уровнемеры-регуляторы буйковые пневматические УРБ-П, УРБ-ПМ рис. 6.2 предназначены для работы в системах автоматического контроля, управления и регулирования параметров производственных технологических процессов с целью выдачи информации в виде стандартного пневматического сигнала об уровне жидкости (УРБ-П) или границы раздела двух несмешивающихся жидкостей (УРБ-ПМ), находящихся под вакуумметрическим, атмосферным или избыточным давлением.


Уровнемеры внесены в Государственный реестр средств измерений под № 8320/1. Уровнемеры относятся к изделиям ГСП.

Технические данные

Типоисполнения уровнемеров и материалы деталей, предельные значения диапазона измерений и параметры измеряемой жидкости указаны в таблице (см. ниже).

Уровнемеры настроены:

УРБ-П - на плотность измеряемой жидкости 0, 5-2, 5 г/см³;
УРБ-ПМ - на разность плотностей в диапазоне плотностей контролируемых жидкостей от 0, 5 до 2 г/см³, 0, 122-0, 4 г/см³.
Давление воздуха питания 140±14 кПа (кгс/смº) (1, 4±0, 14).
Расход воздуха питания в установившемся режиме при нормальных условиях, неболее 3 л/мин.

Предел изменения выходного сигнала при изменении уровня жидкости от нижнего до верхнего предела измерения (кгс/см²) 20-100 кПа (0, 2-1)
Допустимая основная погрешность ±0, 5%; ±1, 0%; ±1, 5%.

Дальность передачи выходного сигнала по пневматической линии связи внутренним диаметром 6 мм, 3-300 м.

Мембранные дифманометры.

Для измерения уровня жидкости в барабанах парогенераторов, котлов-утилиза­торов и системах испарительного охлаждения металлургических печей широко применяют мембранные дифманометры, отградуировав их в единицах уровня.

На рис. 6.3 показана схема измерения уровня воды в баке дифманометром с использованием уравнительного сосуда.

Плю­совая камера дифманометра 4 соединена трубкой 2 с уравнительным сосудом 1, а минусовая камера соединена с ниж­ней частью водяного пространства барабана трубкой 3. В сосуде 1, присоединенном к паровому пространству барабана, уровень воды (конденсата) поддерживается постоянным. Днфманометры показывают разность гидростатических давлений измеряемого и уравнительного (с постоянным уровнем) сосудов. При измерении уровня в открытых сосудах можно не применять уравнитель­ных сосудов, а просто измерять уровень по показаниям манометра.


Поделиться с друзьями:

mylektsii.su - Мои Лекции - 2015-2026 год. (1.246 сек.)Все материалы представленные на сайте исключительно с целью ознакомления читателями и не преследуют коммерческих целей или нарушение авторских прав Пожаловаться на материал