Студопедия

Главная страница Случайная страница

КАТЕГОРИИ:

АвтомобилиАстрономияБиологияГеографияДом и садДругие языкиДругоеИнформатикаИсторияКультураЛитератураЛогикаМатематикаМедицинаМеталлургияМеханикаОбразованиеОхрана трудаПедагогикаПолитикаПравоПсихологияРелигияРиторикаСоциологияСпортСтроительствоТехнологияТуризмФизикаФилософияФинансыХимияЧерчениеЭкологияЭкономикаЭлектроника






Возгонка (сублимация)






Возгонкой или сублимацией называют процесс, при котором кристаллическое вещество, нагретое ниже его температуры плавления, переходит в парообразное состояние (минуя жидкое), а затем оседает на холодной поверхности в виде кристаллов.

При атмосферном давлении при температурах ниже Тпл могут возгоняться только органические соединения с относительно высоким давлением паров. Их немного, подавляющее большинство соединений сублимируются только при пониженном давлении.

Возгонка - превосходный метод очистки веществ в тех случаях, когда загрязнения обладают иной летучестью, чем само соединение (соединения со сходной летучестью будут возгоняться вместе) и заменяет длительную и тру­доемкую кристаллизацию. Возгонку легко провести даже с очень небольшими количествами вещества при минимальных потерях. Этот метод особенно удобен для очистки хинонов, многоядерных углеводородов, веществ, образующих сольваты или гидраты.

Простейшее устройство для возгонки при атмосферном давлении - низ­кий стакан без носика с тонким слоем предназначенного для сублимации ве­щества на дне. Стакан закрывают круглодонной колбой, через которую проте­кает вода. При высоких температурах возгонки вода в колбе может быть и не проточной.

Возгонку можно вести и в фарфоровой чашке, закрытой широким кон­цом воронки, диаметр которой несколько меньше диаметра чашки (рис.3а).

Узкий конец воронки неплотно закрывают ватой. Для того, чтобы сублимат не попал обратно в чашку, ее закрывают листом фильтровальной бумаги с отверстиями в нем. Вещество, подвергаемое возгонке, должно быть мелко измельчено.

Уже небольшое перегревание может способствовать быстрому термиче­скому разложению возгоняемого вещества.

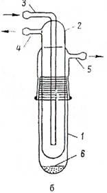
Этой опасности можно избежать, проводя возгонку в вакууме. Для соз­дания вакуума используют водоструйные, масляные насосы. Прибор для воз­гонки в вакууме изображен на рис.3б. Возгоняемое вещество помещают на дно пробирки, в которую вставлен пальчиковый холодильник. Расстояние ме­жду дном сублиматора и концом холодильника должно быть небольшим, но достаточным, чтобы возогнанное вещество не загрязнялось при разбрызгива­нии твердого вещества.

 

 

Рис. 3. Приспособление для возгонки (а), прибор для вакуум-возгонки (б): 1 - стакан со шлифом; 2- колпак с пальчиковым холодильником, 3 - трубка для ввода воды; 4 -патрубок для вывода воды; 5 -патрубок для присоединения к вакуум-насосу; 6 -возгоняемое вещество

 

Обычно оно составляет около 1 см. После вакуумирования сублиматор погружают в масляную баню и постепенно нагревают до тех пор пока на по­верхности холодильника не образуется пленка возогнанного вещества. По за­вершении возгонки сначала отключают вакуум и вынимают холодильник. Во­зогнанное вещество соскребают на часовое стекло.

 


Поделиться с друзьями:

mylektsii.su - Мои Лекции - 2015-2026 год. (1.446 сек.)Все материалы представленные на сайте исключительно с целью ознакомления читателями и не преследуют коммерческих целей или нарушение авторских прав Пожаловаться на материал