Студопедия

Главная страница Случайная страница

КАТЕГОРИИ:

АвтомобилиАстрономияБиологияГеографияДом и садДругие языкиДругоеИнформатикаИсторияКультураЛитератураЛогикаМатематикаМедицинаМеталлургияМеханикаОбразованиеОхрана трудаПедагогикаПолитикаПравоПсихологияРелигияРиторикаСоциологияСпортСтроительствоТехнологияТуризмФизикаФилософияФинансыХимияЧерчениеЭкологияЭкономикаЭлектроника






Принцип действия и конструкция машин постоянного тока






Электрическими машинами называются устройства, предназначен­ные для преобразования механической энергии вращения в электри­ческую (генератор) и наоборот, электрическую энергию в механичес­кую (двигатель). Работа электрической машины основана на единст­ве закона электромагнитной индукции и закона электромагнитных сил.

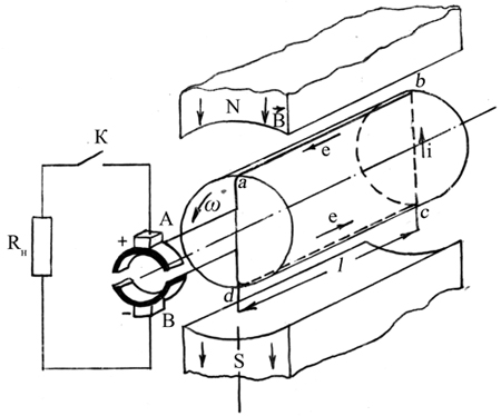
Возьмем устройство, состоящее из двух магнитных полюсов создающих постоянное магнитное поле, и якоря – стального цилиндра с уложен­ным на нем витком из электропроводного материала. Концы витка при­соединены к двум металлическим полукольцам, изолированным друг от друга и от вала. Полукольца соприкасаются с неподвижными щет­ками, соединенными с внешней цепью (рисунок 1.1).

 

Рисунок 1.1

 

При вращении якоря в соответствии с законом электромагнитной индукции в проводниках витка ab и cd при пересечении ими магнитного поля будет индуктироваться ЭДС, которая при наличии стального цилиндра равна

e = BLV

где V – линейная скорость движения проводника относительно магнитного поля;

B – индукция магнитного поля;

L – длина активной части витка.

Направления ЭДС в проводниках ab и cd определяется по правилу правой руки. По контуру abcd эти ЭДС складываются и, так как верхний и нижний проводники находятся в одинаковых магнитных ус­ловиях, то ЭДС витка будет:

Таким образом, в данных условиях характер изменения во времени ЭДС в проводнике при вращении определяется характером распределе­ния индукции в зазоре. Распределение ее по окружности якоря нерав­номерное, так как магнитное сопротивление Rμ потоку различное. Под полюсами индукция В имеет максимальное значение, в проме­жутке между полюсами индукция уменьшается, достигая на линии qq нулевого значения (рисунок 1.2, а). Линия dd, проходящая через центр якоря вдоль полюсов, называется продольной осью машины, а линия qq, проходящая через центр якоря посредине между полюсами, называется поперечной осью. Поперечную ось также называют геометрической ней­тралью. Часть окружности якоря, приходящуюся на один полюс, называет полюсным делением и обозначают τ.

Рисунок 1.2

 

При вращении якоря через каждые полоборота проводники ab и cd оказываются в поле противоположных полюсов. Поэтому направле­ние ЭДС в них меняется на противоположное. Таким образом, при вращении якоря в витке индуктируется переменная ЭДС (рисунок 1.2, б). Для получения во внешней цепи постоянного тока устанавливают спе­циальный переключатель, называемый коллектором. Проводники ab и cd присоединяются к полукольцам, изолированным друг от друга и от вала.

Полукольца (пластины коллектора) соприкасаются с непод­вижными щетками, соединенными с внешней цепью. При вращении якоря каждая из щеток будет соприкасаться только с той коллекторной пластиной и соответственно только с тем из проводников, который на­ходится под полюсом данной полярности. Направление ЭДС в витке изменяется на линии геометрической нейтрали и в это же момент происходит переключение полуколец к щеткам А и В.

В резуль­тате полярность щеток в процессе работы машины остается неизмен­ной, а ЭДС и ток во внешней цепи становятся постоянными по направ­лению и переменным» по величине (рисунок 1.3). Таким образом, кол­лектор играет роль механического переключателя сторон витка к щет­кам, т.е. является выпрямителем.

Чтобы сгладить пульсацию ЭДС и тока во внешней цепи, на якоре располагают несколько витков, при­соединенных к соответствующим парам коллекторных пластин и сдви­нутых относительно друг друга на некоторый угол. Практически уже при 16 витках на якоре пульсации тока становятся незаметными и ток во внешней цепи можно считать постоянными не только по направ­лению, но и по величине. Таким образом, мы получили генератор пос­тоянного тока.

Рисунок 1.3

 

Рассмотрим работу данной системы в режиме двигателя. Если к щеткам приложить напряжение внешнего источника электроэнергии, то в витке потечёт ток. Согласно закону электромагнитных сил на каж­дую сторону витка будет действовать сила

Эти силы создадут вращающий момент:

Под действием этого момента якорь начнет вращаться, преодолевая момент сопротивления на валу. После прохождения сторонами витка линии геометрической нейтрали они попадают в зону полюса противоположной полярности. Но в это же время в них изменяется и направле­ние тока, что осуществляется с помощью коллектора. В резуль­тате направление момента остается прежним, и якорь будет вращаться в том же направлении. В этом случае коллектор выполняет роль ин­вертора – преобразователя постоянного тока в переменный.

 

 


Поделиться с друзьями:

mylektsii.su - Мои Лекции - 2015-2026 год. (1.478 сек.)Все материалы представленные на сайте исключительно с целью ознакомления читателями и не преследуют коммерческих целей или нарушение авторских прав Пожаловаться на материал