Студопедия

Главная страница Случайная страница

КАТЕГОРИИ:

АвтомобилиАстрономияБиологияГеографияДом и садДругие языкиДругоеИнформатикаИсторияКультураЛитератураЛогикаМатематикаМедицинаМеталлургияМеханикаОбразованиеОхрана трудаПедагогикаПолитикаПравоПсихологияРелигияРиторикаСоциологияСпортСтроительствоТехнологияТуризмФизикаФилософияФинансыХимияЧерчениеЭкологияЭкономикаЭлектроника






Теиа: Аналого-цифровые и цифро-аналоговые преобразователи.






 

Аналого-цифровые преобразователи (АЦП) преобразуют аналоговые величины в цифровой код и обеспечивают связь различных аналоговых измерителей с цифровыми устройствами. Цифро-аналоговые преобразователи (ЦАП) осуществляют преобразование цифровых величин в аналоговые.

 
 

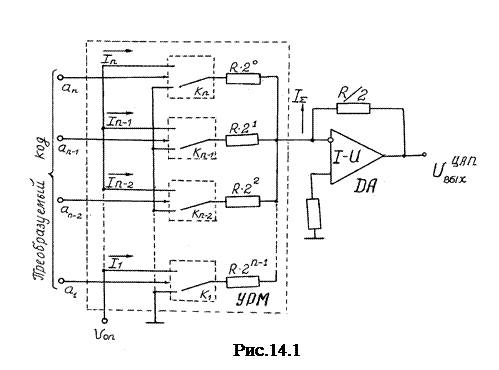
Из многообразия серийно выпускаемых промышленностью преобразователей по быстродействию, точности и надежности выделяются параллельный ЦАП (рис.14.1) и АЦП поразрядного уравновешивания (рис.14.2).

Основным элементом параллельного ЦАП с матрицей на резисторах является операционный усилитель (ОУ) , работающий в режиме суммирования входных токов I 1, I 2, I 3,... I n, количество которых равно числу разрядов кода (рис.14.1).

Преобразуемый код поступает на входы ключей K 1, K 2, K 3,..., K n, и в зависимости от цифры в данном разряде аi (0 или 1), резисторы подключаются либо к шине “земля”, либо к источнику опорного напряжения U оп. Сопротивления резисторов управляемой резистивной матрицы (УРМ) набираются по двоичному коду Ri=2n-i·R. При таких условиях ток младшего разряда I 1= U оп/(R× 2n- 1), а суммарный ток усилителя равен сумме всех токов, протекающих от источника U оп через ветви с замкнутыми ключами I S=(2n- 1 аn + 2n- 2 а n-1+...+21 а 2+20 а 1) I 1. Ток I S и информационная составляющая выходного напряжения ЦАП на выходе преобразователя DA «ток – напряжение» (I - U) пропорциональны входному коду

). (1)

При этом, если все значения разрядов кода а 1, a 2,..., a n равны единицам, то = U on= U пред. Приняв U on=10, 24 В при n =12, величина минимального уровня квантования или шага будет равна цене деления цифрового измерительного прибора U=U on/ 2n =2, 5 мВ. В этом случае при единичных значениях всех 12 разрядов кода набор образцовых напряжений в соответствии с (1) составит:

= U on= U пр= 5120мВ+2560мВ+1280мВ+640мВ+320мВ+160мВ+

+80мВ+40мВ+20мВ+10мВ+5мВ+2, 5мВ=10, 24 В.

 
 

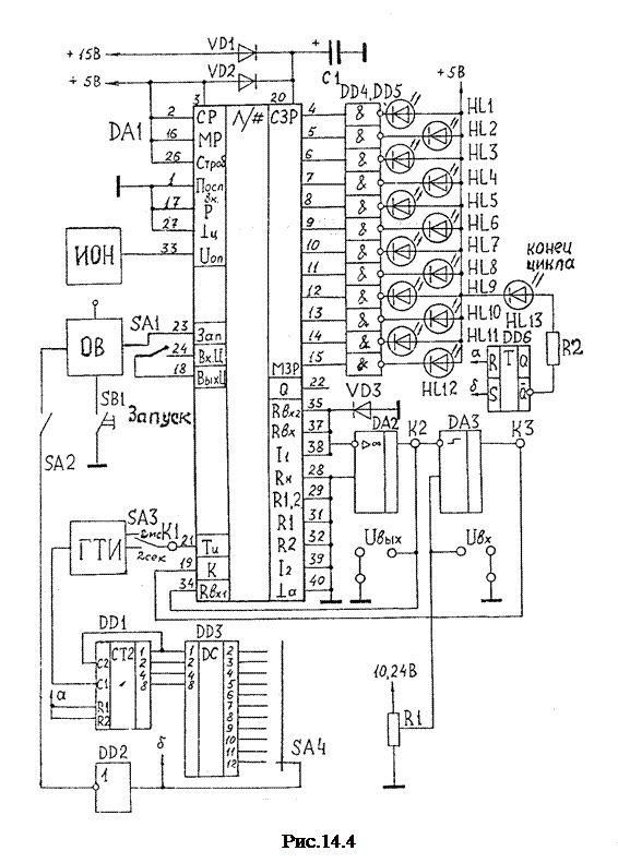
С позиций оптимального сочетания быстродействия, точности и надежности для построения АЦП может быть использован метод поразрядного уравновешивания. Структура АЦП с поразрядным уравновешиванием представлена на рис.14.2.

После запуска АЦП под действием сигналов генератора тактовых импульсов (ГТИ) в регистре последовательного приближения (РПП) вырабатывается испытательный код, который, начиная от старшего 12-го разряда и кончая первым младшим разрядом, с помощью УРМ и преобразователя I - U преобразуется в уровни испытательного напряжения . Входное напряжение U вх сравнивается с испытательным напряжением компаратором К, и в зависимости от результата сравнения соответствующее значение (0 или 1) разряда заносится в РПП и учитывается при последующих тактах сравнения. Выходной код РПП является цифровым аналогом U вх.

Очевидно, что набор образцовых напряжений не может быть осуществлен с большей точностью, чем шаг дискретизации U. Поэтому значение U определяет основную методическую составляющую погрешность АЦП, и после преобразования (завершения всех 12-ти тактов при n =12) установится приблизительное равенство двух сравниваемых напряжений U вх» .

Таблица 14.1

№ такта № разряда U вх, мВ , мВ ai
         
         
      2560+1280  
      2560+640  
      2560+320  
      2560+160  
      2560+160+80  
      2560+160+40  
      2560+160+20  
      2560+160+10  
      2560+160+5  
 
 

12

    2560+160+2, 5  

 

Рассмотрим численный пример. Пусть U вх=2720 мВ. Так как уровень напряжения старшего разряда равен U n/2=10240/2=5120 мВ, то значение аi = a12 старшего n- го разряда, зарегистрированное компаратором, будет равно «0» (U вх= 2720 < = 5120 мВ). Поэтому для первого такта уравновешивания будет получено значение аi = a12 =0 (см. табл.14.1). Уровень следующего n-1 разряда будет в два раза меньше старшего n -го разряда, и компаратор зарегистрирует значение a11 =1 (U вх=2720> =2560). На третьем такте уравновешивания = 2560+2560/2=3840 мВ, и будет зарегистрировано значение a10 =0; и т. д. до 12-го последнего такта уравновешивания. Значения ai для всех 12-ти тактов (разрядов) приведены в табл.14.1. На рис.14.3 представлена зависимость и ai в функции от тактов уравновешивания NТ. АЦП поразрядного уравновешивания исследуется в настоящей работе. Схема установки представлена на рис.14.4.

 
 

АЦП содержит: БИС DА1 типа КР572ПВ1А в специальном включении, выполняющую функции РПП и УРМ; ОУ DA2 типа КР544УД1А (преобразователь I - U); компаратор DA3 типа К554СА3; источник опорного напряжения ИОН; одновибратор ОВ на ИС К561ЛА7; ГТИ; счетчик циклов уравновешивания разрядов в одном преобразовании на ИС DD1 типа К155ИЕ5; дешифратор количества импульсов циклов уравновешивания на ИС DD3 типа К155ИД3 и инверторе DD2; переключатель количества циклов уравновешивания разрядов в одном преобразовании SA4; регулятор входного напряжения U вх на резисторе R1; переключатели SA1, SA2 для перевода режима работы схемы из непрерывного в ждущий; переключатель длительности тактовых импульсов (2 сек - 2 мс) SA3; кнопку запуска в ждущем режиме SB1 “запуск”; R - S триггер DD6 конца цикла преобразования; согласующие инверторы DD4, DD5; светодиоды HL1.... HL12 для отображения двоичного выходного кода АЦП; светодиод HL13, индицирующий конец цикла преобразования АЦП; диоды VD1, VD2 для защиты микросхемы от неправильного подключения питающих напряжений; диод VD3 для защиты DA1 при пробое ОУ DА2; клеммы для измерения входного U вх и выходного U вых= напряжений АЦП.

АЦП может работать в трех режимах преобразования:

1. Ждущий с регулировкой переключателем SA4 количества разрядов и одноразовым запуском цикла преобразования кнопкой SB1. Переключатели SA1 и SA2 должны быть выключены (в нижнем положении).

2. Непрерывный или периодический с регулировкой количества разрядов n переключателем SA4 и периодическим автозапуском после каждого преобразования. Переключатель SA1 находится в безразличном положении (включен или выключен), а SA2 включен (в верхнем положении).

3. Непрерывный или периодический без регулирования количества n разрядов (n=12). Переключатель SA1 включен, SA2 выключен.

В одноразовом, ждущем режиме запуск АЦП осуществляется выходным импульсом ОВ, поступающим на вход 23 DA1 при каждом нажатии кнопки SB1 после загорания светодиода HL13. Преобразование в каждом цикле (поразрядное) осуществляется под действием выходных импульсов ГТИ, поступающих на вход 21 DA1 (на один разряд используется два импульса ГТИ). Период повторения ГТИ (2 с или 2 мс) изменяется переключателем SA3 при всех режимах работы. С выхода 38 DA1 выходной ток управляемой матрицы поступает в преобразователь DA2 «ток – напряжение» (I - U), преобразуется в напряжение и поступает на вход компаратора DA3. В компараторе это напряжение () сравнивается с входным U вх. Информация результата сравнения (0 или 1) поступает на вход 19 DA1 и запоминается в РПП. После квантования 12 разрядов и сброса всех элементов в исходное состояние включается новый цикл преобразования кнопкой SB1. Информация каждого цикла преобразования выводится через согласующие каскады DD4, DD5 на светодиоды HL1...HL12. Светодиод HL13 служит для индикации конца цикла преобразования.

Так как уравновешивание осуществляется от старшего разряда к младшему, то и нумерация светодиодов HL для индикации значений ai разрядов осуществляется от старшего разряда к младшему (HL1 - старший, 12-й разряд, а HL12 - младший).

При режиме непрерывной работы с регулировкой количества n разрядов, независимо от положения переключателя SA1, запуск АЦП осуществляется выходным импульсом ОВ по входу “запуск” (23 ножка DA1). При этом ОВ запускается через замкнутый переключатель SA2 перепадом напряжения с выхода инвертора DD2 блока ограничения количества разрядов в цикле преобразования (DD1, DD2, DD3). Количество n разрядов в каждом цикле преобразования при этом определяется положением переключателя SA4. Ограничиваются младшие, начиная с первого, разряды.

Режим непрерывной работы без ограничения разрядности обеспечивается за счет запуска АЦП после окончания преобразования всех 12-ти разрядов цикла и подачи импульсов с 18-го вывода микросхемы DA1 «Выход Цикла» через замкнутый переключатель SA1 на 24-й вывод “Вход цикла”. Так как на преобразование одного разряда используется 2 импульса ГТИ, то при периоде повторения Т напряжения ГТИ для всех 12-ти разрядов с учетом потери такта “конец цикла” и такта на восстановление исходного состояния время полного преобразования (быстродействие АЦП) составит Тn=26Т.

Основными параметрами ЦАП и АЦП являются разрешающая способность, точность и быстродействие (время одного преобразования). Разрешающая способность ЦАП и АЦП равна шагу квантования U. Точность АЦП, в основном, определяется погрешностями ЦАП и компаратора. Погрешность АЦП состоит из методической и инструментальной. Методическая погрешность определятся величиной шага U и численно ее значения не выходят за пределы U /2. Инструментальная погрешность содержит: основную составляющую - погрешность дрейфа нуля (аддитивную составляющую), и погрешность нестабильности чувствительности или нестабильности коэффициента передачи элементов АЦП, в основном, УРМ (мультипликативную составляющую). В большинстве случаев инструментальная погрешность цифровых измерителей значительно меньше методической, и поэтому точность цифровых измерителей часто оценивается величиной относительной приведенной методической погрешности g@1/2n.

Точность ЦАП оценивается погрешностью преобразования входного кода при единичных значениях все разрядных коэффициентов в аналог

gЦАП= .

При экспериментальном исследовании погрешность АЦП определяется из выражения

gАЦП= ,

где определяется по выходному коду АЦП и выражению (1) при U вх= U пр. Очевидно, экспериментальное значение gАЦП> g=1/2n, так как оно содержит также и другие составляющие инструментальной погрешности.

Погрешность преобразования входных напряжений Uвх в код АЦП (погрешность преобразования Uвх) определяется по формуле

gnАЦП= ,

где определяется по выходному коду АЦП и выражению (1) при входном напряжении Uвх; Uвх.э – напряжение Uвх, измеренное эталонным вольтметром.

Аналогично определяется и погрешность преобразования входного кода Uвх в аналог ЦАП:

gnЦАП= ,

где - выходное напряжение ЦАП, соответствующее входному коду от исследуемого напряжения Uвх; определяется по коду АЦП (входному коду ЦАП) и выражению (1) при исследуемом напряжении Uвх.

Как отмечалось, быстродействие АЦП определяется временем одного преобразования Uвх в цифровой код.

 

Контрольные вопросы

 

Для каких целей применяется ЦАП и АЦП?

Какие функции выполняет РПП?

Как осуществляется процесс поразрядного уравновешивания?

Как работает ЦАП параллельного преобразования?

Какие причины ограничивают разрядность ЦАП?

Почему в АЦП используется двоичная система счисления?

Как оценивается точность и разрешающая способность АЦП и ЦАП?

Как оценивается точность преобразования напряжений в код АЦП и точность преобразования входного кода в аналог ЦАП?


Поделиться с друзьями:

mylektsii.su - Мои Лекции - 2015-2026 год. (1.312 сек.)Все материалы представленные на сайте исключительно с целью ознакомления читателями и не преследуют коммерческих целей или нарушение авторских прав Пожаловаться на материал