Студопедия

Главная страница Случайная страница

КАТЕГОРИИ:

АвтомобилиАстрономияБиологияГеографияДом и садДругие языкиДругоеИнформатикаИсторияКультураЛитератураЛогикаМатематикаМедицинаМеталлургияМеханикаОбразованиеОхрана трудаПедагогикаПолитикаПравоПсихологияРелигияРиторикаСоциологияСпортСтроительствоТехнологияТуризмФизикаФилософияФинансыХимияЧерчениеЭкологияЭкономикаЭлектроника






Разработать технологию изготовления кронштейна.






Производство крупносерийное, годовой объем выпуска 3000 шт. при двухсменной работе участка

 

Поз. Наимено-вание детали Кол-во, шт. Материалы Толщина стенки, мм
1.1.1.5 Варианты 1.1.1.6 Варианты
А Б В А Б В
  Основание   Ст3сп 12Х18Н10Т 12ХСНД      
  Ступица   Ст3сп 12Х18Н10Т 12ХСНД      
  Кольцо   Ст3сп 12Х18Н10Т 12ХСНД      
  Ребро   Ст3сп 12Х18Н10Т 12ХСНД      

 

 

Технические условия

1. Условия работы: динамические нагрузки.

2. Допускаемые дефекты согласно РД 34.15.132-96 (Приложения П14).

 

 

№17. Разработать технологию изготовления проушины.

Производство средне серийное, годовой выпуск 500 шт. при двухсменной работе участка.

 

Пози-ция Кол. шт. Наименов. изделия Материалы Толщина стенки, мм
Вариант Вариант
А Б В А Б В
    Корпус 20Х3МВФ 15Х5МВФ 20Х1М1Ф1БР      
    Проушина 20Х3МВФ 15Х5МВФ 20Х1М1Ф1БР      

 

 

 

Технические условия.

1. Химический состав стали по ГОСТ 20072-74.

2. Проушина работает в особо тяжелых условиях. Подвергается непосредственному воздействию динамических и вибрационных нагрузок..

3. В сварных швах скопление пор и неметаллических включений не допускается.

4. Допускаемые дефекты согласно РД 34.15.132-96


№18. Разработать технологию изготовления балки двутавровой.

Производство средне серийное, годовой выпуск 500 шт. при двухсменной работе участка.

 

Пози-ция Наименов. изделия Кол-во, шт. Материалы Толщина стенки, мм
Вариант Вариант
А Б В А Б В
  Стенка   10ХСНД 16Г2АФ Ст3Гсп      
  Полка   10ХСНД 16Г2АФ Ст3Гсп      
  Ребро жесткости   10ХСНД 16Г2АФ Ст3Гсп      

 

Технические условия.

1. Основной материал по ГОСТ 19282-73, ГОСТ 380-94, ГОСТ 20072-74, ГОСТ 27772-88,

2. Проушина работает в особо тяжелых условиях. Подвергается непосредственному воздействию динамических и вибрационных нагрузок..

3. В сварных швах скопление пор и неметаллических включений не допускается. Допускаемые дефекты согласно РД 34.15.132-96, СНиП III-18-75*.

 

 

№ 19. Разработать технологию изготовления лонжерона.

Производство средне серийное, годовой выпуск 700 шт. при двухсменной работе участка.

 

 

 

Пози-ция Наименов. изделия Кол. шт. Материалы Толщина стенки, мм
Вариант Вариант
А Б В А Б В
  Швеллер   12Г2С 09Г2С Ст3сп      
  Полка   12Г2С 09Г2С Ст3сп      
  Ребро жесткости   12Г2С 09Г2С Ст3сп      

 

Технические условия.

1. Основной материал по ГОСТ 19282-73, ГОСТ 380-94, ГОСТ 20072-74, ГОСТ 27772-88,

2. Лонжерон работает в особо тяжелых условиях. Подвергается непосредственному воздействию динамических и вибрационных нагрузок..

3. В сварных швах скопление пор и неметаллических включений не допускается. Допускаемые дефекты согласно РД 34.15.132-96, СНиП III-18-75*.


 

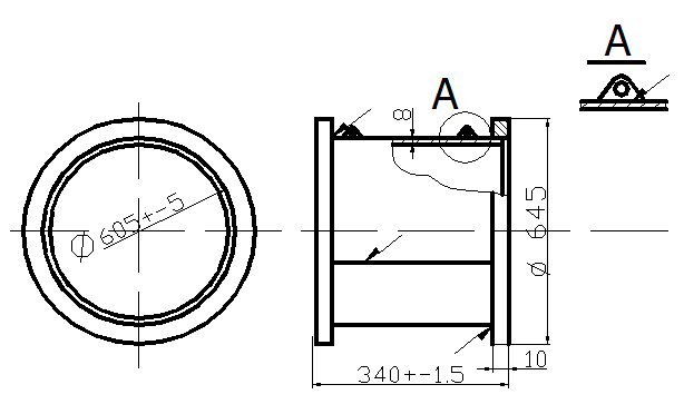
№ 20. Разработать технологию изготовления корпуса вентилятора.

Производство средне серийное, годовой выпуск 800 шт. при двухсменной работе участка

 

Пози-ция Наименов. изделия Кол. шт. Материалы
Вариант
А Б В
  Корпус   10ХСНД 16Г2АФ Ст3Гсп
  Фланец   10ХСНД 16Г2АФ Ст3Гсп
  Ухо   10ХСНД 16Г2АФ Ст3Гсп

 

Технические условия.

1. Основной материал по ГОСТ 19282-73, ГОСТ 380-94, ГОСТ 20072-74, ГОСТ 27772-88,

2. Корпус работает в особо тяжелых условиях. Подвергается непосредственному воздействию динамических и вибрационных нагрузок.

3. В сварных швах скопление пор и неметаллических включений не допускается.


 

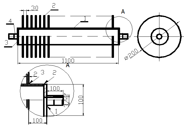
№ 21. Разработать технологию изготовления радиатора.

Производство крупносерийное, годовой объем выпуска 700 шт. при двухсменной работе участка.

Технические условия

 

1. Химический состав стали по ГОСТ 380-94.

2. Радиатор работает при температуре от +40˚ С до -40˚ С.

3. Подрезы, наплывы, и другие поверхностные дефекты не допускаются. В швах 1 2 допускается непровар 0, 5 мм на длине не более 30%.

 

Наименование детали Кол-во Материал Толщина стенки (мм)
Верхний пояс   Ст3пс  
Вертикальный пояс   Ст3 пс  
Нижний пояс   Ст3пс  

 



Поделиться с друзьями:

mylektsii.su - Мои Лекции - 2015-2026 год. (1.249 сек.)Все материалы представленные на сайте исключительно с целью ознакомления читателями и не преследуют коммерческих целей или нарушение авторских прав Пожаловаться на материал