Студопедия

Главная страница Случайная страница

КАТЕГОРИИ:

АвтомобилиАстрономияБиологияГеографияДом и садДругие языкиДругоеИнформатикаИсторияКультураЛитератураЛогикаМатематикаМедицинаМеталлургияМеханикаОбразованиеОхрана трудаПедагогикаПолитикаПравоПсихологияРелигияРиторикаСоциологияСпортСтроительствоТехнологияТуризмФизикаФилософияФинансыХимияЧерчениеЭкологияЭкономикаЭлектроника






Автотракторних ДВЗ.






Система мащення двигуна – це сукупність пристроїв (механізмів і приладів), з'єднаних між собою маслопроводами і забезпечуючи очищення і підвід мастильного матеріалу до поверхонь тертя в необхідній кількості при певній температурі і під певним тиском.

В залежності від способу підводу оливи до поверхонь тертя деталей системи мащення ділять на три групи: розбризкуванням, під тиском і комбіновані.

При системі мащення розбризкуванням залита в картер двигуна олива захоплюється і розбризкується рухомими деталями (шатунами, колінчатим валом), утворюючи масляний туман. Крапельки оливи осідають на поверхні деталей, змащують їх, а потім знову стікають в картер. Така система мащення застосовується на малопотужних пускових двигунах (П-23 і інші).

При мащенні під тиском олива постійно подається до поверхонь тертя деталей спеціальним насосом.

В сучасних ДВЗ мащення поверхонь тертя може здійснюватися під тиском з безперервною подачею оливи, під тиском з періодичною (пульсуючою) подачею і розбризкуванням (комбіновані системи мащення). Такий спосіб системи мащення дозволяє забезпечити різну інтенсивність мащення тертьових поверхонь в залежності від умов роботи.

Так як більшість деталей двигуна знаходяться в відносному русі, то між ними виникає тертя руху, яке може бути двох видів: тертя ковзання, при якому швидкості тіл в точках дотику різні по числовому значенні і напрямку і тертя кочення, при якому швидкості тіл в точках дотику однакові. В ДВЗ більшість тертя – тертя ковзання. Для тертя зі змащувальним рідинним матеріалом коефіцієнт тертя рівний 0, 001…0, 02, а без нього – 0, 8…1 і більше.

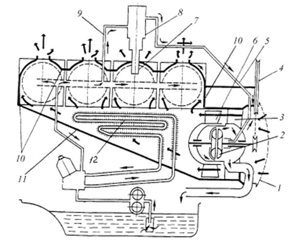
Система мащення (рис. 5.1) забезпечує зниження втрат потужності дизеля на подолання тертя між тертьовими поверхнями і відвід теплоти тертя шляхом створення між ними шару мастильного матеріалу. Система включає резервуар масла, насос з масло приймачем, фільтри грубої і тонкої очистки масла, охолоджувач, запобіжні і перепускні клапани, заливну горловину, зливну пробку, вимірювач рівня оливи в резервуарі, трубопроводи і з'єднувальні шланги.

Трактори і автомобілі працюють в різних експлуатаційних умовах і часто в умовах великої запиленості, що призводить до забруднення мастильних матеріалів.

Найбільший абразивний знос визивають частинки кварцу, що знаходиться в забрудненому повітрі, твердість яких перевершує твердість використовуємих в тракторобудуванні матеріалів.

 

Рис.5.1. Комбінована система мащення двигуна:

1 – запобіжний клапан; 2 – перепускний клапан; 3 – кран; 4 – відцентровий фільтр; 5 - покажчик тиску оливи; 6 - сапун; 7 – підшипники компресора;

8 – підшипники ПНВТ; 9 – щуп; 10 – кран; 11 – термодатчик; 12 – гідромуфта вентилятора; 13 – піддон; 14, 16 – редукційні клапани; 15 – радіатор;

17, 18 – секції масляного насоса; 19 – диференціальний клапан; 20 – фільтр;

21 – головна магістраль; 22 – перепускний клапан

 

В процесі роботи двигуна через ущільнення між поршневими кільцями і дзеркалом циліндрів із камер згоряння в картер двигуна проникає повітря, продукти згоряння і пари палива. Для запобігання підвищення тиску в картері ДВЗ і відводу газів і парів палива на двигунах застосовують спеціальні системи вентиляції.

Система вентиляції картера забезпечує підтримання в заданих межах тиск газів, що прорвалися в картер через компресійні поршневі кільця, шляхом їх відсмоктування в зону впускного тракту двигуна, яка знаходиться під розрідженням. Ця зона знаходиться в трубопроводі після повітроочисника.

При роботі двигуна температура полум'я в процесі горіння досягає 2000…2500°С. Середня температура газів на протязі робочого процесу становить 800…900°С. Але не вся теплота, яка виділяється при згорянні палива, перетворюється в корисну роботу. На корисну роботу карбюраторного двигуна витрачається 22…29% тепла, виділеного при згорянні палива, а дизеля – 29…42%. Значна частина теплоти (до 22…47%) іде на нагрівання деталей двигуна.

Надмірний нагрів деталей двигуна приводить до зменшення зазорів рухомих з'єднаннях, що може призвести до заклинювання рухомих деталей, погіршення мащення деталей і мастильних якостей оливи із-за пригорання, а також до порушення процесу сумішоутворення і згоряння (зниження наповнення циліндрів свіжим зарядом повітря, передчасне запалювання робочої суміші, детонації і інших недоліків).

Інтенсивне охолодження деталей також негативно впливає на економічність роботи двигуна і зносу його деталей. При цьому може утворюватися конденсат на стінках циліндрів, який стікає в піддон і попадає в масло, утворюючи мило. Понижений температурний режим двигуна визиває неповне згоряння палива і підвищене нагароутворення на деталях КШМ і ГРМ, що призводить до зменшення потужності двигуна і збільшення питомої витрати палива.

Найвигідніший тепловий режим роботи двигуна (найменший знос деталей і витрати палива) досягаються при температурі охолодної рідини 85…90°С.

Для забезпечення і підтримання в заданих розрахункових межах указаного температурного стану деталей двигуна, які нагріваються при згорянні палива і терті, застосовують штучне охолодження двигуна, тобто передачу тепла від нагрітих частин рідині (рідинне охолодження), або безпосередньо повітрю (повітряне охолодження).

Сукупність усіх пристроїв, що забезпечують необхідний температурний стан двигуна, називають системою охолодження.

В залежності від способу циркуляції охолодної рідини відрізняють дві системи рідинного охолодження: термосифонну і примусову.

В термосифонній системі охолодження циркуляція охолодної рідини проходить в результаті різниці густини холодної і гарячої рідини. Основна перевага цієї системи охолодження – простота будови, а недолік – порівняно повільна циркуляція рідини в ній, що приводить до усиленого випаровування рідини із системи і частого її доливання. Такою системою охолодження оснащені тільки пускові двигуни П-10У і П-350.

 

 

 

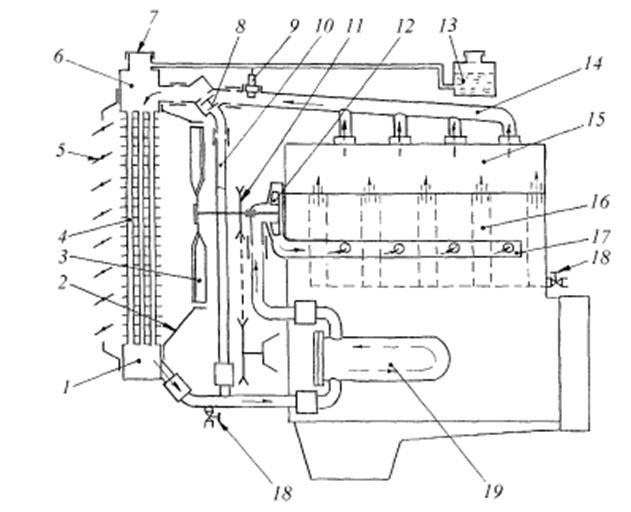
Рис.5.2. Схема системи рідинного охолодження ДВЗ:

1 – нижній бачок радіатора; 2 – кожух направляючий; 3 – вентилятор; 4 – серцевина радіатора; 5 – жалюзі; 6 – верхній бачок радіатора; 7 – кришка заливної горловини; 8 – термостат; 9 – датчик температури 10 – канал обвідний; 11 – шків; 12 – насос; 13 – бачок розширювальний; 14 – колектор збірний; 15 – рубашка охолодження головки блока; 16 - рубашка охолодження циліндрів; 17 - трубопровід розподільний; 18 – кран зливний;

19 - водомаслообмінник

 

Примусова система охолодження (рис.5.2) в якій циркуляція охолодної рідини здійснюється за допомогою відцентрового насоса. Різниця температур нагрітої і охолодженої рідини для системи з примусовою циркуляцією рідини не перевищує 10°.

Якщо система охолодження з примусовою циркуляцією рідини постійно сполучається з атмосферою через паровідвідну трубку, її називають відкритою, а якщо вона відділена від атмосфери спеціальним пароповітряним клапаном, її називають закритою. В закритій системі охолодження випаровування води менше, тому її застосовують на більшості двигунів.

 

 

 

Рис.5.3. Схема системи повітряного охолодження ДВЗ:

1 – забірна сітка; 2 – гідромуфта приводу вентилятора; 3 – апарат напрямний; 4 – шків; 5, 9 - трубопроводи; 6 – вентилятор; 7 – термодатчик; 8 – клапан;

10 – дефлектор; 11 – напрямний кожух; 12 – радіатор масляний

 

Система повітряного охолодження (рис. 5.3) – в цій системі тепло від деталей двигуна відводиться в результаті обдуву циліндрів і їх головок повітрям.

У двигунів невеликої потужності, що установлюються на мотоциклах, деталі охолоджуються потоком повітря при русі. Двигуни тракторів і автомобілів з повітряним охолодженням обладнані вентиляторами для примусового обдуву деталей. Щоб повітря рівномірно охолоджувало нагріті деталі, навколо циліндрів і їх головок установлені щитки (дефлектори). Ребра на гільзах збільшують поверхню охолодження циліндрів і їх головок.

Система повітряного охолодження в порівнянні з примусовою системою рідинного охолодження простіша в експлуатації. Маса і розміри двигуна з повітряним охолодженням значно менша ніж з рідинним.

До недоліків двигуна з повітряним охолодженням необхідно віднести підвищений шум при роботі і втрати потужності (до 8%) на привод вентилятора.


Поделиться с друзьями:

mylektsii.su - Мои Лекции - 2015-2026 год. (1.715 сек.)Все материалы представленные на сайте исключительно с целью ознакомления читателями и не преследуют коммерческих целей или нарушение авторских прав Пожаловаться на материал