Студопедия

Главная страница Случайная страница

КАТЕГОРИИ:

АвтомобилиАстрономияБиологияГеографияДом и садДругие языкиДругоеИнформатикаИсторияКультураЛитератураЛогикаМатематикаМедицинаМеталлургияМеханикаОбразованиеОхрана трудаПедагогикаПолитикаПравоПсихологияРелигияРиторикаСоциологияСпортСтроительствоТехнологияТуризмФизикаФилософияФинансыХимияЧерчениеЭкологияЭкономикаЭлектроника






Осадительная горизонтальная центрифуга.






Рис. 7.2.

Центрифуга ОГБ (осадительная горизонтальная с выгрузкой осадка через борт)

 

1 – корпус;

2 – барабан (сплошной);

3 – привод;

4 – труба, подающая суспензию;

5 – труба отсоса фугата.

Основные недостатки центрифуг периодического действия:

1) Трудоемкость удаления осадка из ротора центрифуги;

2) Сложность доступа к подшипникам как опор вала, так и подвесок, их частая поломка.

 

7.3. Определение производительности отстойных центрифуг периодического действия.

Полный объем барабана центрифуги VБ:

 

, (7.3)

 

где R – радиус барабана;

L – длина (высота барабана).

Внутренний радиус слоя материала в барабане при 50% загрузке:

 

, (7.4)

 

Объем материала в барабане VМ:

 

, (7.5)

 

Скорость осаждения материала в центрифуге пропорциональна радиусу вращения. Поэтому при расчете фактора ФР вместо переменного радиуса подставляют средний радиус.

Средний радиус осадка всех осадительных центрифуг rOC:

, (7.6)

 

Тогда

 

, (7.7)

 

Скорость осаждения в поле сил тяжести по закону Стокса равна:

 

, (7.8)

 

где dZ – заданный минимальный диаметр улавливаемых твердых частиц;

rТ, rЖ – плотности твердых частиц и жидкости;

m - динамическая вязкость жидкости.

В поле центробежных сил скорость осаждения wОС.Ц .:

 

, (7.9)

 

Время процесса осаждения tОС:

 

, (7.10)

 

Общая длительность всего цикла центрифугирования для осадительных центрифуг периодического действия tЦ:

 

, (7.11)

 

где tП, tТ, tР – время соответственно пуска, торможения и разгрузки центрифуги.

Производительность центрифуги QV:

 

, [ м3 ] (7.12)

 

где k – коэффициент заполнения барабана.

 

7.4. Определение мощности привода центрифуг периодического действия.

Мощность электродвигателя центрифуг периодического действия выбирают по пусковой мощности NП:

 

, (7.13)

 

1) N 1 – мощность, затрачиваемая на преодоление инерции массы барабана:

 

, (7.14)

 

где mБ – масса барабана, кг;

– окружная скорость, м/с;

tП – время пуска.

2) N 2 – мощность, затрачиваемая на продолжение инерции массы материала в барабане:

3)

, (7.15)

 

где 0, 75 – коэффициент, учитывающий скольжение материала о ротор барабан;

rС – плотность суспензии, кг/м3;

VБ / 2 – учитывается 50% загрузка объема барабана.

4) N 3 – мощность, затрачиваемая на трение в подшипниках и уплотнениях:

 

, (7.16)

 

где f =0.07¸ 0.1 – коэффициент трения;

uЦ – окружная скорость цапфы вала;

G – общая сила веса всех вращающихся частей с материалом.

5) N 4 – мощность, затрачиваемая на трение барабана о воздух (в кВт):

 

, (7.17)

 

n – число оборотов.

Мощность электродвигателя:

 

, (7.18)

 

h = 0.8¸ 0.9 – КПД

 

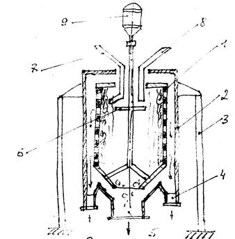
7.5. Конструкция и принцип работы саморазгружающейся центрифуги с коническим барабаном.

 

1 – ротор;

2 – кожух;

3 – опорная подвеска;

4 – патрубки для удаления фугата;

5 – патрубок для удаления осадка;

6 – диск, насаженный на вал;

7 – труба отвода фугата;

8 – труба подвода суспензии.

 

 

Рис. 7.3. Схема саморазгружающейся центрифуги с коническим барабаном

После заполнения барабана осадком ротор тормозится и сила тяжести становится больше центробежной силы при определенной скорости вращения. Осадок соскальзывает из ротора, после чего ротор не останавливаясь разгоняется, заполняется суспензией и т.д. При работе фильтрующих центрифуг суспензия подается при пониженной частоте вращения ротора. Затем частоту вращения доводят до максимальной, при которой осадок отжимают. Гравитационная выгрузка осадка встречается только у подвесных фильтрующих центрифуг с цилиндроконическими роторами. Гравитационная выгрузка может применятся только для сыпучих осадков.

Условие саморазгрузки – сумма сил, действующих на частицу, должна быть больше нуля.

Сила тяжести G=mg

Центробежная сила FЦ=mw2R

Сила трения FТР=f·FЦ

, (7.19)

 

 

, (7.20)

 

f – коэффициент трения;

R – радиус барабана.

 

На корпусной части ротора также уравнение (7.20) при R=r

 

 

Рекомендуется a = 60 °

7.6. Конструкция и принцип работы центрифуги с ножевой выгрузкой осадка.

Ножевая выгрузка осадка применяется у механизированных центрифуг периодического действия. Она производится с помощью ножа или скребка как при пониженной так и при полной скорости ротора. Этот способ применим, когда осадок не имеет высоких абразивных свойств и допустимо его измельчение. Ножевая выгрузка встречается на механизированных маятниковых и подвесных центрифугах, а также на горизонтальных центрифугах периодического действия.

Фильтрующие горизонтальные центрифуги применяются для разделения суспензий со средне и мелко зернистой (dZ > 30 мкм), преимущественно растворимой твердой фазой. Работа центрифуг наиболее эффективна при объемном содержании суспензии более 10%. В их конструкциях предусмотрена возможность хорошего отжима и эффективной промывки осадка.

Конструктивные модификации центрифуги с осадительным ротором предназначены для разделения малоконцентрированных плохо фильтрующихся суспензий с нерастворимой твердой фазой (dZ = 5¸ 40 мкм). Осадок в этих центрифугах не промывается.

Основное преимущество центрифуг типа ФГН состоит в возможности проведения всех стадий процесса в автоматическом режиме и при постоянной частоте вращения ротора.

К недостаткам относятся измельчение кристаллов при срезе осадка, большие трудности регенерации фильтрующей перегородки при обработке суспензии с нерастворимой твердой фазой.

 

1 – ротор;

2 - кожух;

3 – нож;

4 – гидроцилиндр для подвода ножа;

5 – разгрузочный бункер осадка;

6 – питающая труба;

7 – патрубок удаления фугата.

 

Рис. 7.4. Схема центрифуги типа ФГН

 


Поделиться с друзьями:

mylektsii.su - Мои Лекции - 2015-2026 год. (0.364 сек.)Все материалы представленные на сайте исключительно с целью ознакомления читателями и не преследуют коммерческих целей или нарушение авторских прав Пожаловаться на материал