Студопедия

Главная страница Случайная страница

КАТЕГОРИИ:

АвтомобилиАстрономияБиологияГеографияДом и садДругие языкиДругоеИнформатикаИсторияКультураЛитератураЛогикаМатематикаМедицинаМеталлургияМеханикаОбразованиеОхрана трудаПедагогикаПолитикаПравоПсихологияРелигияРиторикаСоциологияСпортСтроительствоТехнологияТуризмФизикаФилософияФинансыХимияЧерчениеЭкологияЭкономикаЭлектроника






Автоматизация котлов-утилизаторов






Электромеханические средства автоматизации котлов-утилизаторов работают также по принципу «включено – выключено».

При минимальной температуре воды (минимальном давлении пара) они устанавливают заслонку в положение, при котором котел сообщается с выпускным коллектором дизеля, а при максимальной температуре (давлении) отключают котел от выпускного коллектора.

Электродвигатель электромеханических систем управления приводит во вращение через редуктор специальный вал с винтовой нарезкой. В паре с валом действует ходовая гайка, застопоренная от вращения.

При включении электродвигателя она перемещается вдоль винтовой нарезки вала и через рычаг открывает или закрывает газовую заслонку.

В крайних положениях конечные выключатели разрывают цепь управления электродвигателя.

Реле минимальной температуры (давления) включает электродвигатель в сторону открытия газовой заслонки, а реле максимальной температуры (давления), наоборот, в сторону закрытия ее.

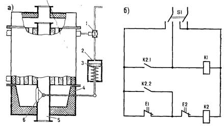
Электрическая и функциональная схема электропневматического управления работой водогрейного котла-утилизатора приведены на рис. 49.

Рисунок 49 – Система управления котла-утилизатора КАУ–4, 5  

При установке переключателя S1 (рис. 49, б) в положение «Автоматическая работа» через контакты El, Е2 комбинированного реле температуры КРМ получает питание промежуточное реле К2, контакты К2.1 и К2.2 которого в цепи управления замыкаются и ток поступает на катушку К1 электромагнитного клапана 1 (рис. 49, а). Последний открывается и пропускает сжатый воздух под давлением 0, 4÷ 0, 6 МПа к пневмоцилиндру 2, поршень 3 которого через систему рычагов устанавливает газовую заслонку в положение, когда выпускные газы от дизеля направляются в котел 4.

В котле поддерживается температура воды 75÷ 90 °С. При 75 °С комбинированное реле КРМ включает котел, а при повышении температуры воды до 90 °С размыкает цепь электромагнитного клапана. Подача воздуха к пневмоцилиндру 2 прекращается, и поршень 3 под действием пружины переставляет заслонку 6 в положение, при котором выпускные газы направляются в трубопровод 5, минуя котел.

 

 


Список используемой литературы

1. Леонтьевский Е.С. Справочник механика и моториста теплохода. [Текст]/ Е.С. Леонтьевский – М.: Транспорт, 1971. – 310с.

2. Сизых В.А. Судовая автоматика и аппаратура контроля [Текст]: – М. Транспорт, 1986. – 280с.

3. Сизых В.А. Судовая автоматика и контрольно-измерительные приборы [Текст]: – М. Транспорт, 1979. – 232с.

 

 


Поделиться с друзьями:

mylektsii.su - Мои Лекции - 2015-2026 год. (0.784 сек.)Все материалы представленные на сайте исключительно с целью ознакомления читателями и не преследуют коммерческих целей или нарушение авторских прав Пожаловаться на материал