Студопедия

Главная страница Случайная страница

КАТЕГОРИИ:

АвтомобилиАстрономияБиологияГеографияДом и садДругие языкиДругоеИнформатикаИсторияКультураЛитератураЛогикаМатематикаМедицинаМеталлургияМеханикаОбразованиеОхрана трудаПедагогикаПолитикаПравоПсихологияРелигияРиторикаСоциологияСпортСтроительствоТехнологияТуризмФизикаФилософияФинансыХимияЧерчениеЭкологияЭкономикаЭлектроника






Ведомость подсчета объемов работ






Таблица № 3.1

Наименование Схемы и формулы подсчета Ед. изм. Кол-во
1. Строительный объем здания   м3 4082, 4
2. Срезка растительного слоя грунта Fср = (a + 20)*(b + 20) = (42, 28+20)*(12+20)   м2  
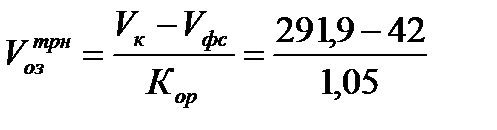
3. Объем фундамента для определение обратной засыпки пазух Vфс=Vф*n= 2*21   м3 37, 98
4.Обратная засыпка пазух фундаментов м3 194, 23
5. Разработка грунта с погрузкой в транспортное средство = Vк –Vоз = 291, 9–238   м3 47, 69
6. Доработка грунта вручную на 0, 1м. Vрд = Акк *0, 1*n Vрд = 2, 2*2, 2*0, 1*21 м3 16, 2
7. Разработка грунта под фундаментные балки. V= 0, 4*0, 4*Lфб*n V1 = 0, 4*0, 4*5, 05*15 V2 = 0, 4*0, 4*2, 05*5 м3 23, 736  
8. Уплотнение грунта в пазухах фундамента при засыпке. м2 971, 15
9. Вертикальная гидроизоля-ция по ленточным фундаментам Fвг = Lфвг Fвг = (4*0, 9*1, 2)*21   м2 77, 76
10. Горизонтальная гидроизоляция Fггл = Lфл*Bв Fггл =0, 61*21 м2 10, 98
11. Горизонтальная гидроизоляция по фундаментным балкам Fггб = Lфбфб*n Fггб = 86*0, 3 м2 25, 755
12. Площадь уплотнения грунта под полы Fпу = (а–2п1)(в–2п2)–Lвсвс–Акк*n Fпу = (30–2*0)*(18–2*0)–2, 92–300*300*21 м2 507, 7
13. Объем подсыпки грунта под полы Vпп = Fпуп Vпп = 520*0, 1 м3 50, 77
14. Устройство бетонной подготовки под полы Vбп = Fпубп Vбп =535, 19*0, 08+65, 7*0, 04 м3 2, 23
15. Длина горизонтальных швов между панелями Lгш = Lсп*n   м 356, 8
16. Длина вертикальных швов между панелями Lвш = Нсп*n   м  

 

            ДП 2 70 02 01.04 16266 ПЗ
           
Должность Фамилия Роспись Дата
        Пункт технического обслуживания и ремонта машин Стадия Лист Листов
Разработал Е.Ю.Былинский     У    
Консультант М.В.Романова     БГСПТК
Руководитель Е.А.Дартевич    
Н. контр. Л.К.Макарченко.    

 

    Продолжение таблицы № 3.1
       
17. Устройство перегородок Fпер = Lпер*Hпер–Fпр Fпер1 = 15, 6*4, 2–3, 3 Fпер2 = 49, 3*3-10, 77 м2 712, 32
18. Устройство вентшахт Fвш = Авшвш*n Fвш = 1, 7*1, 2*2 м2 -
19. Устройство кровли Fк = Lк*Bс Fк = 19, 8*30 м2  
20. Площадь покрытия парапетов рулонными материалами Fп = Lпп Fп = (18, 6*0, 4)*2 м2  
21. Устройство бетонных полов По экспликации полов м2 422, 7
22. Устройство плиточных полов По экспликации полов м2 15, 2
23. Объем работ по окраске фасада здания Fфо = П*Нст Fфо = (18, 6*9, 6+8, 5*30)*2 м2 -
24. Устройство отмостки Fот = Вот*(П–Lк) Fот = 0, 8*(98, 4–1, 4) м2 76, 8
25. Площадь крылец Fк = Lк*Bк = 2, 1*1 м2  

 

Подсчет объема котлована

Таблица № 3.2

Длина по низу Ак, м Ширина по низу Вк, м Глубина, Нк, м Показатель крутизны откоса, m Длина по верху Ск, м Ширина по верху Dк, м     Схемы и формулы подсчета Объем котлована, м3 Количество котлованов, n Общий объем, м3
                   
29, 2   13, 2 1, 3 0, 25 22, 85 13, 85   402, 18    
49, 2 25, 2 1, 3   49, 85 25, 85   1556, 38    
Итого: 1958, 56

 

Изм. Лист № докум. Подп. Дата ДП 2 70 02 01.04.16266 ПЗ Лист
           
         

 

Подсчет объёмов сборных железобетонных конструкций.

Наименование Марка элемента Размеры, мм Объём элемен-тов, м3 Кол-во Общий объём м3 Масса элемен-тов, кг Эскиз
Дли-на Ши-рина Вы-сота
                   
Столбчатый фундамент Ф-1 ФА 2-1              
  Фундаментные балки ФБ-1 ФБ 6-46   300/ 200   0, 378   11, 72  
  Колонны К-1 К 72-13       0, 729   31, 35  
Стропильные балки БС-1 1БДР 18-1К7Т     1380/890 4, 52   72, 32  
Плиты перекрытия и покрытия   П-3 2ПФ6-2Ат-У1Л-1       0, 67   16, 08    
П-3 2ПФ6-2Ат-У1Л-1       0, 67   6, 08  
  Стеновые панели ПС-1 ПС600.9.30-II-I       1, 58          
ПС-2 ПС600.18.30-II-I       3, 29      
ПС-3 ПС600.12.30-II-I       2, 12      
ПС-4 ПС145.12.30-II       0, 51      
ПС-6 ПС55.12.30-II       0, 19      
ПС-9 ПС295.12.30-II-I       1, 04      
ПС-10 ПС145.18.30-II-А       0, 77      
                           

Таблица № 3.3

Изм. Лист № докум. Подп. Дата ДП 2 70 02 01.04.16266 ПЗ Лист
           
         
  Продолжение таблицы № 3.3
                   
Перемычки ПР-1 1ПР1-12.12.14       0, 022   1, 52  
Парапетные плиты ПП-1 АП-24.4     160/ 50 0, 12   7, 08    
ПП-2 АП-33.4     160/ 50 0, 19   1, 9  
    ПП-2 АП-33.4     160/ 50 0, 19   1, 9      
Карнизная плита   КП-1 АП-33.4         0, 19     2, 1        
                       

 

Подсчет площадей столярных изделий

Таблица № 3.4

Наименование изделия Марка изделия Размеры, мм Пло-щадь изделия Коли-чество Общая пло-щадь м2 Перевод-ной коэф. к окраске Площадь окраски  
Ширина Высота  
                   
Окна ОК-1 ОС 9.18     9, 12   63, 84 Заводская готовность  
ОК-2 ОС 24.18     4, 13   20, 65  
Всего окна:   84, 49  
Двери ДНДГ10.24Ф А     2, 42   16, 94  
ДВДГ9.24.Ф Г     2, 18   47, 96  
Всего двери:   64, 9  
Ворота ВР-1 ВМГ 48.30            
Всего ворота:      
     
                     

 

Изм. Лист № докум. Подп. Дата ДП 2 70 02 01.04.16266 ПЗ Лист
           
         

 

Подсчет объемов отделочных работ

Таблица № 3.5

Наименование Длина по периметру, м Высота, м Площадь, м2
Брутто с проемами Проемов Нетто без проемов Штукатурки Обработки стеновых панелей Облицовки Масляной окраски Акриловой окраски
                     
  16.1 4, 2 67, 62 6, 314 61, 3 61, 3       -
    4, 2 79, 8 8, 5 71, 3 71, 3       -
  15, 1 4, 2 63, 42 6, 314 57, 1 57, 1       -
  16, 1 4, 2 67, 62 6, 314 61, 3 61, 3       -
  33, 7 4, 2 141, 54 4, 568 136, 97 136, 97       -
    4, 2 218, 4 18, 12 200, 28 200, 28       -
  8, 2 4, 2 34, 44 - 34, 44 34, 44       -
  17, 2 4, 2 72, 24 2, 184 70, 06 70, 06       -
    4, 2 197, 4   188, 4 188, 4       -
    4, 2 126, 42 13, 49 112, 93 112, 93       -
  98, 3 4, 2 412, 86 26, 73 386, 13 386, 13       -
  20, 1 4, 2 84, 42 4, 60 79, 81 79, 81       -
  17, 4 4, 2 73, 08 4, 60 68, 48 68, 48       -
    4, 2 46, 2 2, 42 43, 78 43, 78       -
    4, 2 29, 4 2, 42 26, 98 26, 98       -
  8, 1 4, 2 34, 02 2, 42 31, 6 31, 6       -
    4, 2 37, 8 2, 184 35, 6 35, 6       -
    4, 2 75, 6 2, 184 73, 4 73, 4   146, 4   -
  14, 8 4, 2 62, 16 2, 184 59, 97 59, 97       -
  1, 7 4, 2 7, 14 2, 184 4, 95 4, 95       -
    4, 2   11, 3 72, 7 72, 7       -
  3, 4 4, 2 14, 28 2, 184 12, 09 12, 09       -
  5, 2 4, 2 21, 84 4, 36 17, 48 17, 48       -
  5, 1 4, 2 21, 42 2, 184 19, 23 19, 23       -
  10, 6 4, 2 44, 52 2, 184 42, 33 42, 33       -
  13, 6 4, 2 57, 12 11, 3 45, 82 45, 82   91, 64   -
  1, 7 4, 2 7, 14 2, 184 4, 95 4, 95       -
  3, 4 4, 2 14, 28 2, 184 12, 09 12, 09       -
          1978, 1     238, 04   -

 

Изм. Лист № докум. Подп. Дата ДП 2 70 02 01.04.16266 ПЗ Лист
           
         
  3.2 Выбор монтажных механизмов   Таблица монтажных элементов Таблица № 3.6
Наименование элемента Марка Размеры в мм. Масса, т. Приме-чание.
длина ширина высота
  Фундаментная балка ФБ 6-46   300/200   0, 9 -
  Стропильная балка 1БДР 18-1К7Т     1640/890 8, 4 -
  Стеновая панель ПС630.18.30-II-21       4, 9 -

 

 

 

Рис. 1. Схема монтажа фундаментных балок

 

Расчет параметров крана. Таблица № 3.7

Наименование элемента. Расчётные параметры конструкций и кранов. Требуемые параметры кранов.
qэ, т qт, т h0, м hз, м hc, м hэ, м hn, м d, м Q, т Нкр, м Нст, м lст, м Lст, м
  Фундаментная балка 0, 9 0, 386 0, 45 2, 0 3, 5 0, 3 2, 0 2, 5 1, 29 6, 25 8, 25 4, 23 7, 28
  Стропильная балка 8, 4 0, 62 7, 0 2, 0 3, 6 1, 64 2, 0 9, 0 9, 02 14, 44 16, 44 10, 0 16, 44
  Стеновая панель 4, 9 0, 53 7, 2 2, 0 2, 5 1, 8 2, 0 3, 0 5, 43 13, 5 15, 5 7, 2 15, 09

 

Изм. Лист № докум. Подп. Дата ДП 2 70 02 01.04.16266 ПЗ Лист
           
         
  Рис. 2. Схема монтажа стропильных балок   Рис. 3. Схема монтажа стеновых панелей  
Изм. Лист № докум. Подп. Дата ДП 2 70 02 01.04.16266 ПЗ Лист
           
         
  Грузовая характеристика крана МКП-16 Lст = 15 м

 

По определенным требуемым параметрам кранов по справочному пособию «Строительные краны» подбираем для монтажа фундаментных балок 2 крана КС-4361 и МКП-16, для монтажа стропильных балок кран МКП-20 и КС-5361, для монтажа стеновых панелей кран МКП-16, КС-5361.

Для окончательного выбора монтажных кранов выполняем их сравнение по технико-экономическим показателям.

 

 

Технико–экономические показатели кранов (стреловых).

Таблица № 3.8

Показатель Ед. изм. Сравниваемые краны для
Фундаментная балка Стропильная балка Стеновая панель
КС-4361 МКП-16 МКП-20 КС-5361 МКП-16 КС-5361
  Длина стрелы м            
  Вылет стрелы м 6, 5-18, 0 5, 0-16, 0 4, 7-15, 7 5, 5-18, 0 5, 0-15, 5 5, 5-18, 0
  Грузоподъемность т 5, 5-1, 30 9, 0-1, 6 15, 0-1, 8 17, 0-1, 85 11, 5-2, 0 17, 0-1, 85
  Высота подъема крюка м 18, 3-9, 8 18, 0-13, 0 22, 0-17, 0 18, 0-10, 2 15, 0-10, 0 18, 0-10, 2
  Масса крана т 24, 3 24, 0 33, 0 31, 9 24, 0 31, 9
  Мощность мотора кВт 55, 2 55, 2 73, 6 88, 3 55, 2 88, 3
  Себестоимость маш.-см руб. 32, 2 34, 4 36, 5 42, 3 35, 3 42, 3

 

Исходя из требуемых параметров и для удешевления СМР по справочному пособию «Строительные краны» принимаем краны: для монтажа фундаментных балок – КС-4361 с длиной стрелы 20 м; для монтажа стропильных балок КС-4361 с длиной стрелы 20 м; для стеновых панелей МКП-16 с длиной стрелы 15 м.

  Грузовая характеристика крана МКП-20 Lст = 20 м  

 

 


 

 

Изм. Лист № докум. Подп. Дата ДП 2 70 02 01.04.16266 ПЗ Лист
           
         
3.3 Технологическая карта 3.3.1. Область применения   1. Технологическая карта разработана на устройство кровельного покрытия из рулонного кровельного материала Биполикрин. Биполикрин представляет собой рулонный материал, состоящий из стекловолокнистой или полиэфирной основы, покрытой с двух сторон слоем битумно-полимерного вяжущего, состоящего из битума, модифицированного полимерами и наполнителями. 2. Биполикрин выпускается следующих марок в зависимости от области применения: Биполикрин -К - для устройства верхнего слоя кровельного ковра, а также его модификация Биполикрин «КХ» на основе стеклохолста; Биполикрин -Н - для устройства нижнего слоя кровельного ковра (и оклеенной гидроизоляции), а также его модификация Биполикрин «НХ»; Биполикрин -супер - для устройства однослойного кровельного ковра. 3. В состав работ, рассматриваемых картой, входят наклейка двух- и трехслойного (из материалов Биполикрин -К и Биполикрин -Н) или однослойного кровельного ковра из материала Филизол-супер, а также устройство кровли с применением Биполикрин «КХ» и «НХ». 4. Биполикрин относится к категории наплавляемых рулонных материалов, что позволяет применять его для устройства кровель без приклеивающих мастик в летнее и зимнее время по жестким основаниям (железобетонные плиты, цементно-песчаные и асфальтовые стяжки), огрунтованным битумом БН 70/30, разжиженным керосином или уайт-спиритом в соотношении 1: 3.   3.3.2. Организация и технология строительного производства Подсчет объемов работ: Таблица № 3.9
Наименование работ Схемы и формулы подсчета Ед.изм. Коли- чество
1. Площадь кровли Fк = L к х Вк м2 6, 48
2. Устройство гидроизоляции Fги = (L к +1) х (Вк + 1) м2 6, 48
3. Площадь пароизоляции прокладочной в один слой из полиэтиленовой пленки Fпи = Fк х Нрп м2 6, 48
4. Площадь стяжки Fст = Fк м2 6, 48
5. Площадь рулонного ковра Fрк = (L к +0.2) х (Вк + 0.2) м2 6, 48
6. Устройство теплоизоляции Vут = Fк х Нрут х В ут м3 6, 48
7. Количество раствора на устройство стяжки Vрс = Fст х Нрр м3  
8. Длина примыканий кровли к парапету L пер.к. - по рабочим чертежам   м  
         

 

Изм. Лист № докум. Подп. Дата ДП 2 70 02 01.04.16266 ПЗ Лист
           
         
  1. До начала устройства кровли должны быть выполнены и приняты: все строительно-монтажные работы на изолируемых участках, включая замоноличивание швов между сборными железобетонными плитами, установку и закрепление к несущим плитам или к стальным профилированным настилам водосточных воронок, компенсаторов деформационных швов, патрубков (или стаканов) для пропуска инженерного оборудования, анкерных болтов, антисептированных деревянных брусков (или реек) для закрепления изоляционных слоев и защитных фартуков; слои паро- и теплоизоляции, стяжки и затем проведена контрольная проверка уклонов и ровности основания под кровлю на всех поверхностях, включая карнизные участки кровель и места примыканий к выступающим над кровлей конструктивным элементам. Проверочные работы должны включать: соблюдение проектных уклонов от водораздела и других высших отметок ската кровли до самых низших - водосточных воронок; для этого сначала следует устанавливать нивелир и с помощью рейки определить их отметки. Уклоны определяются отношением превышения отметок к расстоянию между замеряемыми точками. Если окажется, что уклон основания меньше проектного, необходимо исправить стяжку, доведя все отметки до проектных значений; натянуть шнур между всеми высокими точками или на водоразделе и низкой точкой возле воронкис целью проверки соблюдения уклона по всей поверхности основания на скате и исправить места, где будут обнаружены контруклоны (обратные уклоны); проверить ровности всей поверхности основания. Для этого приложить к поверхности стяжки вдоль и поперек ската трехметровую рейку; просвет между поверхностью основания и рейкой не должен превышать 10 мм. Если все требования проекта к качеству основания соблюдены, можно поверхность стяжки огрунтовать.  
Изм. Лист № докум. Подп. Дата ДП 2 70 02 01.04 16266 ПЗ Лист
           
         

 


 

    2. При устройстве кровель с применением наплавляемых рулонных материалов должны выполняться требования норм по технике безопасности в строительстве, действующих правил по охране труда и противопожарной безопасности. 3. Для устройства кровельного ковра применяют следующие материалы: наплавляемые рулонные материалы Биполикрин (ТУ 5770-008-05108038-97). Показатели физико-механических свойств материалов Биполикрин; герметизирующие мастики «Эластосил», УТ-32 и другие, удовлетворяющие требованиям ГОСТ 25621-83 для герметизации мест примыкания кровельного водоизоляционного ковра. На эксплуатируемых кровлях (крышах-террасах) в качестве разделительного слоя рекомендуется применять холст из синтетических волокон по ТУ 6-19-290-83. Для компенсаторов деформационных швов, элементов наружных водостоков и отделки свесов карнизов применяют материалы в соответствии с требованиями СНиП II-26-76 или серии 1.010-1. 4. Работа по устройству кровли из Филизола в соответствии со схемой организации рабочего места должна быть включена в монтажный цикл с тем, чтобы использовать башенный кран для подъема рулонных материалов, а в случае отсутствия следует использовать крышевой кран. 5. Работа по устройству кровли должна быть организована таким образом, чтобы до минимума сократить непроизводительные перестановки механизмов и переходы рабочих, а также перемещение и переноску Биполикрин. 6. Для обеспечения качества кровли, ровности основания: перед выполнением теплоизоляции производят нивелировку поверхности несущих плит для установки маяков, служащих основанием под рейки для укладки монолитной теплоизоляции полосами на необходимую высоту. 7. Теплоизоляционные работы совмещают с работами по устройству пароизоляционного слоя (если он требуется по проекту), выполняя их «на себя». Это повышает сохранность теплоизоляции при транспортировании материалов. 8. Теплоизоляционные плиты должны плотно прилегать друг к другу. Если ширина швов между плитами превышает 5 мм, то их заполняют теплоизоляционным материалом.   1- каток; 2 - ручная горелка; 3 - бачок с дизтопливом; 4 - компрессор; 5 - ручная тележка; 6 - контейнер; 7 - кран крышевой; 8 - трап; 9 - ящик с песком и огнетушители; 10 - водосточные воронки; Рис. 1а Схема организации рабочего места при работе с горелками, работающими на жидком топливе  
Изм. Лист № докум. Подп. Дата ДП 2 70 02 01.04 16266 ПЗ Лист
           
         

 

  9. Замоченная во время монтажа теплоизоляция должна быть удалена и заменена сухой. 10. В период организации выполнения работы особое условие состоит в том, что теплоизоляционные работы необходимо проводить в сухую погоду, чтобы не допустить замокания теплоизоляционного материала. Качество теплоизоляции должно быть отмечено в актах на скрытые работы. Перед устройством изоляционных слоев основание должно быть сухим, обеспыленным, на нем не допускаются уступы, борозды и другие неровности. Требования к ровности основания приведены в Таблице 2. В новом покрытии или при его реконструкции (при капитальном ремонте с заменой теплоизоляции) кровельный ковер выполняют из двух слоев наплавляемого рулонного материала, причем для верхнего слоя применяют материалы с крупнозернистой посыпкой (Биполикрин -К). На эксплуатируемых покрытиях (крышах-террасах) кровельный ковер выполняют из двух слоев наплавляемого рулонного материала, имеющих мелкозернистую (тальковую) посыпку либо полиэтиленовую пленку (Биполикрин -Н), либо производится укладка бетонных плит по всему покрытию или в виде дорожек по песчаному основанию. 11. Основанием под кровлю могут служить: ровные поверхности железобетонных несущих плит либо теплоизоляции без устройства по ним выравнивающих стяжек (затирок); выравнивающая стяжка из цементно-песчаного раствора или асфальтобетона, которую назначают в соответствии с требованиями. 12. В местах примыкания кровель к стенам, шахтам и другим конструктивным элементам должны быть предусмотрены переходные наклонные бортики (под углом 45°), высотой не менее 100 мм из легкого бетона или цементно-песчаного раствора. Стены из кирпича или блоков в этих местах должны быть оштукатурены цементно-песчаным раствором марки 50. 13. В стяжках выполняют температурно-усадочные швы шириной 5 мм, разделяющие стяжку из цементно-песчаного раствора на участки не более 6× 6 м, а из песчаного асфальтобетона - не более 4× 4 м. Швы должны располагаться над швами несущих плит (в холодных покрытиях) и над температурно-усадочными швами в монолитной теплоизоляции и заполняться герметиком (Таблица 3). По ним укладывают полоски шириной 150-200 мм из Биполикрин с крупнозернистой посыпкой и приклеивают их точечно с одной стороны шва. 14. При устройстве выравнивающей стяжки из цементно-песчаного раствора, укладку последнего производят полосами шириной не более 3 м ограниченными рейками, которые служат маяками. Раствор подают к месту укладки по трубопроводам при помощи растворонасосов или в емкостях на колесном ходу.
Изм. Лист № докум. Подп. Дата ДП 2 70 02 01.04.16266 ПЗ Лист
           
         
  Разравнивают цементно-песчаную смесь правилом, это может быть металлический уголок, передвигаемый по рейкам. Грунтовку наносят при помощи окрасочного распылителя либо кистями (при малых объемах работ) 15. При устройстве выравнивающей стяжки из литого асфальта его укладывают полосами шириной до 2 м (ограниченными двумя рейками или одной рейкой и полосой ранее уложенного асфальта) и уплотняют валиком или катком массой 60-80 кг. 16. Приклейка Биполикрин осуществляется путем разогрева наплавляемого слоя горелками, которые работают на сжиженном газе пропан-бутане или жидком топливе 17. Устройство кровельного ковра в пределах рабочих захваток начинают с пониженных участков: карнизных свесов, участков расположения водосточных воронок и ендов. 18. При наклейке изоляционных слоев следует предусматривать нахлестку смежных полотнищ на 100 мм. 19. Технологические приемы наклейки наплавляемого рулонного материала могут быть различными. Работу можно выполняют в следующей последовательности. На подготовленное основание раскатывают 5-7 рулонов, примеряют один рулон по отношению к другому и обеспечивают необходимую нахлестку. Затем приклеивают концы всех рулонов с одной стороны и полотнища рулонного материала обратно скатывают в рулоны (при значительном охлаждении полотнищ в зимний период эти операции производят при легком подогреве ручной горелкой наружной поверхности рулона). Рулоны, раскатывая, приклеивают к основанию при помощи ручной газовой или жидкостной. Кроме того, для наклейки рулона возможно применение захват-раскатчика, имеющего Г-образную форму с размерами плеч по 1000 мм, изготовленного из металлической трубки диаметром не более 15 мм. Для этого кровельщик зажигает горелку и оплавляет скатанный рулон маятниковыми движениями горелки вдоль рулона, держа стакан горелки на расстоянии 10-20 см от рулона. После образования валика стекшего наплавленного слоя (с нижней стороны рулона) кровельщик захватом-раскатчиком цепляет и, отступая назад, раскатывает и приклеивает рулон. Прикатка рулона в местах нахлесток осуществляется катком ИР-735 (Рис. 8). 20. Следует особо внимательно следить за синхронностью расплавления слоя мастики и раскатыванием рулона. Скорость движения определяется временем, необходимым для начала расплавления мастичного слоя приклеиваемого рулона, что оценивается визуально по началу образования валика расплавленной мастики.     1 - стяжка; 2 - шов; 3 - грунтовка по стяжке; 4 - полоса Биполикрин В; 5 - герметик; 6 - точечная приклейка полосы (с одной стороны шва); 7 - Биполикрин Н; 8 - Биполикрин В
Изм. Лист № докум. Подп. Дата ДП 2 70 02 01.0416266 ПЗ Лист
           
         

 


 

  Инструменты и оборудование 1 - ствол с рукояткой; 2 - регулировочный вентиль; 3 - штуцер; 4 - накидная гайка; 5 - ниппель; 6 - инжектор (сопло); 7 - стакан.     1 - головка горелки; 2 - вентиль подачи воздуха; 3 - вентиль подачи горючего; 4 - державка; 5 - штуцер воздуха М 16× 1, 5; 6 - штуцер горючего М 16× 1, 51 Н     Наклейка рулона
с использованием дифференциального катка ИР-830 с использованием захвата-раскатчика и катка ИР-735



 

 

Наклейка рулона без применения катка

 


Примыкание кровли к парапету высотой до 450 мм

Изм. Лист № докум. Подп. Дата ДП 2 70 02 01.04.16266 ПЗ Лист
           
         

 

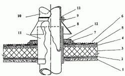
  Раскладка и раскрой полотнищ наплавляемого рулонного материала при устройстве дополнительного кровельного ковра на поверхности внутреннего угла Мягкая кровля А, Б, - для основного кровельного ковра; В, Г - для дополнительного кровельного ковра 1 - стена вентшахты; 2 - нижний слой основного кровельного ковра; 3 - верхний слой (с крупнозернистой посыпкой) основного ковра; 4 - наклонный бортик; 5 - основной кровельный ковер; 6 - нижний слой дополнительного ковра; 7 - верхний слой (с крупнозернистой посыпкой) дополнительного ковра Рис. 14 Раскладка и раскрой полотнищ наплавляемого рулонного материала при устройстве кровельного ковра на поверхности внешнего угла 1 - сборная железобетонная плита покрытия; 2 - пароизоляция; 3 - теплоизоляция; 4 - выравнивающая стяжка; 5 - основной кровельный ковер; б - крупнозернистая посыпка; 7 - рамка из уголка; 8 - зонт; 9 - хомут; 10 - труба; 11 - патрубок с фланцем; 12 - герметизирующая мастика Примыкание кровли к трубе 1 - сборная железобетонная плита покрытия; 2 - пароизоляция (по расчету); 3 - теплоизоляция; 4 - выравнивающая стяжка; 5 - основной кровельный ковер; 6 - крупнозернистая посыпка верхнего слоя наплавляемого рулонного материала; 7 - рамка из уголка; 8 - герметизирующая мастика; 9 - анкер Пропуск анкера через кровельный ковер    
Изм. Лист № докум. Подп. Дата ДП 2 70 02 01.04.16266 ПЗ Лист
           
         

 

  21. Работу по устройству кровли из Биполикрин выполняет бригада кровельщиков, состоящая из 2-х или 3-х человек: один кровельщик работает с горелкой для расплавления наплавленного слоя, регулирует быстроту движения и контролирует качество работы; второй кровельщик подносит рулоны Биполикрин в рабочей зоне, раскатывает каждый рулон на 2 м на участке приклейке с целью уточнения направления и нахлестки, затем скатывает полотно снова в рулон; третий кровельщик выполняет работу по раскатыванию рулонов Биполикрин и уплотнению нахлесток, например, катком ИР-735. Разогревая покровный (приклеивающийся) слой наплавляемого материала с одновременным подогревом основания или поверхности ранее наклеенного изоляционного слоя, рулон раскатывают, плотно прижимая к основанию. Работы можно выполнять с применением дифференциального катка ИР-830 22. При наклейке рулонного материала звеном из 2-х человек рабочий с горелкой размещается, как показано на Рис. 8. 23. У мест примыкания к стенам, парапетам и т.п. кровельные рулонные материалы наклеивают полотнищами длиной до 2 м. Наклейку полотнищ из наплавляемых рулонных материалов на вертикальные поверхности производят снизу вверх при помощи ручной горелки. 24. В местах примыкания кровли к парапетам высотой до 450 мм слои дополнительного ковра заводят на верхнюю грань парапета, затем примыкание обделывают оцинкованной кровельной сталью, которую закрепляют при помощи костылей. При пониженном расположении парапетных стеновых панелей (при высоте парапета не более 200 мм) наклонный переходной бортик устраивают из бетона до верха панелей. При устройстве кровли с повышенным расположением верхней части парапетных панелей (более 450 мм) защитный фартук с кровельным ковром закрепляют пристрелкой дюбелями, а отделку верхней части парапета выполняют из кровельной стали, закрепляемой костылями или из парапетных плиток, швы между которыми герметизируют. 25. Конек кровли (при уклоне 3 % и более) усиливают на ширину 150...250 мм с каждой стороны (Рис. 11), а ендову - на ширину 500...700 мм (от линии перегиба) одним слоем рулонного материала, приклеиваемого к основанию под кровельный ковер по продольным кромкам 26. Раскладка и раскрой полотнищ наплавляемого рулонного материала при устройстве основного и дополнительного кровельного ковра в углу парапета и на поверхности внешнего угла приведены на 27. Места пропуска через кровлю труб выполняют с применением стальных патрубков с фланцем (или железобетонных стаканов) и герметизацией кровли в этом месте Места пропуска анкеров также усиливают герметизирующей мастикой. Для этого устанавливают рамку из уголков (которая ограничивает растекание мастики), а пространство между рамкой и патрубком или анкером заполняют мастикой 28. В деформационном шве с металлическим компенсатором перед устройством кровельного ковра на компенсатор наклеивают сжимаемый утеплитель из минеральной ваты и на него укладывают выкружку из оцинкованной кровельной стали, кромки которой опираются на бетонные бортики, затем на выкружку насухо укладывают стеклоткань и Биполикрин (Рис. 17). 30. В местах пропуска через покрытие воронки внутреннего водостока слои кровельного ковра должны заходить на водоприемную чашу, которую крепят к плитам покрытия хомутом с уплотнителем из резины
Изм. Лист № докум. Подп. Дата ДП 2 70 02 01.04.16266 ПЗ Лист
           
         

 

    3.3.3. Требования к качеству и приемке работ   1. В процессе подготовки и выполнения кровельных работ проверяют: качество Биполикрин, которое должно соответствовать требованиям ТУ; готовность отдельных конструктивных элементов покрытия для выполнения кровельных работ; правильность выполнения всех примыканий к выступающим конструкциям; соответствие числа слоев кровельного ковра указаниям проекта. 2. Приемка кровли должна сопровождаться тщательным осмотром ее поверхности, особенно у воронок, водоотводящих лотков, в разжелобках и в местах примыканий к выступающим конструкциям над крышей. 3. Выполненная рулонная кровля должна удовлетворять следующим требованиям: иметь заданные уклоны; не иметь местных обратных уклонов, где может задерживаться вода; кровельный ковер должен быть надежно приклеен к основанию, не расслаиваться и не иметь пузырей, впадин. 4. Обнаруженные при осмотре кровли производственные дефекты должны быть исправлены до сдачи зданий или сооружений в эксплуатацию. 5. Приемка готовой кровли должна быть оформлена актом с оценкой качества работ. 6. При приемке выполненных работ подлежит освидетельствованию актами скрытых работ: примыкания кровли к водоприемным воронкам; примыкание кровли к выступающим частям вентшахт, антенн, растяжек, стоек, парапетов; устройство послойно двух слоев кровельного ковра. 7. Требования к качеству кровель и предметы контроля приведены в Таблице. 8. После окончания всех кровельных работ необходимо выполнить требования экологической чистоты: все остатки битума, мастичных комьев, обрезков рулонных материалов должны быть тщательно упакованы, уложены в емкости, контейнеры и спущены с кровли с помощью механизированных средств (крышевые краны, подъемники, лебедки и т.д.), затем вывезены в специально отведенные зоны.   3.3.4.Численный и квалификационный состав бригады рабочих   Звено №1: Звено №2: Изолировщик 5р – 1чел. (бригадир) Изолировщик 5 р -1 чел. (звеньевой) Изолировщик 3р - 3 чел Изолировщик 3р – 3 чел Кровельщик 5р – 1чел. (бригадир) Кровельщик 4р – 1чел. (звеньевой) Кровельщик 4р – 2чел. Кровельщик 4р – 2чел. Кровельщик 3р – 9 чел. Кровельщик 3р – 9чел. Подсобный рабочий 2р – 2чел Подсобный рабочий 2р – 2чел. Таблица № 3.10  
№ строки Профессия Численность рабочих по разрядам Итого
I II III IV V VI
  Кровельщик -        
  Изолировщик   -   -  
  Подсобный рабочий -   -  
                 
Итого -         -  

 

 

 

Средний разряд рабочих в бригаде: 3, 2

 

 

Изм. Лист № докум. Подп. Дата ДП 2 70 02 01.04.16266 ПЗ Лист
           
         

 

  3.3.5. Производство работ в зимнее время при устройстве рулонных кровель.   1 Максимально возможное удаление влаги из конструкций кровли. 2 Утеплитель должен соответствовать по влажности установленным требованиям. Уложенный утеплитель необходимо сразу укрывать от возможных осадков. При устройстве цементно-песчаной стяжки (впрочем, как и летом) на утеплитель уложить защитную пленку. Стяжку, по-возможности, просушить. При ремонтных работах требуется просушить и выровнять поверхность существующей кровли (если утеплитель не меняется). В данном случае (ремонт кровли, наличие протечек) влага имеется и в утеплителе. Наиболее эффективно вести просушку старой кровли электрическим оборудованием. Отсутствие открытого огня позволяет не разрушать поверхность существующей кровли и дает возможность прогревать сразу несколько слоев водоизоляционного ковра. Это оборудование позволяет вести просушку основания сразу после расчистки снега и непосредственно перед укладкой новых полотнищ кровельного материала. 3 Просушивание подковрового пространства в процессе эксплуатации кровли Для удаления оставшейся влаги из-под коврового пространства при производстве кровельных работ зимой рекомендуется устраивать " дышащую" кровлю. Для этого полотнища нового водоизоляционного ковра (при многослойном исполнении - нижний слой) следует частично крепить к основанию. Оставшиеся непроклеенные полости необходимо соединить между собой и обеспечить свободное их соединение с атмосферой. Рекомендуется в этих целях использовать кровельные вентиляционные патрубки с дефлекторами.  
Изм. Лист № докум. Подп. Дата ДП 2 70 02 01.04.16266 ПЗ Лист
           
         

 

  3.3.6. Указания по технике безопасности 1. К обслуживанию и эксплуатации средств механизации при производстве кровельных работ допускаются лица, хорошо изучившие правила эксплуатации, специфические требования по технике безопасности и имеющие удостоверение о допуске к работе. 2. Для транспортирования баллонов с сжиженным газом пропан-бутаном в зоне стройплощадки или в пределах крыши допускается использование специальных тележек, рассчитанных на 2 баллона. Баллоны на тележках должны надежно крепиться хомутом. Категорически запрещается подавать на крышу наполненные газом баллоны колпаком вниз. Кантовка наполненных баллонов допускается в пределах рабочего места и только по основанию крыши, не дающему искры при ударе по нему металлом. 3. Посторонним лицам запрещается находиться в рабочей зоне во время производства работ по наклейке Биполикрина. Во всем остальном следует руководствоваться требованиями ТКП 45 – 1.03 – 40 -2006 «Безопасность труда в строительстве». 4. Перед началом работы кровельщик должен надеть спецодежду и убедиться в ее исправности. Обувь должна быть не скользящей. Предохранительные приспособления (пояс, веревка, ходовые мостики, переносные стремянки и т.п.) должны быть своевременно испытаны и иметь бирки. 5. Необходимо получить у мастера, руководителя работ инструктаж о безопасных методах, приемах и последовательности выполнения предстоящей работы. 6. Перед началом работы кровельщику необходимо подготовить рабочее место, убрать ненужные материалы, очистить все проходы от мусора и грязи. 7. Убедиться в надежности подмостей и лесов, а на плоской кровле, временного ограждения. Проверить ограждено ли место работы внизу здания, укрепить все материалы на крыше. 8. Внешним осмотром проверить исправность баллонов, горелок, рукавов, надежность их крепления (крепить рукава только металлическими хомутами), исправность редукторов, манометров. 9. При работе с газовыми баллонами (рабочий газ - пропан) необходимо руководствоваться «Временной инструкцией по безопасной эксплуатации постов, хранению и транспортировке баллонов сжиженных газов пропан-бутановой смеси при гидроизоляционных работах». 10. При работе на скатах с уклоном более 20° и при отделке карнизов кровли с любым уклоном кровельщик обязан пользоваться предохранительным поясом и веревкой, прочно привязанной к устойчивым конструкциям здания. Места закрепления должен указать мастер или прораб. 11. Сбрасывать с кровли материал и инструмент запрещается, во избежание падения с кровли на проходящих людей каких-либо предметов устанавливаются предохранительные козырьки над проходами, наружными дверьми. Зона возможного падения предметов ограждается, вывешивается плакат «Проход запрещен». 12. При складировании на кровле штучных материалов, инструмента и принять меры против их скольжения по скату или сдувания ветром. Размещать на крыше материалы допускается только в местах, предусмотренных проектом производства работ. 13. Поднимать материалы следует преимущественно средствами механизации. Кровельные материалы при подъеме надо укладывать в специальную тару для предохранения от выпадения 14. Подготовку, обрезку, выпрямление кровельных листов производить внизу в определенном месте на верстаке. Допускаются эти работы в чердачном помещении при наличии достаточного освещения. Для резки стальных кровельных листов применять ножницы, имеющие специальные кольца или цапфы. 15. Элементы и детали кровли, в том числе компенсаторы в швах, защитные фартуки, звенья водосточных труб, сливы, свесы и т.п., следует подавать на рабочие места в заготовленном виде. Заготовка указанных элементов и деталей непосредственно на крыше не допускается.  
Изм. Лист № докум. Подп. Дата ДП 2 70 02 01.04.16266 ПЗ Лист
           
         

 

  16. Приемная площадка наверху по периметру должна иметь прочное ограждение высотой 1 м и бортовую доску не менее 150 мм. Требования безопасности при работе с газовыми и жидкостными горелками 17. При работе с газопламенным оборудованием рекомендуется пользоваться защитными очками. 18. При зажигании ручной газопламенной горелки (рабочий газ - пропан) следует приоткрывать вентиль на 1/4 - 1/2 оборота и после кратковременной продувки рукава зажечь горючую смесь, после чего можно регулировать пламя. 19. Зажигание горелки производить спичкой или специальной зажигалкой, запрещается зажигать горелку от случайных горящих предметов. 20. С зажженной горелкой не перемещаться за пределы рабочего места, не подниматься по трапам и лесам, не делать резких движений. 21. Тушение горелки производится перекрыванием вентиля подачи газа, а потом опусканием блокировочного рычага. 22. При перерывах в работе пламя горелки должно быть потушено, а вентили на ней плотно закрыты. 23. При перерывах в работе (обед и т.п.) должны быть закрыты вентили на газовых баллонах, редукторах. 24. При перегреве горелки работа должна быть приостановлена, а горелка потушена, и охлаждена до температуры окружающего воздуха в емкости с чистой водой. 25. Газопламенные работы должны производиться на расстоянии не менее 10 м от групп баллонов (более 2-х), предназначенных для ведения газопламенных работ; 5 м от отдельных баллонов с горючим газом; 3 м от газопроводов горючих газов. 26. При зажигании ручной жидкостной горелки (рабочее топливо - дизтопливо) вначале включают компрессор, подавая небольшое количество возду

Поделиться с друзьями:

mylektsii.su - Мои Лекции - 2015-2026 год. (0.623 сек.)Все материалы представленные на сайте исключительно с целью ознакомления читателями и не преследуют коммерческих целей или нарушение авторских прав Пожаловаться на материал