Студопедия

Главная страница Случайная страница

КАТЕГОРИИ:

АвтомобилиАстрономияБиологияГеографияДом и садДругие языкиДругоеИнформатикаИсторияКультураЛитератураЛогикаМатематикаМедицинаМеталлургияМеханикаОбразованиеОхрана трудаПедагогикаПолитикаПравоПсихологияРелигияРиторикаСоциологияСпортСтроительствоТехнологияТуризмФизикаФилософияФинансыХимияЧерчениеЭкологияЭкономикаЭлектроника






Установок ШСНУ






ШСНУ являє собою насосний агрегат, вертикальний габарит якого дорівнює відстані від штангового свердловинного насоса до привода. В результаті цього його плунжер і циліндр віддалені від привода, розташованого на поверхні, на відстань до 2500 м та більше. При цьому діаметральні розміри гідравлічної частини установки СШНУ: колони НКТ, штанг і свердловинного насоса – дуже малі порівняно з лінійними.

Через ці особливості на роботу установки ШСНУ істотно впливає факт пружної деформації її найбільш довгого елемента – колони насосних штанг. Таке явище призводить до того, що при заданій довжині ходу головки балансира плунжер глибинного насосу має робочій хід на величину до 30% меншу, що істотно знижує ефективність експлуатації установки.

При роботі глибинних штангових насосів виникає також й інший фактор, котрий впливає на ефективність функціонування ШСНУ як із позитивного боку, так і з негативного – газовий фактор.

Рух нафтових покладів до зони перфорації супроводжується в багатьох випадках супутнім надходженням до неї природного газу, котрий частково заповнюючи робочу камеру насоса, суттєво знижує його гідравлічний ККД. Поряд із падінням продуктивності установки відбувається й позитивне явище – насичена газом нафта має значно меншу питому вагу, що позитивно впливає на зменшення споживаної установкою потужності. Потраплянню газів до робочої камери насоса перешкоджають шляхом установлення газових якорів (рисунок 1.5.8).

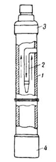
Іншим фактором, який суттєво погіршує умови роботи глибинного обладнання ШСНУ, є великий вміст у нафті піску. Потрапляння піску у всмоктувальну камеру глибинного штангового насоса призводить до значного підвищення швидкості зношування пари тертя «плунжер-циліндр». Для зменшення цього негативного явища застосовуються піскові якоря якорі (рисунок 1.5.9).

  Рисунок 1.5.8 – Схема конструктивного виконання односекційного газового якоря: 1 – газовий простір (подушка); 2 – зона фільтрації; 3 – обсадна колона; 4 – корпус; 5 – усмоктувальна трубка; 6 – осілий пісок Рисунок 1.5.9 – Схема конструктивного виконання піскового якоря: 1 – корпус; 2 – ввідна трубка; 3 – перевідник

На ефективність роботи ШСНУ також негативно впливає значний вміст у нафті парафіну. Парафін відшаровується не тільки на стінках плунжера насоса та насосно-компресорних труб, зменшуючи прохідний переріз та корисний об’єм робочої камери насоса, та на сідлах клапанів, призводячи тим самим до залипання кульок й неповного закриття клапанних вузлів. Відкладанню парафіну запобігають наступними методами: підігрівом колони НКТ шляхом подачі в затрубний простір пари або розігрітої нафти; встановленням на колоні насосних штанг спеціальних шкребків; подачею до зони перфорації інгібітору, котрий розріджує парафін; установленням електричних нагрівачів, котрі нагрівають зону прокачування вуглеводневої сировини та ін.

 


Поделиться с друзьями:

mylektsii.su - Мои Лекции - 2015-2026 год. (1.389 сек.)Все материалы представленные на сайте исключительно с целью ознакомления читателями и не преследуют коммерческих целей или нарушение авторских прав Пожаловаться на материал