Студопедия

Главная страница Случайная страница

КАТЕГОРИИ:

АвтомобилиАстрономияБиологияГеографияДом и садДругие языкиДругоеИнформатикаИсторияКультураЛитератураЛогикаМатематикаМедицинаМеталлургияМеханикаОбразованиеОхрана трудаПедагогикаПолитикаПравоПсихологияРелигияРиторикаСоциологияСпортСтроительствоТехнологияТуризмФизикаФилософияФинансыХимияЧерчениеЭкологияЭкономикаЭлектроника






Допоміжне обладнання, яке застосовується в комплекті з глибинними штанговими насосами






 

Робота глибинних штангових насосів досить часто супроводжується факторами, які знижують її ефективність.

До таких факторів належать наступні:

наявність у нафті асфальто- чи смоло-парафінових часток (високов’язких часток);

підвищений уміст піску в продукції свердловини;

підвищений уміст газу в продукції свердловини;

уміст у продукції свердловини хімічно активних речовин.

● Наявність у нафті асфальто- чи смоло-парафінових часток (високов’язких часток) є досить поширеною ситуацією. Загальноприйнята технологічна класифікація ділить нафти за вмістом парафіну на такі види:

– малопарафінові – менше ніж 1, 5 % (за масою);

– парафінові – від 1, 5 до 6 % (за масою);

– високопарафінові – більше ніж 6, 0 % (за масою).

При цьому слід сказати, що наявність парафіну незалежно від його кількості в нафті ставить перед виробничниками багато технологічних і технічних задач, пов’язаних з ліквідацією ускладнень, які викликаються ним.

Парафін у нафті в пластових умовах знаходиться в розчиненому стані. Вміст парафіну в нафтах одного і того ж родовища зростає з глибиною залягання. Температура плавлення твердих парафінових вуглеводнів тим вища, чим більша їх молекулярна маса. Густина парафінів у твердому стані коливається від 865 до 940 кг/м3, а в розплавленому – від 777 до 790 кг/м3. Розчинність парафіну в органічних рідинах знижується із збільшенням молярної маси й зростає з підвищенням температури. Осідання в’язких часток на робочих поверхнях глибинних насосів призводить до зменшення їхнього прохідного перерізу та поступової втрати працездатності.

У таких умовах разом із глибинними штанговими насосами застосовуються наступні типи обладнання:

– перепускні клапани, котрі розміщуються у міжколонному просторі, заповненому спеціальним хімічним реагентом, який розріджує парафінові частки. Ці клапани спрацьовують під час кожного подвійного ходу плунжера і перепускають на прийом насоса певний об’єм хімічного реагенту (змочувача, диспергатора чи депресатора) марок: ІП-1, ІП-2, ІП-3, алкілфенолу ІПХ-9, «Азолят-7», «Дорад-1А» чи ін.;

– глибинні насосні нагрівачі різних типів – свердловинна піч (рис. 1.6.10) або ж насосний нагрівач трубного типу (рис. 1.6.11).

 

Рисунок 1.6.10 – Електронагрівач свердловинний:

1 – кріплення кабелю; 2 – дротяний бандаж; 3 – кабель; 4 – головка; 5 – азбестова оплітка; 6 – свинцева заливка; 7 – гайка; 8 – клемник; 9 – нагрівач

 

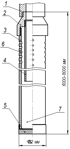
Насосний електричний нагрівач розташовується у нижній частині колони НКТ у районі розташування глибинного штангового насоса та живиться через електричний кабель, котрий закріплюється хомутами на колоні НКТ.

При цьому нагрівач має кільцеву поперечну форму і має відносно просту конструкцію.

Схема розташування насосного підігрівача наведена на рисунку 1.6.11.

Як корпус нагрівача застосовується труба НКТ стандартним діаметром 89 мм.

Довжина нагрівача становить 2050 мм, а зовнішній діаметр – 130 мм. Тому він легко може бути розміщеним у експлуатаційних колонах (146 мм та 168 мм).

На корпус знизу нагвинчується торцеве кільце 5. Після цього на нього надівається напрямне кільце 4, котре задає напрямок нагвинчування нагрівальної спіралі 11.

Нагорі нагрівальний елемент з’єднується з електричним кабелем 12. Нерухомість з’єднання забезпечується стопорним кільцем 3 та фланцем натискним 1.

Закріплення електричного кабелю на колоні НКТ забезпечується хомутами 8, аналогічними хомутам, які застосовуються при експлуатації свердловини установками ЕВН (електровідцентрових насосів).

Електричний кабель також запозичений від установок ЕВН.

Довжина та опір нагрівального елемента розраховані так, щоб забезпечувати діапазон температурного розігріву 75…100º С у радіусі дії до 8…10 м.

Спускається цей нагрівач разом із колоною НКТ за методикою спуску установок ЕВН.

При проходженні внутрішньою порожниною нагрівача нафта нагрівається і потрапляє до глибинного штангового насоса в розрідженому стані, що дозволяє запобігти відкладенням парафінових уключень.

Умикається нагрівач або у постійному режимі, або періодично з метою промивання відкладень.

За рахунок незначної кількості складових елементів та високому рівню уніфікації його вартість є відносно невисокою.

При цьому додатковою перевагою цього нагрівача є можливість його встановлення будь-де по довжині колони НКТ завдяки трубній різьбі, котра нарізана з обох боків відповідно до трубчастого корпуса. При цьому існує можливість установлення по довжині колони НКТ декількох подібних нагрівачів, що дає можливість збільшувати температуру нафти до необхідного рівня на декількох рівнях.

 

 

 

Рисунок 1.6.11 – Схема розташування насосного глибинного нагрівача:

1 – продуктивний пласт; 2 – зона перфорації; 3 – якір універсальний; 4 – глибинний штанговий насос; 5 – підігрівач електричний; 6 – колона насосних штанг; 7 – кабель електричний; 8 – хомут; 9 – обладнання устьове; 10 – полірований шток

 

Конструктивне виконання насосного нагрівача наведене на рисунку 1.6.12.

 

Рисунок 1.6.12 – Конструкція глибинного насосного підігрівача:

1 – фланець натискний; 2 – прокладка гумова; 3 – кільце стопорне;

4 – кільце напрямне; 5 – торцеве кільце; 6 – втулка гумова; 7 – корпус нагрівача; 8 – свинцева пломба; 9 – болт; 10 – гвинт; 11 – елемент нагрівальний; 12 – кабель електричний

 

За наявності у відкачуваній вуглеводневій сировині піску та супутнього газу в комплекті із глибинними штанговими насосами застосовуються універсальні газові, піскові або ж газо-піскові якорі.

Типова конструкція газового якоря наведена на рисунку 1.6.13. Такий якір має маркування ЯГ-1 і являє собою дві концентрично розташовані труби: зовнішню 3 та внутрішню 4, які закріплені на перевіднику 2, котрий одночасно забезпечує закріплення даної конструкції на хвостовику глибинного насоса 1. На нижню частину зовнішньої труби 3 нагвинчена заглушка 5. У верхній частині труби 3 насвердлені отвори 6.

 

Рисунок 1.6.13 – Конструкція однокорпусного газового якоря ЯГ-1

 

Робота такого якоря відбувається таким чином. Газорідинна суміш, дійшовши до отворів 6, намагається проникнути до внутрішньої порожнини якоря. В цей момент відбувається перший етап відділення газової складової від нафти, оскільки через виникнення завихрень газ відділяється від рідини і спрямовується затрубним простором до устя свердловини. Та частина сировини, котра проникла до якоря, рухається до нижнього кінця внутрішньої труби 4, продовжуючи виділяти пухирці газу. При потраплянні сировини до внутрішньої труби 4 відбувається зміна напрямку її руху. При цьому здійснюється кінцева стадія відділення від рідини газової складової. Отвори на зовнішній трубі додатково виконують роль фільтра. Частина твердих часток осідає в осаджувальній камері 7. Тому такий якір іноді класифікують як комбінований.

Конструкція піскового якоря ЯП-1/132 наведена на рисунку 1.6.14.

У такому якорі сировина надходить до внутрішньої порожнини через прийомний патрубок 4. Швидкість її просування патрубком у 2 – 4 рази більша, ніж внутрішня у внутрішній камері якоря. Це зумовлюється різницею площ прохідного перерізу патрубка та камери. Дійшовши до нижньої кромки, потік рідини різко уповільнює швидкість, що призводить до випадіння із потоку часток піску. Нафта починає підніматись угору, а вони осідають у хвостовику 3 якоря. Корпус якоря кріпиться до насоса 1 через перевідник 2. Для очищення якоря на земній поверхні призначена кришка 5.

 

Рисунок 1.6.14 – Конструкція піскового якоря ЯП-1/132

 

Існують й конструкції комбінованих якорів, у котрих камери для відділення газу та піску відокремлені одна від одної й розташовані одна над іншою. Проте такі якорі швидко засмічуються і виходять з ладу через наявність у конструкції отворів з малими діаметрами та необхідністю перетоку продукції через них з однієї камери до іншої. Тому вони не дістали широкого розповсюдження.

За наявності у нафті хімічно активних речовин застосовують стандартні конструкції елементів та вузлів глибинних штангових насосів, але при цьому ретельно підбирають матеріали, з яких вони виготовляються. Такий матеріал повинен мати стійкість до руйнації такими речовинами, як Н2S, СО2 тощо й бути надійним і довговічним у експлуатації.

 


Поделиться с друзьями:

mylektsii.su - Мои Лекции - 2015-2026 год. (0.937 сек.)Все материалы представленные на сайте исключительно с целью ознакомления читателями и не преследуют коммерческих целей или нарушение авторских прав Пожаловаться на материал