Главная страница
Случайная страница
КАТЕГОРИИ:
АвтомобилиАстрономияБиологияГеографияДом и садДругие языкиДругоеИнформатикаИсторияКультураЛитератураЛогикаМатематикаМедицинаМеталлургияМеханикаОбразованиеОхрана трудаПедагогикаПолитикаПравоПсихологияРелигияРиторикаСоциологияСпортСтроительствоТехнологияТуризмФизикаФилософияФинансыХимияЧерчениеЭкологияЭкономикаЭлектроника
|
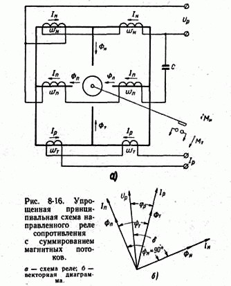
Б) Принцип действия реле сопротивления
Реле сопротивления могут выполняться на электромагнитной, индукционной и других системах. Упрощенная схема индукционного реле сопротивления приведена на рис. 8-16, а. На четырехполюсном магнитопроводе расположены три обмотки: токовая обмотка обмотка напряжения и поляризующая обмотка Обмотка подключается к трансформаторам тока, и, следовательно, по ней проходит вторичный ток Iр, пропорциональный первичному току, проходящему по защищаемой линии. Обмотки подключаются к трансформатору напряжения, и, следовательно, к ним приложено вторичное напряжение Uр, пропорциональное первичному напряжению на шинах подстанции в месте установки защиты. Обмотка подключается к трансформатору напряжения через промежуточный автотрансформатор с отпайками

с помощью которого производится изменение уставки сопротивления срабатывания реле (на рис. 8-16, а автотрансформатор не показан). В цепь обмотки включен конденсатор С. Векторная диаграмма напряжения, токов и магнитных потоков в реле приведена на рис. 8-16, б. Ток Iр отстает от напряжения на шинах подстанции Uр на угол и, проходя по обмотке создает магнитный поток Фт. Ток IH в обмотке проходящий под влиянием напряжения Up, отстает от него на угол величина которого зависит от соотношения активного и индуктивного сопротивления обмотки и составляет обычно 60—80°. Ток IH, проходя по обмотке создает магнитный поток ФH. Ток Iп в обмотке проходит также под влиянием напряжения Up. При этом емкость конденсатора С подбирается так, чтобы ток Iп опережал ток IH на угол 90°. Ток Iп создает магнитный поток Фп.
Таким образом, ротор реле пронизывают три магнитных потока: ФT, ФH, Фп. Таким образом, из вышеизложенного следует: 1) Рассмотренное реле реагирует на величину полного сопротивления на своих зажимах. В условиях нормального режима, когда МH> Мт (см. выше), сопротивление на зажимах реле превышает сопротивление срабатывания zp> zc.p.. Реле срабатывает, когда что соответствует снижению сопротивления на зажимах реле до величины сопротивления срабатывания, т. е. Таким образом, рассмотренное реле является минимальным реле полного сопротивления. 2) Сопротивление срабатывания этого реле не является постоянной величиной и зависит от угла между током и напряжением При и, следовательно, При этом

Известно, что полное сопротивление линии z состоит из активного сопротивления r и реактивного сопротивления x и что

Поэтому характеристику реле полного сопротивления удобно изображать графически, откладывая r по горизонтальной и x по вертикальной осям, как показано на рис. 8-17, а.
| При таком способе графического построения характеристика сопротивления срабатывания реле полного сопротивления, определяемая формулой (8-16), изображается окружностью, проходящей через точку пересечения осей О, т. е. через начало координат. Здесь К = zср макс — наибольшее значение сопротивления срабатывания [см. формулу (8-17)], является диаметром окружности. Угол при котором zср = zср макс называется углом максимальной чувствительности реле сопротивления. Величина этого угла принимается при конструировании реле равной углу полного сопротивления защищаемых линий. Зона, ограниченная окружностью, является зоной действия реле. Точка О соответствует началу защищаемой линии, и так как характеристика реле располагается в первой четверти, то оно действует только в одном направлении. Реле с такой характеристикой называется направленное реле полного сопротивления. Из характеристики реле, видно, что при r = 0 и х = 0, т. е. при к. з. в начале линии, zср =0 и, следовательно, реле не работает. Таким образом, направленное реле полного сопротивления имеет «мертвую зону», что является его недостатком. На рис. 8-17, б приведены характеристики реле полного сопротивления трехступенчатой дистанционной защиты, характеристика времени срабатывания которой показана на рис. 8-15, б. Здесь шины подстанции А, где установлена рассматриваемая защита, расположены в начале координат. Там же расположена точка а, соответствующая началу первой зоны. Линии Л1 и Л2 расположены под углом, равным углу их полного сопротивления, который совпадает с углом максимальной чувствительности реле Шины других подстанций, а также зоны защиты имеют те же обозначения, что и на рис. 8-15, Характеристики реле сопротивления в координатах r, х показывают область действия защиты. Так, из рис. 8-17, б видно, что все зоны дистанционной защиты являются направленными и, следовательно, не приходят в действие при к. з. на линии, смежной с линией Л1 но расположенной влево от подстанции А (рис. 8-15, б). На рис. 8-17, б эта линия расположена в третьей четверти, как показано пунктиром. На рис. 8-17, б показано, как будет действовать дистанционная защита, если на линии Л1 возникнет к. з. через переходное сопротивление, например сопротивление электрической дуги. Так, если это к. з. произошло в точке д, расположенной в пределах первой зоны через дугу с сопротивлением rд, то реле сопротивления измерит сопротивление zр, которое больше, чем z1, и попадает во вторую зону. Поэтому, несмотря на то что физически место к. з. находится в первой зоне, защита будет действовать с выдержкой времени второй ступени.
Рассмотренное реле сопротивления основано на суммировании магнитных потоков, создаваемых в магнитопроводе реле током и напряжением, подводимыми к обмоткам реле.
Сопротивление срабатывания ненаправленного реле является величиной постоянной, не зависящей от угла между током и напряжением.
Поэтому в осях r и х характеристика реле изображается окружностью с центром в точке пересечения осей, т. е. в начале координат (рис. 8-20), и радиусом, равным К. Точка О соответствует началу защищаемой линии, и так как характеристика располагается во всех четырех четвертях, то реле с такой характеристикой действует при к. з. не только на защищаемой линии, но и на смежных линиях, т. е. является ненаправленным. Поэтому при использовании такого реле в схемах дистанционных защит устанавливается отдельное реле направления мощности, как в схеме максимальной направленной защиты.
|