Студопедия

Главная страница Случайная страница

КАТЕГОРИИ:

АвтомобилиАстрономияБиологияГеографияДом и садДругие языкиДругоеИнформатикаИсторияКультураЛитератураЛогикаМатематикаМедицинаМеталлургияМеханикаОбразованиеОхрана трудаПедагогикаПолитикаПравоПсихологияРелигияРиторикаСоциологияСпортСтроительствоТехнологияТуризмФизикаФилософияФинансыХимияЧерчениеЭкологияЭкономикаЭлектроника






Способы монтажа конструкций






Способы монтажа в отличие от методов определяют более узкие технологические задачи, связанные с монтажом отдельных конструкций.

По способу приведения конструкций в проектное положение различают свободный и принудительный монтаж. Принадлежность к тому или иному способу определяется в зависимости от приемов, обеспечивающих точность установки конструкций, которая при свободном методе достигается перемещением конструкций или их деталей монтажниками с использованием измерительных приборов и геодезических инструментов. Этот способ требует больших затрат времени и ручного труда на выверку установленных элементов. Точное проектное положение конструкций при принудительном способе обеспечивается различными путями: специальной конструкцией стыков, специальной оснасткой или специальными монтажными механизмами без инструментального контроля с полным ограничением случайных перемещений.

Свободный способ монтажа предусматривает свободное перемещение конструкций в пространстве с последовательным наращиванием в горизонтальном или вертикальном направлениях (рис. 9.8).

Свободный способ монтажа универсален и практически может быть использован для всех типов зданий и сооружений. При нем может быть предусмотрено направленное движение элемента в момент его установки в проектное положение ограничивающими и фиксирующими устройствами в элементах, а также различного рода кондукторами и манипуляторами, дающими возможность точно установить элементы. В этом случае говорят об ограниченно-свободном способе монтажа.

При свободном способе монтажа подъем конструкций, транспортируемых и складируемых в положении, приближенном к проектному, не представляет затруднений. Если же вертикальные конструкции транспортируются горизонтально, а горизонтальные – наоборот, в вертикальном положении, то возникает необходимость либо в применении специальных приспособлений, либо специальных способов для приведения конструкций в проектное положение.

 

 

Рис. 9.8. Монтаж наращиванием в вертикальном (а)

и горизонтальном (б) направлениях.

Условные обозначения:

направление монтажа;

направление перемещения конструкц ий

 

 

Так, для перевода панелей перекрытия кассетного производства в крупнопанельном домостроении используют кантователи.

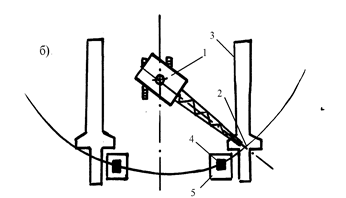
При монтаже длинных (высоких) конструкций, например, колонн одноэтажных промышленных зданий применяют подъем способом скольжения (рис. 9.9), заключающийся в том, что колонну укладывают верхней частью к фундаменту, а нижней – по направлению к крану. Колонну цепляют за крюк крана, и при подъеме крюка нижний конец колонны скользит по земле (или по специально устроенному настилу) по направлению к фундаменту. После подъема крюка на требуемую высоту нижнюю часть колонны заводят в стакан фундамента.

Подъем способом поворота состоит в том, что колонну укладывают нижней частью к фундаменту с таким расчетом, чтобы точка строповки колонны и точка установки (фундамент) находились на одном радиусе поворота стрелы монтажного крана. Монтаж производится поворотом стрелы крана от точки строповки колонны до фундамента с одновременным подъемом крюка. При этом верхняя часть колонны поднимается, пока колонна не окажется вертикально над фундаментом, после чего низ колонны заводит в стакан фундамента.

Рис. 9.9. Схема подъема колонны в вертикальное положение:

а – способом поворота, б – способом скольжения; 1 – монтажный кран; 2 – точка строповки колонны; 3 – колонна;


Поделиться с друзьями:

mylektsii.su - Мои Лекции - 2015-2026 год. (0.393 сек.)Все материалы представленные на сайте исключительно с целью ознакомления читателями и не преследуют коммерческих целей или нарушение авторских прав Пожаловаться на материал