Студопедия

Главная страница Случайная страница

КАТЕГОРИИ:

АвтомобилиАстрономияБиологияГеографияДом и садДругие языкиДругоеИнформатикаИсторияКультураЛитератураЛогикаМатематикаМедицинаМеталлургияМеханикаОбразованиеОхрана трудаПедагогикаПолитикаПравоПсихологияРелигияРиторикаСоциологияСпортСтроительствоТехнологияТуризмФизикаФилософияФинансыХимияЧерчениеЭкологияЭкономикаЭлектроника






А – консольный, б – клещевой, в – фрикционный






При захватах может быть местная или дистанционная расстроповка; последняя освобождает монтажника от непроизводительных переходов и подъемов для расстроповки. Захваты могут быть оборудованы ручным или механическим (электромеханическим, электромагнитным, пневматически) приводом.

Для временного закрепления и выверки деталей применяют клинья, расчалки, кондукторы и струбцины. С помощью клиньев и расчалок монтируют небольшие (массой до 2 т и высотой до 4 м) колонны. Клинья изготовляют из древесины твердых пород (дуба, бука), бетона и стали. Их применяют на монтаже железобетонных конструкций. Монтаж металлических конструкций ведут с помощью металлических клиньев. Использование деревянных клиньев на монтаже железобетонных конструкций затрудняет их извлечение после заделки стыков. Оставлять в стыках можно только бетонные и металлические клинья, но это невыгодно. В подобных случаях лучше пользоваться инвентарными клиновыми вкладышами, которые легко можно удалять, к тому же ими можно пользоваться при установке колонн, если стыки имеют различные размеры. По каждой грани колонн при ее ширине до 400 мм устанавливают один вкладыш, при большей ширине колонны – два вкладыша. После достижения бетоном стыка 70% проектной прочности вкладыши извлекают. Применение вкладышей вместо клиньев позволяет сократить время работы крана примерно на 15%.

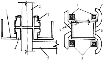
Для выверки и временного закрепления колонн в стаканах применяют кондукторы. Кондукторы Проектстальконструкции сравнительно просты в изготовлении, но позволяют только частично механизировать процесс выверки колонны при свободном способе монтажа. Кондуктор ЦНИИОМТП позволяет автоматизировать процесс выверки колонн при принудительном методе ее установки в стакан фундамента. Имеются кондукторы для монтажа колонн в стаканы фундамента и на нижележащую колонну. Одиночные кондукторы (рис. 9.15) предназначены для одновременного монтажа одной колонны, групповые – для одновременного монтажа нескольких колонн. В любом случае кондуктор состоит из устройства для закрепления кондуктора на фундаменте, нижележащей колонне или перекрытии (хомуты, струбцины, тяги), устройства для временного закрепления монтируемой колонны (обычно – разъемные хомуты), устройства для перемещения колонны вдоль осей здания и настилов (стационарных или откидных) для размещения монтажников и сварщиков, соединенных при необходимости лестницами – если кондукторы многоярусные.

 

 

Рис. 9.15. Одинарный (а) и групповой (б) кондукторы для временного закрепления колонн:

1 – рабочая площадка с ограждением, 2 – монтируемая колонна,


Поделиться с друзьями:

mylektsii.su - Мои Лекции - 2015-2026 год. (0.369 сек.)Все материалы представленные на сайте исключительно с целью ознакомления читателями и не преследуют коммерческих целей или нарушение авторских прав Пожаловаться на материал