Студопедия

Главная страница Случайная страница

КАТЕГОРИИ:

АвтомобилиАстрономияБиологияГеографияДом и садДругие языкиДругоеИнформатикаИсторияКультураЛитератураЛогикаМатематикаМедицинаМеталлургияМеханикаОбразованиеОхрана трудаПедагогикаПолитикаПравоПсихологияРелигияРиторикаСоциологияСпортСтроительствоТехнологияТуризмФизикаФилософияФинансыХимияЧерчениеЭкологияЭкономикаЭлектроника






Монтаж многоэтажных зданий






Многоэтажное промышленное здание чаще всего монтируют смешанным методом, располагая башенные, ба­шенно-стреловые или самоходные стреловые краны с одной стороны здания. Такая схема монтажа наиболее приемлема для двух- и трехпролетных зданий. При 4, 6 и 8 пролетах краны располагают с двух сторон здания и соответственно здание монтируют двумя потоками. Монтаж осуществляется поярусно по вертикали. Высота яруса увязывается с высотой колонн: если колонна одноэтажная, то и ярус равен этажу здания, если колонна на два этажа – ярус будет двухэтажным.

При монтаже каркасных зданий без подвалов стреловыми кранами движение кранов организуют внутри здания и снаружи по периметру. Если кран устанавливают внутри здания, то движение может быть организовано вдоль и поперек пролетов. При монтаже бескаркасных зданий и зданий с подвалами движение стреловых кранов возможно только снаружи.

Практикуется и схема монтажа одним краном, в основном при нечетном количестве пролетов, когда кран перемещается вдоль здания в среднем пролете, монтируя " на себя". В этом случае монтаж производится вертикально, но при этом с одной стоянки монтируют часть здания шириной, равной всей ширине здания, глубиной равной 2-3-4 шагам колонн и всей высоте здания. Высота монтажного яруса также увязывается с высотой колонн. Смонтировав одну часть здания, кран перемещают на очередную стоянку и монтируют следующий участок такой же глубины.

Каркас монтируется в следующем порядке: устанавливаются и временно раскрепляются колонны (клиньями, кондукторами, расчалками), ригели и распорные плиты перекрытий, сваривают колонны между собой, устанавливают стенки жесткости, перегородки, лестничные площадки и марши и, наконец, рядовые плиты перекрытия.

Наружные стеновые панели монтируют одновременно с монтажом несущих элементов каркаса или отдельными потоками.

Среди монтажных элементов многоэтажного промышленного здания колонны первого яруса часто имеют наибольшую массу, по которой выбирается кран. Для монтажа таких колонн рационально использовать самоходный кран и выделить монтаж колонн первого яруса (этажа) в самостоятельный поток с учетом того, что загружение последующими монтажными элементами возможно только после достижения бетоном в стыке колонн с фундаментом стаканного типа 70 % проектной прочности. Установку колонн в этом случае осуществляют раздельным методом. Остальные конструкции здания будут монтироваться башенным краном комплексным методом.

Если в фундамент стаканного типа при производстве работ нулевого цикла или в заводских условиях установили короткие колонны – " пеньки", то стык этого " пенька" с вышестоящей колонной на сварке будет аналогичен остальным стыкам колонн и отпадает необходимость в организации самостоятельного потока для колонн нижнего яруса. При этом монтаж всех конструкций производят комплексным методом башенным краном.

Для монтажа многоэтажных промышленных зданий большой протяженности можно на один подкрановый путь устанавливать несколько кранов, обслуживая каждым из них один-два температурных блока здания.

Общее количество монтажных кранов для монтажа многоэтажного промышленного здания зависит от их расположения (с одной или двух сторон здания) и количества температурных блоков, приходящихся при монтаже на каждый кран.

Последовательность монтажа конструкций многоэтажного промышленного здания зависит от применяемой монтажной оснастки и проектной разрезки колонн – на один, два или более этажей. В пределах монтажного яруса элементы каркаса чаще всего монтируются комплексным методом, но можно и раздельным и смешанными методами.

Стеновые панели навешиваются после монтажа элементов каркаса в ярусе, обычно с отставанием на один ярус, например, целесообразно после монтажа на захватке элементов каркаса второго яруса осуществить навеску стеновых панелей первого яруса и т.д.

Максимальную длину монтажных захваток для таких зданий принимают равной длине одного температурного блока (до 60 м), ширину – ширине всего здания или ее половины.

При возведении многоэтажных производственных зданий технологическое оборудование рекомендуется монтировать по ходу монтажа несущих конструкций здания. При таком совмещенном монтаже отпадает необходимость в устройстве монтажных проемов, сложных такелажных операциях, связанных с установкой оборудования в законченную коробку здания, а также сокращается продолжительность строительства.

Совмещенный монтаж применяют для оборудования, которое не может быть повреждено и не боится загрязнения при ведении общестроительных работ. Поэтому такое оборудование, как управляющие устройства, станки, компрессоры, электродвигатели и т. п. монтируют при наличии высокой степени строительной готовности здания.

Многоэтажные полносборные жилые и гражданские здания возводятся из крупных легкобетонных блоков, панелей и объемных элементов. Панельные дома по конструктивным схемам делятся на каркасно-панельные и бескаркасные.

Монтаж каркасно-панельных зданий гражданского назначения практически не отличается от монтажа многоэтажных производственных зданий. Так же, как и там, основным технологическим требованием, предъявляемым к монтажу каркасно-панельных зданий, является обеспечение жесткости и устойчивости каркаса в процессе и после завершения монтажа. Поэтому их обычно монтируют комплексным методом. Для зданий большой протя­женности на один подкрановый путь можно устанавливать два и более кранов, каждый из которых обслуживает не более двух секций. Монтаж строительных конструкций осуществляется поэтажно, т.е. развитие монтажного потока необходимо предусматривать в пределах этажа. К монтажу последующего этажа приступают после полного проектного закрепления конструкций предыдущего. Монтаж конструкций зданий возможен со склада или с транспортных средств.

Особенностью их является использование приставных башенных кранов, т. к. каркасно-панельную конструктивную схему используют в основном для возведения зданий повышенной этажности.

При монтаже бескаркасных крупнопанельных домов применяется как раздельный, так и комплексный методы монтажа. Метод монтажа здания зависит в основном от обеспеченности монтажной оснасткой. При достаточной оснащенности можно применить раздельный метод, последовательно устанавливать на захватке одноименные элементы, временно их раскрепляя, что обеспечивает более высокую производительность труда. Ограниченность в оснастке диктует необходимость монтажа жестких пространственных ячеек, выполнения сварных соединений и обетонирования стыков. Последующие элементы монтируют, примыкая их к ранее установленной ячейке, т.е. применяется комплексный метод монтажа.

Требуют соблюдения два общих правила при любых методах монтажа: первое – монтаж начинают с панелей (деталей), наиболее удаленных от крана, и ведут монтаж “на кран” с целью облегчения видимости монтажной зоны крановщиком; второе – монтаж панелей перекрытий производят от лестничной клетки, что облегчает подъем монтажников на монтажных горизонт.

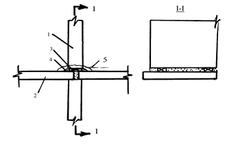
Монтаж надземной части бескаркасного панельного здания начинают с разметки на перекрытии мест установки панелей, при этом нанося краской не оси стен, а грани их лицевых сторон. Затем определяют нивелиром монтажный горизонт, т. е. отметки нижней грани стеновых панелей. По этим отметкам “примораживают” гипсом или цементно-песчаным раствором маяки; по маякам при установке панели выравнивается монтажный горизонт (рис. 9.19).

 

 

Рис. 9.19. Монтаж элементов надземной части бескаркасного здания:

1 – монтируемая панель, 2 – смонтированное перекрытие, 3 – маяк,


Поделиться с друзьями:

mylektsii.su - Мои Лекции - 2015-2026 год. (0.696 сек.)Все материалы представленные на сайте исключительно с целью ознакомления читателями и не преследуют коммерческих целей или нарушение авторских прав Пожаловаться на материал