Студопедия

Главная страница Случайная страница

КАТЕГОРИИ:

АвтомобилиАстрономияБиологияГеографияДом и садДругие языкиДругоеИнформатикаИсторияКультураЛитератураЛогикаМатематикаМедицинаМеталлургияМеханикаОбразованиеОхрана трудаПедагогикаПолитикаПравоПсихологияРелигияРиторикаСоциологияСпортСтроительствоТехнологияТуризмФизикаФилософияФинансыХимияЧерчениеЭкологияЭкономикаЭлектроника






Аппараты для осаждения примесей из сточных вод






Работа сооружений и аппаратов, предназначенных для выделения из сточных вод твердых и нерастворимых жидких примесей, основана на гидродинамических закономерностях процесса осаждения. К таким аппаратам относятся песколовки, первичные и вторичные отстойники, илоуплотнители, нефтеловушки, смоло-жиро-и маслоуловители.

Основным параметром, на основании которого рассчитывают размеры отстойной аппаратуры, является скорость осаждения взвешенных твердых или всплывающих жидких частиц . Скорость осаждения зависит от многих факторов: размера частиц , их формы, плотности , плотности и вязкости сточной воды, скорости движения воды , от условий обтекания частиц и сопротивления среды, концентрации примесей и др.

Для ламинарного, переходного и турбулентного режимов осаждения частиц шаровой формы скорость свободного осаждения вычисляют из формулы

, (1.6)

где — число Рейнольдса; — число Архимеда ( — плотность чистой воды; — динамическая вязкость чистой воды).

Формула (1.6) применима и для вычисления скорости осаждения частиц неправильной формы, если использовать эквивалентный диаметр частицы.

При отстаивании сточных вод в нижних слоях наблюдается стесненное осаждение. Скорость стесненного осаждения меньше скорости свободного осаждения вследствие возникновения восходящего потока жидкости и большей вязкости среды.

Скорость стесненного осаждения шаровых частиц одинакового размера можно рассчитать по формуле Стокса с поправочным коэффициентом , который учитывает влияние концентрации взвешенных частиц и реологические свойства системы:

. (1.7)

Скорость осаждения полидисперсной системы непрерывно изменяется во времени. Эта скорость, как правило, определяется экспериментально в виде гидравлической крупности как аналога скорости осаждения.

Песколовки. Песколовки предназначены для выделения из сточных вод тяжелых минеральных примесей в виде песка крупностью свыше 0, 25 мм при расходе сточных вод более 100 м3/сут.

В системах очистки воды применяются песколовки с горизонтальным прямолинейным движением воды, горизонтальные с круговым движением воды, круглой формы с тангенциальным подводом воды и аэрируемые. Конструкцию сооружения выбирают в зависимости от количества сточных вод и концентрации твердых примесей.

Горизонтальная песколовка с прямолинейным движением воды:

1 - гидроэлеваторы; 2, 4 – щитовые затворы; 3 – скребковый механизм

Расчет горизонтальных песколовок. Песколовки рассчитывают на максимальный расход сточных вод и проверяются на минимальный приток. Число отделений песко­ловок принимают не менее двух.

Осаждение песка из сточных вод принимают как свободное осаждение частиц в ламинарном режиме, поэтому скорость осаждения можно рассчитать по закону Стокса.

Среднюю скорость движения воды в песколовках принимают м/с, диаметр частиц песка мм, продолжительность пребывания воды в песколовке с.

Длину песколовки находят по формуле

, (1.8)

где — коэффициент, учитывающий влияние турбулентности потока; - рабочая высота (глубина) песколовки.

Площадь зеркала воды 2) и расчетную глубину песколовки (м) определяют по формулам

; , (1.9)

где - удельный расход воды в песколовке, м3/(м2.с); - ширина песколовки.

Аэрируемые песколовки применяют для выделения содержащихся в воде минеральных частиц гидравлической крупностью 13…18 мм/с. Воздух способствует вращению воды в песколовке и тем самым повышению эффекта осаждения.

Аэрируемая песколовка с круговым движением воды:

1 – зона аэрации; 2 - аэратор; 3, 8 - перегородка; 4 - гидроэлеватор; 5 – канал подводящий;

6 – устройство впускное; 7 – канал отводящий

Отстойная аппаратура. Отстойники являются основным сооружением механической очистки сточных вод, они используются для удаления оседающих или всплывающих грубодисперсных примесей. Различают первичные отстойники, которые устанавливают перед сооружениями биологической или физико-химической очистки, и вторичные отстойники (биотенки) — для выделения активного ила после биологической очистки.

По режиму работы различают отстойники периодического и непрерывного действия. В зависимости от направления движения потока воды отстойники подразделяют на горизонтальные, вертикальные и радиальные.

Горизонтальные отстойники предназначены для выделения взвешенных веществ из воды, прошедшей решетки и песколовки. Их применяют при расходах сточных вод более 15000 м3/сут. Глубина отстойников достигает 1, 5…4 м, отношение длины к глубине 8…20. Ширина отстойника в пределах м зависит от способа удаления осадка. Отстойники оборудуются скребковыми механизмами, сдвигающими выпавший осадок в приямок.

Горизонтальный отстойник:

1 – лоток водоподводящий; 2 – привод скребкового механизма; 3 – механизм скребковый; 4 – лоток водоотводящий; 5 – отвод осадка

 

Длину горизонтального отстойника вычисляют по зависимости

, (1.10)

где мм/с — скорость движения воды в проточной части отстойника; — коэффициент использования объема.

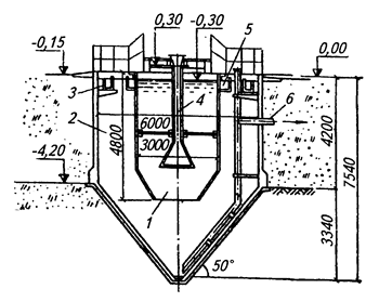
Вертикальные первичные отстойники предназначены для осветле­ния сточных вод, содержащих грубодисперсные примеси. Их применяют на предприятиях и очистных станциях производительностью до 20000 м3/сут. Это круглые в плане резервуары диаметром м с коническим днищем.

Вертикальный отстойник с нисходяще-восходящим потоком:

1 – труба подающая; 2 – камера приемная; 3 – трубопровод для удаления плавающих

примесей; 4 – приемная воронка; 5 - водослив; 6 – лоток распределительный; 7 – лоток для осветленной воды; 8 – трубопровод отводящий; 9 – перегородка кольцевая;

10 - трубопровод для отвода ила

Вертикальный отстойник с нисходяще-восходящим потоком увеличивает степень задержа­ния взвешенных веществ до 60…70 % или при сохранении степени ос­ветления обычного вертикального отстойника увеличивает пропускную способность в 1, 5 раза.

Радиус вертикальных отстойников рассчитывают по формуле:

, (1.11)

где — коэффициент использования объема отстойника.

Радиальные отстойники применяют при расходах сточных вод более 20000 м3/сут. Известны радиальные отстойники трех типов: с центральным впуском воды, с периферийным впуском и с вращающимся сборно-распределительным устройством. Наибольшее распространение получили отстойники с центральным впуском воды.

Радиальный отстойник с центральным впуском воды:

1 – труба для подачи воды; 2 - скребки; 3 – чаша распределительная; 4 - водослив;

5 – труба для отвода осадка

Сточная вода подается в центр отстойника и движется радиально от центра к периферии. Скорость движения воды меняется от максимума в центре до минимума на периферии отстойника, что способствует большему осветлению воды.

Первичные радиальные отстойники оборудованы илоскребами, сдвигающими выпавший осадок к приямку в центре.

Вторичные радиальные отстойники оборудованы вращающимися илососами, которые удаляют активный ил из слоя осадка без сгребания его в приямок.

Радиус радиальных отстойников рассчитывают по формуле (1.11):

,

где коэффициент .

Диаметр отстойников 18…50 м; глубина проточной части 1, 5…5 м; отношение диаметра к глубине проточной части 6…30.

Объем зоны отстаивания

, (1.12)

где — приток сточной воды в отстойник; - время отстаивания.

Эффективность осветления в радиальных отстойниках достигает 65 %.

Эффективность работы первичных отстойников может быть увеличена при оборудовании их камерами флокуляции, которые рассчитываются на продолжительность пребы­вания воды до 10 мин. В них пре­дусматривается подача флокулянта (избыточного активного ила) после вторичных отстойников. Применение камер флокуляции увеличивает эффективность очистки воды в первичных отстойниках по БПК на 20…30 %, что сокращает объем аэротенков и затраты на биологическую очистку.

К отстойникам относят также осветлители, в которых одновременно с отстаиванием сточная вода фильтруется через слой взвешенного осадка, а также осветлители - перегниватели и двухъярусные отстойники, где одновременно с осветлением воды происходит уплотнение выпавшего осадка.

Отстойники-осветлители применяют при повышенном содержании в воде трудно оседающих веществ. Внутри отстойника-осветлителя имеется камера флокуляции, в которую поступает сточная вода. Вода в камере пребывает в течение 20 минут, где происходит эжекция наружного воздуха с частичным окислением органических веществ, хлопьеобразование и сорбция загрязнений. Из камеры флокуляции вода направляется в кольцевую отстойную зону, в которой задерживаются мелкодисперсные частицы примесей при прохождении через слой взвешенного осад­ка. В результате совмещения процессов хлопьеобразования, осаждения и фильтрации сточной воды через слой взвешенного осадка эффективность очистки достигает 70…75 %.

Отстойник-осветлитель:

1 – камера флокуляции; 2 – зона отстаивания; 3 – лоток для сбора осветленной воды;

4 – труба центральная; 5 – лоток для отвода плавающих примесей; 6 – труба для

выпуска осадка

Тонкослойные отстойники. Для увеличения эффективности отстаивания используют тонкослойные отстойники, состоящие из водораспределительной, отстойной и водосборной зон. Они могут быть вертикальными, радиальными или горизонтальными.

В таких отстойниках отстойная зона делится трубчатыми или пластинчатыми элементами с наклоном 45…60° на ряд слоев небольшой глубины (до 150 мм). При малой глубине слоев отстаивание протекает быстро, что позволяет уменьшить размеры отстойников. Накопившийся на элементах осадок удаляется промывкой обратным током осветленной воды.

Тонкослойный отстойник:

1 — труба для удаления осадка; 2 — труба для выпуска воздуха; 3, 7 — отвод осветленной воды из осадкоуплотнителя; 4 — трубопровод подогрева; 5 — отверстия в сборных желобах; 6 — сброрный лоток; 8 — многослойная загрузка; 9 — корпус; 10 — кирпичная

кладка; 11 — подвод воды в секцию; 12 — гравийная камера хлопьеобразования

 

Предельные значения максимальной скорости потока воды для ячейки тонкослойного отстойника:

м/с.

Геометрические размеры ячейки (ее эквивалентный радиус) определяются по принятой максимальной скорости потока воды при заданном соотношении :

,

где - глубина потока, м; - содержащиеся в осадке частицы расчетного диаметра, м.

Общая высота ячейки отстойника с учетом толщины сползающего осадка составит

.

Расчет отстойной аппаратуры. Технологический и конструктивный расчеты отстойной аппаратуры базируются на закономерностях гидромеханических процессов.

Скорость осаждения шаровой частицы (в м/с) по закону Стокса при :

, (1.13)

где - динамическая вязкость жидкой среды, Па·с.

При ориентировочных расчётах, учитывая стеснённость осаждения, форму частиц, характер движения среды, среднюю расчётную скорость осаждения принимают равной половине теоретической скорости осаждения одиночной шаровой частицы:

. (1.14)

Необходимое кинетическое условие отстаивания:

, (1.15)

где пр и ос – соответственно время пребывания частицы в отстойнике и время ее осаждения (подъема).

Продолжительность осаждения ос (в с) частиц в слое воды высотой (в м):

(1.16)

Время пребывания очищаемой сточной воды в отстойнике

, (1.17)

где - длина горизонтального отстойника; - скорость жидкой среды в отстойнике.

По заданной производительности отстойника по осветленной сточной воде и расчетной скорости осаждения частиц определяют площадь осаждения в отстойнике

.

Производительность и конструктивные размеры отстойной аппаратуры. При проектировании очистных сооружений применяются типовые конструкции отстойников с известными геометрическими размерами.

За расчетную величину принимают производительность одного отстойника , при которой обеспечивается заданный эффект очистки. После расчета , исходя из общего расхода сточных вод , определяют количество рабочих единиц отстойников:

. (1.18)

Производительность отстойника (в м3/ч), определяют по СНиП, исходя из данных геометрических размеров сооружения и требуемого эффекта осветления сточных вод.

Нефтеловушки. Сточные воды, содержащие всплывающие примеси с плотностью меньше плотности воды (нефть, смолы, масло, жиры), очищают также отстаиванием в нефтеловушках, смоло- и маслоуловителях.

Нефтеловушки применяются для очистки сточных вод, содержащих грубодисперсные нефть и нефтепродукты при концентрации более 100 мг/л. Эти сооружения представляют собой резервуары, в которых происходит разделение нефти, твердых загрязнений и во­ды за счет разности их плотностей. Нефть и нефтепродукты всплывают на поверхность, а содержащиеся в воде минеральные примеси оседают на дно нефтеловушки. Выделение всплывающих примесей из сточной воды аналогично осаждению твердых взвешенных частиц; отличие лишь в том, что плотность частицы нефти (капли) в этом случае меньше плотности сточной воды , и частица нефти вместо осаждения всплы­вает. Скорость выделения (подъема) легких примесей в нефтеловушке аналогична скорости осаждения по формуле Стокса:

. (1.19)

Горизонтальные нефтеловушки представляют собой отстойник, разделенный вертикальными стенками на секции. Сточная вода поступает в каждую секцию. Всплывающая нефть передвигается верхним скребковым механизмом к щелевым поворотным трубам и отводится из нефтеловушки, а осадок твердых частиц сгребается в приямок. Остаточное содержание нефтепродуктов в сточной воде после нефтеловушки — менее 100 мг/л.

Нефтеловушки:

горизонтальная; тонкослойная

Расчет нефтеловушек. При расчете горизонтальных нефтеловушек принимают: число секций — не менее 2-х, ширина секций 2…6 м, глубина слоя воды 1, 2…2 м, производительность по воде 45 л/с, толщина слоя всплывших нефтепродуктов 0, 1 м.

Продолжительность отстаивания (пребывания) должна быть не менее 2 ч; продолжительность всплывания частиц нефти . Необходимым кинетическим условием является .

Длину отстойной зоны вычисляют по формуле

, (1.20)

где — коэффициент, учитывающий турбулентность потока воды; — глубина слоя воды.

Скорость движения воды принимают мм/с, скорость всплывания частиц нефти мм/с.

Гидроциклоны. Гидроциклоны используются при осветлении сточных вод, для сгущения осадка, отмывки осадка и песка от органических веществ.

Принцип действия гидроциклонов основан на центробежной сепарации частиц примесей во вращающемся потоке жидкости. Величина скорости сепа­рирования частиц в центробежном поле гидроциклона может превы­шать в сотни раз скорость осаждения таких же частиц в поле силы тяжести.

Для механической очистки сточных вод от взвешенных веществ применяют открытые и напорные гидроциклоны.

Открытые гидроциклоны применяют для выделения оседающих и всплывающих грубодисперсных примесей гидравлической крупностью свыше 0, 2 мм/с и выделения скоагулированной взвеси.

Используются открытые гидроциклоны следующих ти­пов: 1) без внутренних устройств; 2) с конической диафрагмой и с внутренним цилиндром; 3) многоярусные гидроциклоны

 

Открытый гидроциклон с конической диафрагмой:

1 — периферический водослив; 2, 3 — соответ­ственно плоская и коническая диафрагма;

4 — отвод осветленной воды; 5 — отверстие для удаления шлама; 6 – подача сточной

воды

 

Многоярусный открытый гид­роциклон:

1 — конические диафрагмы; 2 — отвод воды; 3 — лоток; 4 — водослив; 5 — маслосборная воронка; 6 — распределительные лотки; 7 — подача сточной воды; 8 — отвод масла;

9 — удаление шлама; 10 — шламоотводящая щель; 11 — наклонные выпуски;

12 — аванкамеры; 13 — шламоотсекающая диафрагма

 

Расчет открытых гидроциклонов. Для расчета открытых гидроциклонов задаются те же параметры по воде и загрязнениям, что и для отстойников.

Основной расчетной величиной открытых гидроциклонов по СНиП является удельная гидравлическая нагрузка , м3/(м2.ч), определяемая по формуле

, (1.21)

где - гидравлическая крупность частиц, которые необходимо выделить для обеспечения требуемого эффекта очистки, мм/с, – коэффициент, зависящий от типа гидроциклона.

Центрифуги. Центрифугирование используется реже для очистки сточных вод, чем методы осаждения и фильтрования. Это связано с тем, что центрифугирование является энергоемким процессом.

По принципу разделения фаз центрифуги классифицируются как отстойные и фильтрующие.

Отстойные центрифуги используют для разделения труднофильтрующихся тонкодисперсных суспензий и классификации частиц по размерам, а фильтрующие центрифуги - для разделения грубодисперсных систем.

Для осаждения примесей сточных вод используются отстойные горизонтальные центрифуги со шнековой выгрузкой осадка типа ОГШ.

Отстойная центрифуга типа ОГШ:

1 - подача осадка; 2 — отверстия для выгрузки фугата; 3 — бункер для выгрузки фугата;

4 — отверстие для поступления осадка в ротор; 5 — бункер для выгрузки кека; 6 — ротор;

7 — полый шнек; 8 — отверстия для выгрузки кека

 

Расчет центрифуг. Центробежная сила (в Н), развиваемая при центрифуги­ровании, определяется по уравнению:

, (1.22)

где — масса осадка и жидкости, находящихся в барабане цен­трифуги, кг; — угловая скорость вращения барабана, с-1; — радиус бара­бана, м; — частота вращения барабана центрифуги, об/мин.

Фактор разделения в центрифугах

, (1.23)

где – сила тяжести, Н.

Произведение фактора разделения на поверхность осаждения твердой фазы в барабане центрифуги, называется индексом производительности центрифуги, м2:

. (1.24)

Производительность центрифуг по сточной воде, м3/ч, можно определить по формуле

, (1.25)

где – показатель эффективности работы центрифуги по ее производительности; - скорость осаждения суспензии, м/с.

Скорость осаждения частицы в отстойной центрифуге можно определить по уравнению:

, (1.26)

где - скорость осаждения в поле силы тяжести, м/с; - радиус осаждения, м.


Поделиться с друзьями:

mylektsii.su - Мои Лекции - 2015-2026 год. (0.711 сек.)Все материалы представленные на сайте исключительно с целью ознакомления читателями и не преследуют коммерческих целей или нарушение авторских прав Пожаловаться на материал