Главная страница
Случайная страница
КАТЕГОРИИ:
АвтомобилиАстрономияБиологияГеографияДом и садДругие языкиДругоеИнформатикаИсторияКультураЛитератураЛогикаМатематикаМедицинаМеталлургияМеханикаОбразованиеОхрана трудаПедагогикаПолитикаПравоПсихологияРелигияРиторикаСоциологияСпортСтроительствоТехнологияТуризмФизикаФилософияФинансыХимияЧерчениеЭкологияЭкономикаЭлектроника
|
Области применения выпарных аппаратов
Конструкция выпарного аппарата должна удовлетворять ряду общих требований, к числу которых относятся: высокая производительность и интенсивность теплопередачи при возможно меньших объёме аппарата и расходе металла на его изготовление, простота устройства, надёжность в эксплуатации, легкость очистки поверхности теплообмена, удобство осмотра, ремонта и замены отдельных частей.
Вместе с тем выбор конструкции и материала выпарного аппарата определяется в каждом конкретном случае физико-химическими свойствами выпариваемого раствора (вязкость, температурная депрессия, кристаллизируемость, термическая стойкость, химическая агрессивность и др.)
Как указывалось, высокие коэффициенты теплопередачи и большие производительности достигаются путём увеличения скорости циркуляции раствора. Однако одновременно возрастает расход энергии на выпаривание и уменьшается полезная разность температур, т.к. при постоянной температуре греющего пара с возрастанием гидравлического сопротивления увеличивается температура кипения раствора. Противоречивое влияние этих факторов должно учитываться при технико-экономическом сравнении аппаратов и выборе оптимальной конструкции.
Технологическая схема

Рисунок 2 Технологическая схема двухкорпусной выпарной установки.
Исходный раствор центробежным насосом Н подается в кожухотрубный теплообменник ТО, где нагревается до температуры кипения и поступает в первый корпус выпарного аппарата с центральной циркуляционной трубой ВА1. Нагрев раствора в теплообменнике и выпаривание осуществляются за счет теплоты конденсации греющего пара: образовавшийся при этом конденсат, сбрасывается в линию конденсата и может использоваться в качестве оборотной воды. Упаренный раствор из 1-го корпуса поступает во второй корпус ВА2 выпарного аппарата. Образовавшийся при выпаривании вторичный пар из первого корпуса подается во второй в качестве греющего пара, а вторичный пар из второго корпуса поступает в барометрический конденсатор БК, где смешивается с холодной водой, конденсируется и сбрасывается в линию конденсата.
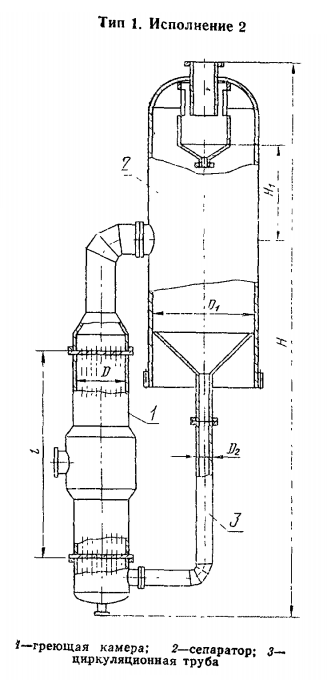
Рисунок 3 – Технологическая схема выпарного аппарата с естественной циркуляцией и вынесенной греющей
Пояснительная записка к курсовому проекту «Процессы и аппараты химической технологии»
1. Расчёт установки обратного осмоса
1.1 Степень концентрирования на ступени обратного осмоса.
В аппаратах обратного осмоса раствор концентрируется от начальной концентрации x1н=0, 8% (масс.) до конечной x1к= 1, 58% (масс.)
Степень концентрирования:
К= = 1, 975
|