Студопедия

Главная страница Случайная страница

КАТЕГОРИИ:

АвтомобилиАстрономияБиологияГеографияДом и садДругие языкиДругоеИнформатикаИсторияКультураЛитератураЛогикаМатематикаМедицинаМеталлургияМеханикаОбразованиеОхрана трудаПедагогикаПолитикаПравоПсихологияРелигияРиторикаСоциологияСпортСтроительствоТехнологияТуризмФизикаФилософияФинансыХимияЧерчениеЭкологияЭкономикаЭлектроника






Поршневые насосы






Поршневые насосы относятся к классу объемных насосов.

В объемном насосе перемещение жидкости осуществляется путем вытеснения ее из рабочих камер вытеснителями. Под вытеснителем понимается рабочий орган насоса, непосредственно совершающий работу вытеснения. Вытеснителями могут быть поршни, плунжеры, шестерни, винты, пластины. В поршневом (плунжерном) насосе жидкость вытесняется из неподвижных камер в результате возвратно-поступательного движения вытеснителей (поршней, плунжеров, диафрагм).

- По конструкции вытеснителя поршневые насосы разделяют на собственно поршневые и плунжерные. В поршневых насосах основным рабочим органом является поршень, снабженный уплотнительными кольцами, пришлифованными к внутренней зеркальной поверхности цилиндра. Плунжер не имеет уплотнительных колец и отличается от поршня значительно большим отношением длины к диаметру.

- Приводные механизмы поршневых насосов принято разделять на кривошипные и кулачковые.

- По роду привода поршневые насосы делятся на приводные (от электродвигателя) и прямодействующие (от паровой машины). Прямодействующие паровые насосы имеют привод непосредственно от паровой машины, поршень которой находится на одном штоке с поршнем насоса. Насосы этого типа используют главным образом на установках, где по условиям безопасности применение насосов с электрическим приводом недопустимо (огне- и взрывоопасные производства), а также при наличии дешевого отбросного пара (подача воды в паровые котлы и т. п.).

- По числу оборотов кривошипа (числу двойных ходов поршня) различают тихоходные, нормальные (60-120 мин в мин) и быстроходные (120-180 в мин) поршневые насосы. У прямодействуюших насосов число двойных ходов составляет 50-120 в минуту.

- По числу всасываний или нагнетаний, осуществляемых за один оборот кривошипа или за два хода поршня, поршневые насосы делятся на насосы простого и двойного действия.

 

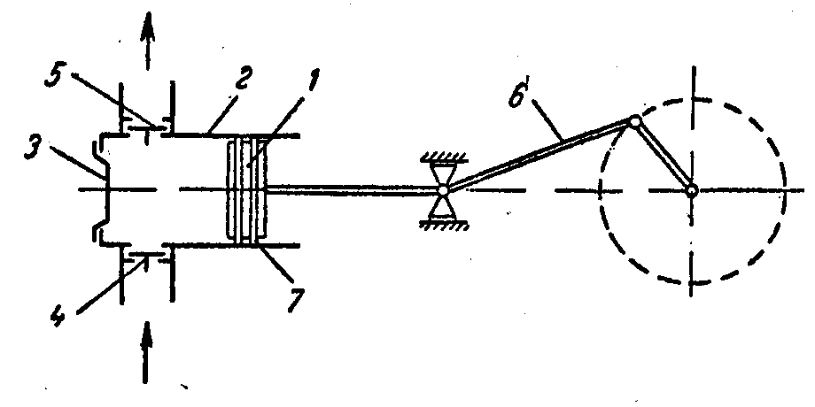
На рисунке изображена схема горизонтального поршневого насоса простого действия:

 

1- поршень;

2 - цилиндр;

3 - крышка цилиндра;

4 - всасывающий клапан;

5 - нагнетательный клапан;

6 - кривошипно-шатунный механизм;

7 - уплотнительные кольца.

 

 

В поршневом насосе всасывание и нагнетание жидкости происходят при возвратно-поступательном движении поршня 1 в цилиндре 2 насоса. При движении поршня вправо в замкнутом пространстве между крышкой 3 цилиндра и поршнем создается разрежение. Под действием разности давлений в приемной емкости и цилиндре жидкость поднимается по всасывающему трубопроводу и поступает в цилиндр через открывающийся при этом всасывающий клапан 4. Нагнетательный клапан 5 при ходе поршня вправо закрыт, так как на него действует сила давления жидкости, находящейся в нагнетательном трубопроводе. При ходе поршня влево в цилиндре возникает давление, под действием которого закрывается клапан 4 и открывается клапан 5. Жидкость через нагнетательный клапан поступает в напорный трубопровод и далее в напорную емкость. Таким образом, всасывание и нагнетание жидкости поршневым насосом простого действия происходит неравномерно: всасывание - при движении поршня слева направо, нагнетание - при обратном направлении движения поршня. В данном случае за два хода поршня жидкость один раз всасывается и один раз нагнетается. Поршень насоса приводится в движение крнвошипно-шатунным механизмом 6, преобразующим вращательное движение вала в возвратно-поступательное движение поршня.

 

В плунжерном горизонтальном насосе простого действия роль поршня играет плунжер 1, двигающийся возвратно-поступательно в цилиндре 2; плунжер уплотняется при помощи сальника 3. Плунжерные насосы не требуют такой тщательной обработки внутренней поверхности цилиндра, как поршневые, а неплотности легко устраняются подтягиванием или заменой набивкн сальника без демонтажа насоса. В связи с тем, что для плунжерных насосов нет необходимости в тщательной пригонке поршня и цилиндра, их применяют для перекачивания загрязненных и вязких жидкостей, а также для создания более высоких давлений. В химической промышленности плунжерные насосы более распространены, чем поршневые.

Более равномерной подачей, чем насосы простого действия, обладают поршневые и плунжерные насосы двойного действия. Горизонтальный плунжерный насос двойного действия можно рассматривать как совокупность двух насосов простого действия. Он имеет четыре клапана - два всасывающих и два нагнетательных.

При ходе плунжера вправо жидкость всасывается в левую часть цилиндра через всасывающий клапан и одновременно через нагнетательный клапан поступает из правой части цилиндра в напорный трубопровод; при обратном ходе поршня всасывание происходит в правой части цилиндра через всасывающий клапан, а нагнетание - в левой части цилиндра. Таким образом, в насосах двойного действия всасывание и нагнетание происходят при каждом ходе поршня, вследствие чего производительность насосов этого типа больше и подача равномернее, чем у насосов простого действия.

Еще более равномерной является подача насоса тронного действия, или триплекс-насоса. Триплекс-насосы представляют собой строенные насосы простого действия, кривошипы которых расположены под углом 120° друг относительно друга. Общая подача триплекс-насоса складывается из подач насосов простого действия, при этом за один оборот коленчатого вала жидкость три раза всасывается и три раза нагнетается.


Поделиться с друзьями:

mylektsii.su - Мои Лекции - 2015-2026 год. (1.103 сек.)Все материалы представленные на сайте исключительно с целью ознакомления читателями и не преследуют коммерческих целей или нарушение авторских прав Пожаловаться на материал